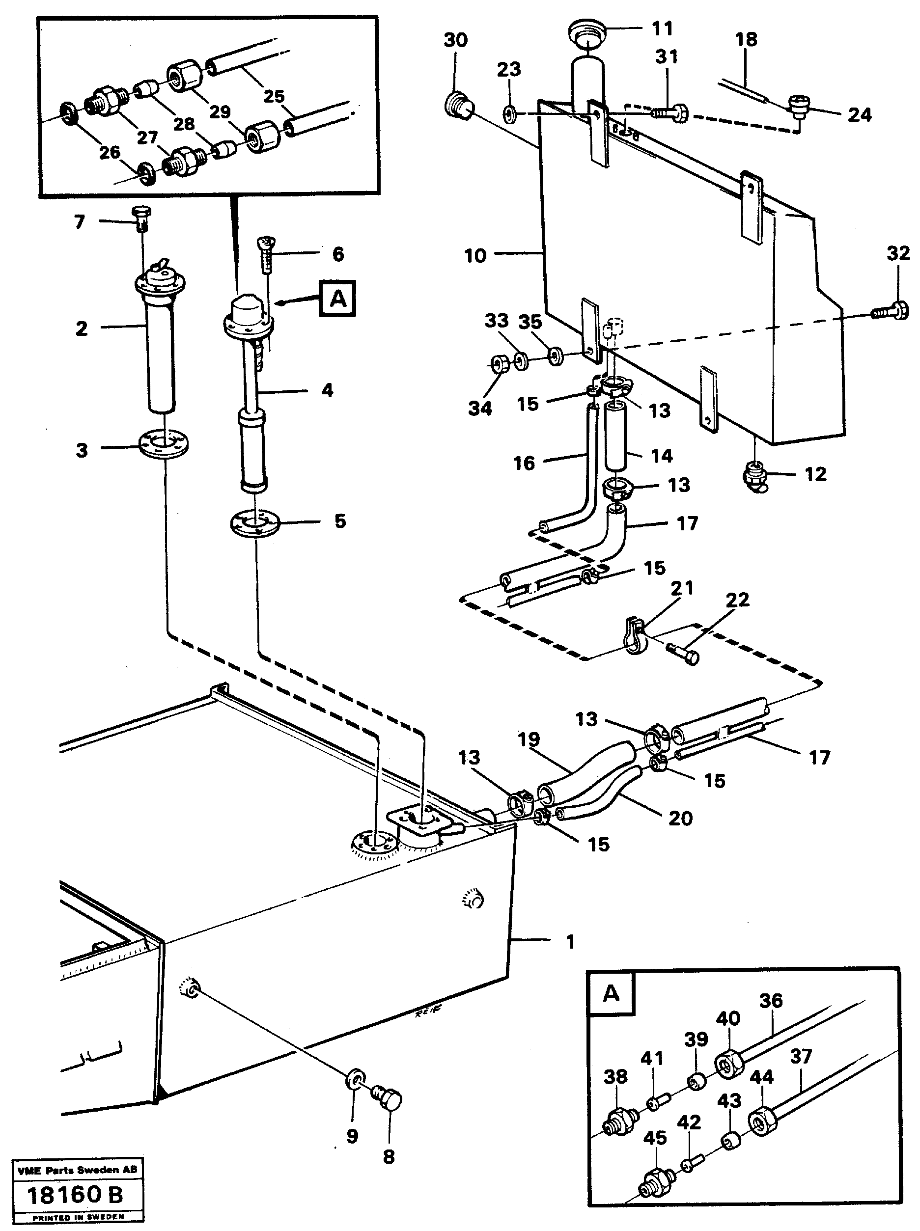
Запчасти Volvo A25 VOLVO BM VOLVO BM A25 67317 Топливный бак (бензобак)

Схема запчастей Volvo A25 VOLVO BM VOLVO BM A25 - 67317 Топливный бак (бензобак)
FIT
1:1
100%

Артикул

Название

Примечание

Количество

VOE 349477

Прокладка

1шт.

VOE 349477

Прокладка

1шт.

VOE 955892

Шайба

1шт.

VOE 955892

Шайба

1шт.

10

VOE 11053471

Топливный бак (бензобак)

1шт.

11

VOE 4821033

Крышка

1шт.

12

VOE 87502

Drain Cock

1шт.

13

VOE 943479

Hose clamp

1шт.

14

VOE 4940771

Rubber hose

L=500

1шт.

15

VOE 13943474

Hose clamp

1шт.

16

VOE 14016472

Oil hose

L=150

1шт.

17

VOE 4940768

Fuel pipe

1шт.

18

VOE 192034

Rubber hose

L=600

1шт.

19

VOE 4940771

Rubber hose

L=570

1шт.

2

VOE 4740537

Tank unit

1шт.

2

VOE 4740537

Tank unit

1шт.

20

VOE 14016472

Oil hose

L=540

1шт.

21

VOE 941788

Зажим

1шт.

22

VOE 13947760

Болт

1шт.

22

VOE 13947760

Screw

1шт.

23

VOE 13948093

Шайба

1шт.

23

VOE 13948093

Шайба

1шт.

24

VOE 4940398

Cover

1шт.

24

VOE 4940398

Крышка

1шт.

25

VOE 4737702

Шланг топливный

SER NO - 4847

1шт.

26

VOE 957178

Gasket

1шт.

26

VOE 957178

Прокладка

1шт.

27

VOE 941754

Nipple

SER NO - 4847

1шт.

27

VOE 941754

Nipple

SER NO - 4847

1шт.

28

VOE 980781

Ferrule

SER NO - 4847

1шт.

29

VOE 956983

Фиттинг

SER NO - 4847

1шт.

3

VOE 4708245

Прокладка

1шт.

3

VOE 4708245

Прокладка

1шт.

30

VOE 11063114

Level Inspection Glass

1шт.

31

VOE 13970958

Винт шестигранник

1шт.

31

VOE 13970958

Винт шестигранник

1шт.

32

VOE 946472

Flange screw

1шт.

32

VOE 946472

Flange screw

1шт.

33

VOE 976945

Шайба

1шт.

33

VOE 976945

Шайба

1шт.

34

VOE 13971098

Flange nut

1шт.

34

VOE 13971098

Flange nut

1шт.

35

VOE 13948093

Шайба

1шт.

35

VOE 13948093

Шайба

1шт.

36

VOE 13945461

Plastic pipe

SER NO 4848 -

1шт.

36

VOE 13945461

Plastic pipe

SER NO 4848 -

1шт.

37

VOE 945462

Трубка

SER NO 4848 -

1шт.

37

VOE 945462

Трубка

SER NO 4848 -

1шт.

38

VOE 13945903

Nipple

SER NO 4848 -

1шт.

39

VOE 326599

Ferrule

SER NO 4848 -

1шт.

39

VOE 326599

Ferrule

SER NO 4848 -

1шт.

4

VOE 1502874

Фильтр

1шт.

40

VOE 326596

Fitting nut

SER NO 4848 -

1шт.

40

VOE 326596

Fitting nut

SER NO 4848 -

1шт.

41

VOE 967559

Втулка (распорная)

SER NO 4848 -

1шт.

42

VOE 967548

Sleeve

SER NO 4848 -

1шт.

42

VOE 967548

Втулка (распорная)

SER NO 4848 -

1шт.

43

VOE 326600

Ferrule

SER NO 4848 -

1шт.

43

VOE 326600

Ferrule

SER NO 4848 -

1шт.

44

VOE 326597

Fitting nut

SER NO 4848 -

1шт.

44

VOE 326597

Fitting nut

SER NO 4848 -

1шт.

45

VOE 945906

Nipple

SER NO 4848 -

1шт.

45

VOE 945906

Nipple

SER NO 4848 -

1шт.

5

VOE 7089865

Прокладка

1шт.

6

VOE 956186

Cross recessed sunk screw

1шт.

6

VOE 956186

Cross recessed sunk screw

1шт.

7

VOE 13955271

Болт

1шт.

7

VOE 13955271

Болт

1шт.

8

VOE 960631

Пробка (заглушка)

1шт.

9

VOE 948883

Plane gasket

1шт.

9

VOE 948883

Plane gasket

1шт.

Выбрано товаров: 71