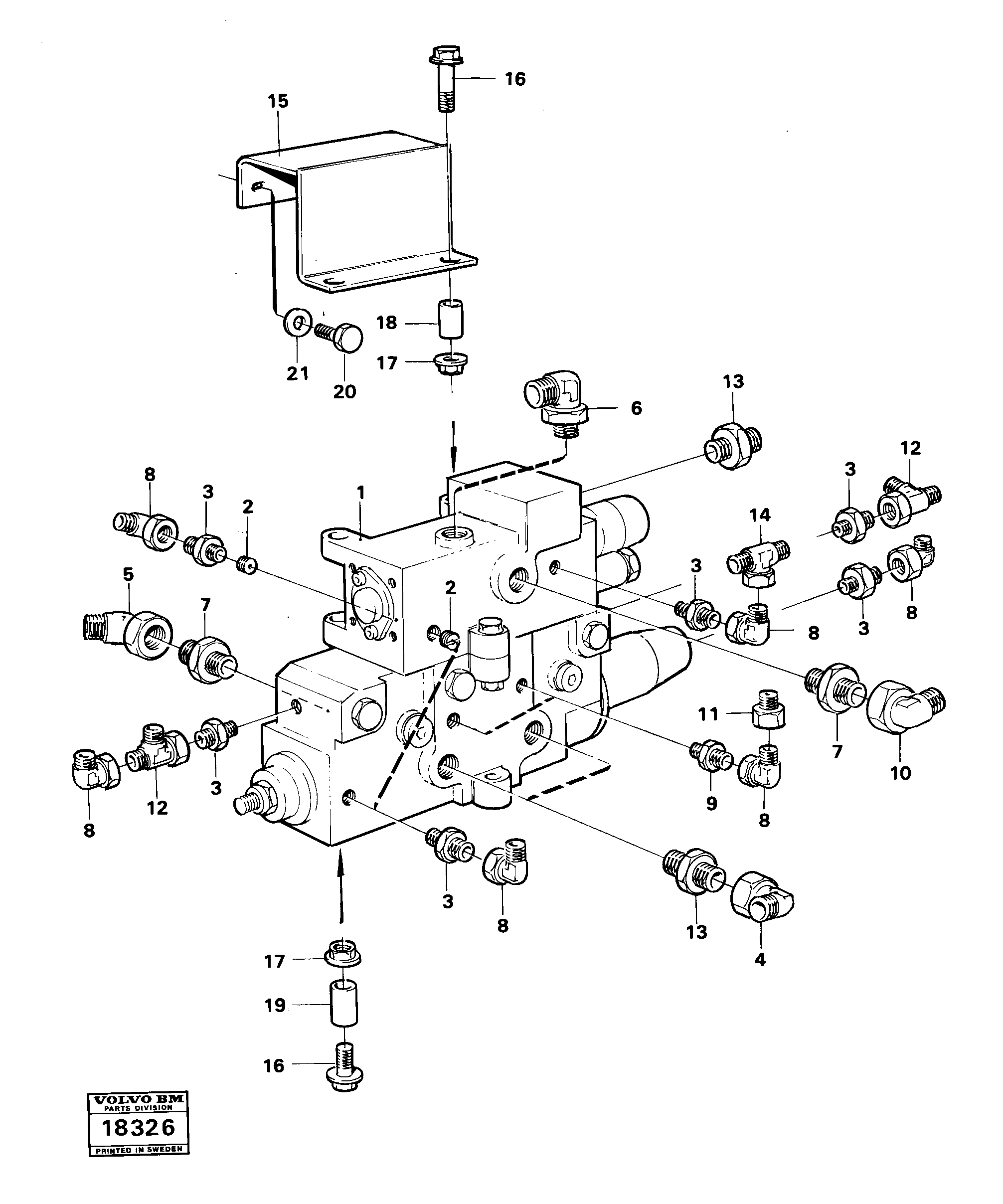
Запчасти Volvo A25 VOLVO BM VOLVO BM A25 86786 Pilot and tipping valve fitting

Схема запчастей Volvo A25 VOLVO BM VOLVO BM A25 - 86786 Pilot and tipping valve fitting
FIT
1:1
100%

Артикул

Название

Примечание

Количество

VOE 931212

Кольцо уплотнительное (О-кольцо)

1шт.

VOE 931212

Кольцо уплотнительное (О-кольцо)

1шт.

VOE 931219

Back-up ring

1шт.

VOE 931219

Back-up ring

1шт.

VOE 931212

Кольцо уплотнительное (О-кольцо)

1шт.

VOE 931212

Кольцо уплотнительное (О-кольцо)

1шт.

VOE 931219

Back-up ring

1шт.

VOE 931219

Back-up ring

1шт.

10

VOE 4821878

L-connection

1шт.

10

VOE 4821878

L-connection

1шт.

11

VOE 4864824

Reduction

1шт.

12

VOE 4821859

Clutch

1шт.

13

VOE 931227

Nipple

1шт.

13

VOE 931227

Nipple

1шт.

14

VOE 4821882

Clutch

1шт.

16

VOE 13965185

Screw

1шт.

16

VOE 13965185

Болт

1шт.

17

VOE 13971098

Flange nut

1шт.

17

VOE 13971098

Flange nut

1шт.

2

VOE 4821914

Screw Bushing

1шт.

20

VOE 13946173

Screw

1шт.

20

VOE 13946173

Болт

1шт.

21

VOE 13945408

Гайка

1шт.

21

VOE 13945408

Гайка

1шт.

3

VOE 931223

Nipple

1шт.

3

VOE 931223

Nipple

1шт.

4

VOE 4821880

L-connection

1шт.

4

VOE 4821880

L-connection

1шт.

5

VOE 4821886

Nipple

1шт.

5

VOE 4821886

Nipple

1шт.

6

VOE 931235

Nipple

1шт.

6

VOE 931235

Nipple

1шт.

7

VOE 931228

Nipple

1шт.

7

VOE 931228

Nipple

1шт.

8

VOE 4821879

Clutch

1шт.

9

VOE 4821831

Nipple

1шт.

9

VOE 4821831

Nipple

1шт.

Выбрано товаров: 37