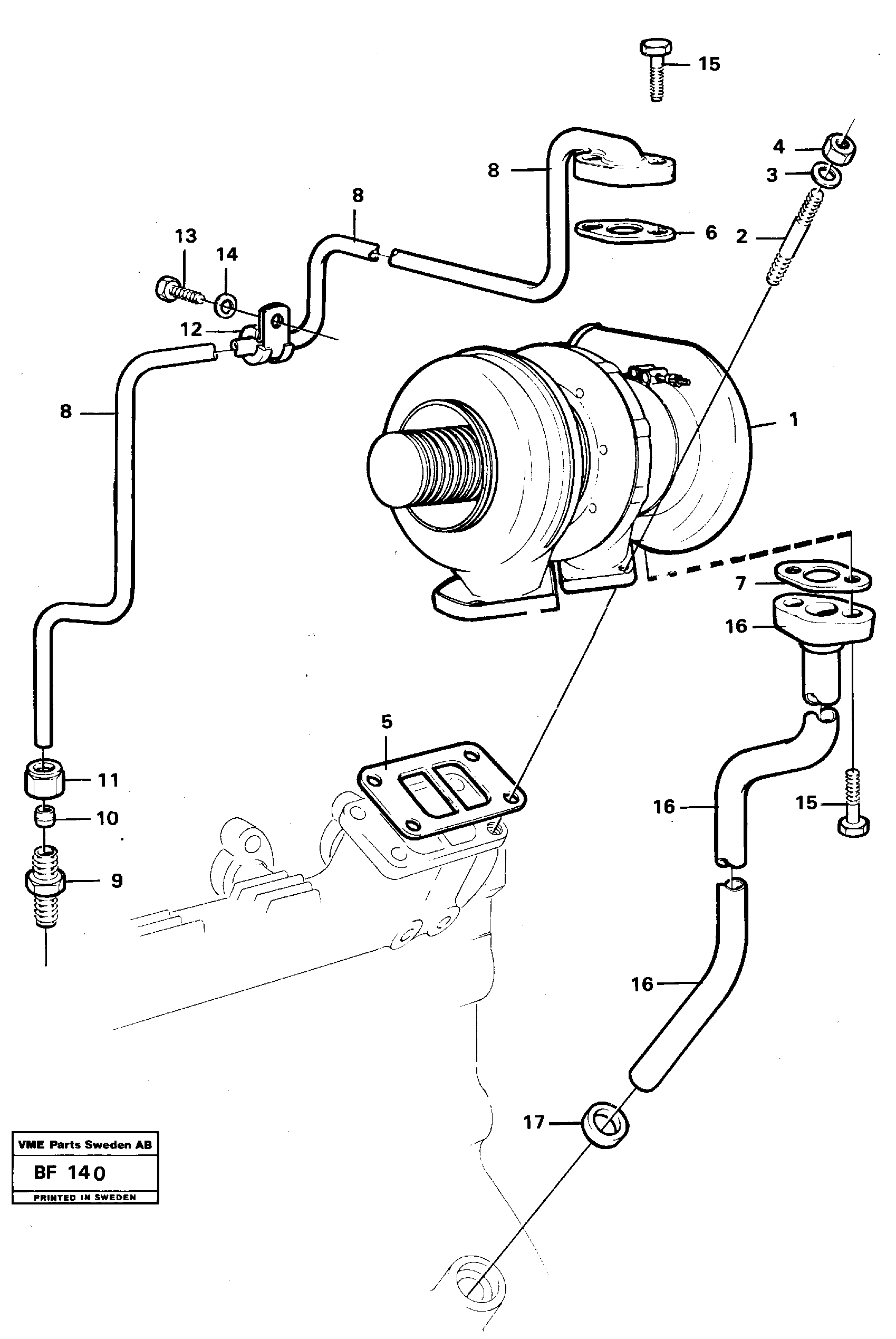
Запчасти Volvo A25B A25B 48120 Турбокомпрессор (турбина) с установочными деталями

Схема запчастей Volvo A25B A25B - 48120 Турбокомпрессор (турбина) с установочными деталями
FIT
1:1
100%

Артикул

Название

Примечание

Количество

VOE 946671

Flange screw

1шт.

VOE 946671

Flange screw

1шт.

1

VOE 4881613

Турбокомпрессор (турбина)

1шт.

1

VOE 4881613

Турбокомпрессор (турбина)

1шт.

10

VOE 956970

Ferrule

1шт.

11

VOE 956984

Fitting nut

1шт.

12

VOE 13946834

Зажим

1шт.

12

VOE 13946834

Зажим

1шт.

13

VOE 947107

Flange screw

1шт.

13

VOE 947107

Flange screw

1шт.

14

VOE 13955894

Шайба

1шт.

14

VOE 13955894

Шайба

1шт.

15

VOE 13945444

Болт

1шт.

15

VOE 13945444

Screw

1шт.

16

VOE 471625

Return pipe

1шт.

17

VOE 471626

Кольцо уплотнительное

1шт.

17

VOE 471626

Кольцо уплотнительное

1шт.

2

VOE 13977298

Шпилька

1шт.

3

VOE 470467

Втулка (распорная)

1шт.

4

VOE 471622

Flange lock nut

1шт.

5

VOE 420618

Прокладка

1шт.

5

VOE 420618

Прокладка

1шт.

6

VOE 420641

Прокладка

1шт.

6

VOE 420641

Прокладка

1шт.

7

VOE 420643

Прокладка

1шт.

7

VOE 420643

Прокладка

1шт.

8

VOE 471624

Oil feed pipe

1шт.

9

VOE 13963948

Nipple

1шт.

9

VOE 13963948

Nipple

1шт.

Выбрано товаров: 0