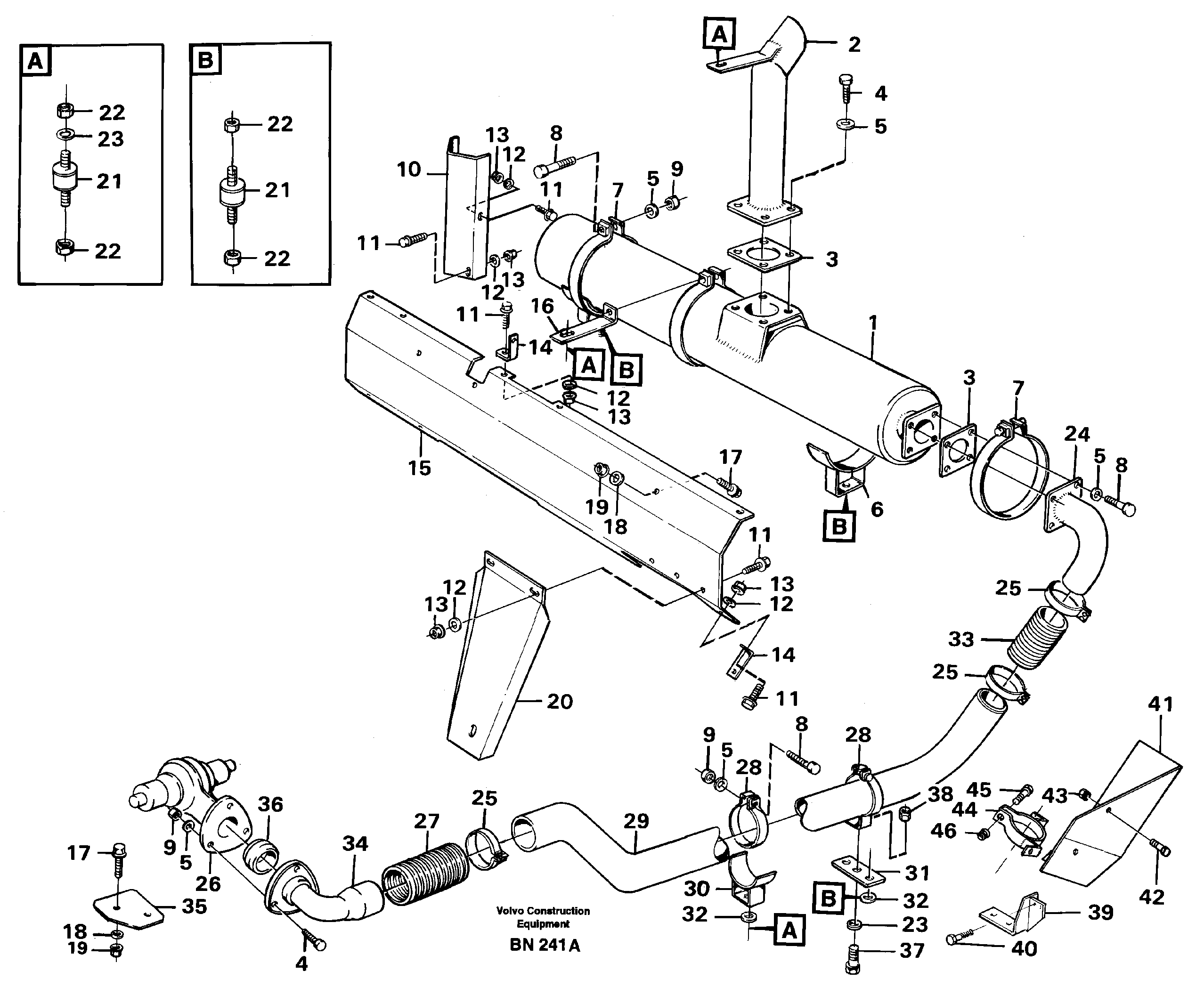
Запчасти Volvo A25C 85100 Выхлопная система A25C

Схема запчастей Volvo A25C - 85100 Выхлопная система A25C
FIT
1:1
100%

Артикул

Название

Примечание

Количество

VOE 13970947

Винт шестигранник

1шт.

VOE 13970947

Винт шестигранник

1шт.

1

VOE 4771479

Silencer

1шт.

10

VOE 4823560

Protecting plate

1шт.

11

VOE 13946934

Болт

1шт.

11

VOE 13946934

Болт

1шт.

12

VOE 960139

Шайба

1шт.

12

VOE 960139

Шайба

1шт.

13

VOE 13949278

Flange lock nut

1шт.

13

VOE 13949278

Flange lock nut

1шт.

14

VOE 4823361

Кронштейн

1шт.

15

VOE 4940931

Protecting plate

1шт.

16

VOE 4940041

Опора

1шт.

16

VOE 4940041

Brace

1шт.

17

VOE 13946173

Screw

1шт.

17

VOE 13946173

Болт

1шт.

18

VOE 976944

Шайба

1шт.

18

VOE 976944

Шайба

1шт.

19

VOE 13945408

Гайка

1шт.

19

VOE 13945408

Гайка

1шт.

2

VOE 4737526

End pipe

1шт.

20

VOE 4864701

Protecting plate

1шт.

21

VOE 11110276

Rubber cushion

1шт.

21

VOE 11110276

Rubber cushion

1шт.

22

VOE 13971096

Flange nut

1шт.

22

VOE 13971096

Flange nut

1шт.

23

VOE 11064642

Шайба

1шт.

24

VOE 11052428

Exhaust pipe

1шт.

25

VOE 8151616

Зажим

1шт.

27

VOE 11110293

Exhaust pipe

1шт.

28

VOE 4751184

Зажим

1шт.

29

VOE 11052434

Exhaust pipe

1шт.

3

VOE 4770880

Прокладка

1шт.

3

VOE 4770880

Прокладка

1шт.

30

VOE 4940037

Anchorage

1шт.

31

VOE 4940040

Пластина

1шт.

32

VOE 11053667

Прокладка

1шт.

32

VOE 11053667

Прокладка

1шт.

33

VOE 11110293

Exhaust pipe

1шт.

34

VOE 11116703

Pipe elbow

1шт.

35

VOE 4965337

Protecting plate

1шт.

36

VOE 364727

Кольцо уплотнительное

1шт.

37

VOE 13965191

Screw

1шт.

37

VOE 13965191

Болт

1шт.

38

VOE 971099

Flange lock nut

1шт.

38

VOE 971099

Flange lock nut

1шт.

39

VOE 11056510

11056510

1шт.

4

VOE 13971019

Болт

1шт.

4

VOE 13971019

Болт

1шт.

40

VOE 946671

Flange screw

1шт.

40

VOE 946671

Flange screw

1шт.

41

VOE 4940834

Protecting plate

37055, 37057

1шт.

42

VOE 13946934

Болт

37055, 37057

1шт.

42

VOE 13946934

Болт

37055, 37057

1шт.

43

VOE 13949278

Flange lock nut

37055, 37057

1шт.

43

VOE 13949278

Flange lock nut

37055, 37057

1шт.

44

VOE 4864705

Зажим

37055, 37057

1шт.

45

VOE 13970950

Винт шестигранник

37055, 37057

1шт.

45

VOE 13970950

Винт шестигранник

37055, 37057

1шт.

46

VOE 13971074

Hexagon nut

37055, 37057

1шт.

46

VOE 13971074

Hexagon nut

37055, 37057

1шт.

5

VOE 976945

Шайба

1шт.

5

VOE 976945

Шайба

1шт.

6

VOE 4940425

Anchorage

1шт.

7

VOE 11058146

Зажим

1шт.

8

VOE 13965185

Screw

1шт.

8

VOE 13965185

Болт

1шт.

9

VOE 13971074

Hexagon nut

1шт.

9

VOE 13971074

Hexagon nut

1шт.

Выбрано товаров: 69