Запчасти Volvo A25D 19205 Differential lock A25D S/N 13001 -

Схема запчастей Volvo A25D - 19205 Differential lock A25D S/N 13001 -
FIT
1:1
100%

Артикул

Название

Примечание

Количество

VOE 11102684

Мост (ось)

23903, 23904

1шт.

VOE 11102684

Мост (ось)

23903, 23904

1шт.

VOE 20545488

Diaphragm seat

AX 11195 -

1шт.

VOE 20545488

Diaphragm seat

AX 11195 -

1шт.

VOE 20545485

Diaphragm

AX 11195 -

1шт.

VOE 20545485

Diaphragm

AX 11195 -

1шт.

VOE 11102671

Крышка

23904

1шт.

VOE 11102671

Крышка

23904

1шт.

VOE 11103091

Spacer sleeve

23904, AX - 12182

1шт.

VOE 11103091

Spacer sleeve

23904, AX - 12182

1шт.

VOE 11103376

Spacer sleeve

23904, AX 12183 -

1шт.

VOE 11103376

Spacer sleeve

23904, AX 12183 -

1шт.

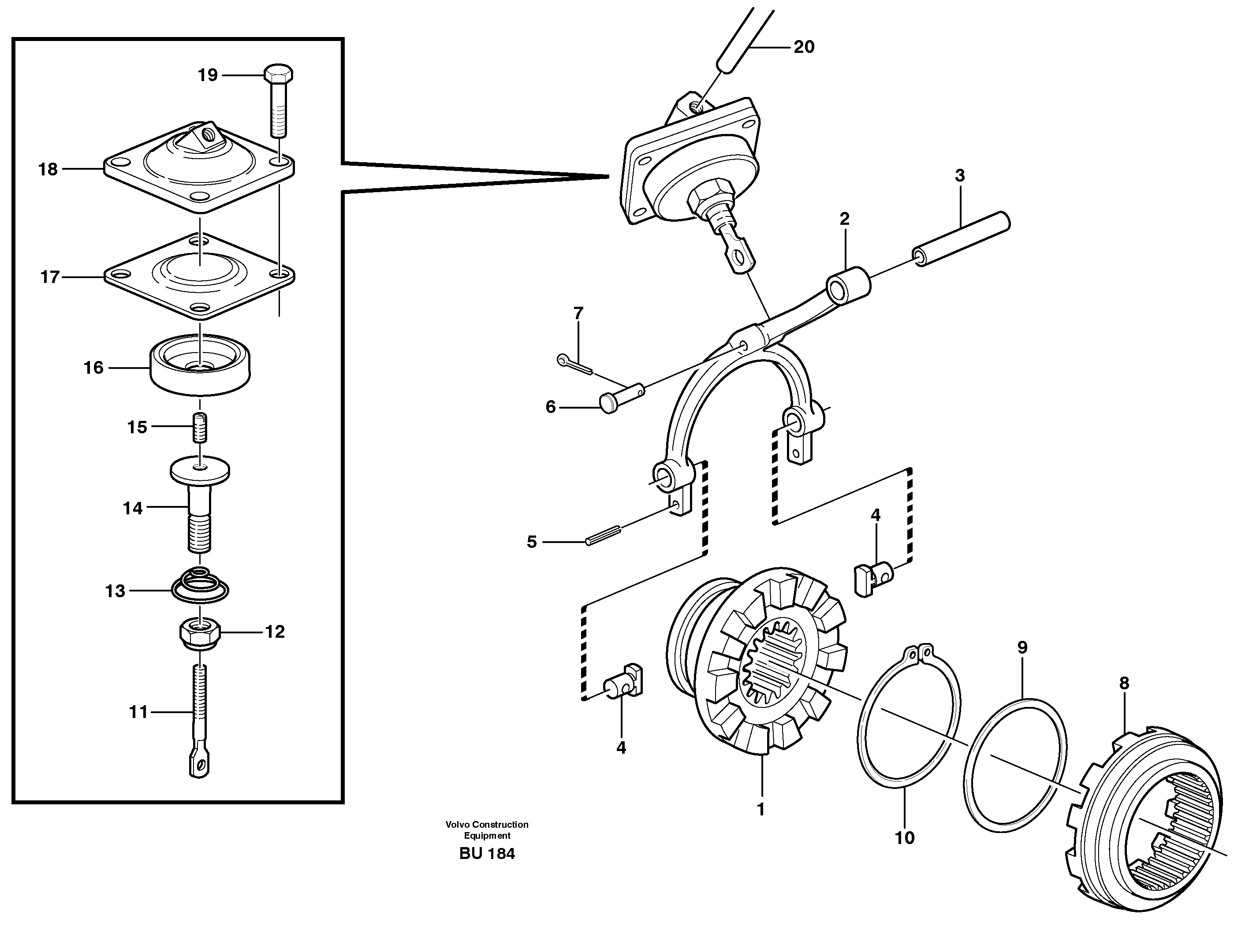
1

VOE 3152038

Dog clutch

1шт.

1

VOE 3152038

Dog clutch

1шт.

10

VOE 914486

Retaining ring

1шт.

10

VOE 914486

Кольцо стопорное

1шт.

11

VOE 11102657

Selector bar

1шт.

11

VOE 11102657

Selector bar

1шт.

12

VOE 945988

Lock nut

1шт.

12

VOE 945988

Lock nut

1шт.

13

VOE 3152042

Return spring

1шт.

13

VOE 3152042

Return spring

1шт.

14

VOE 11102670

Diaphragm sleeve

1шт.

14

VOE 11102670

Diaphragm sleeve

1шт.

15

VOE 13962985

установочный винт

1шт.

15

VOE 13962985

установочный винт

1шт.

16

VOE 3152041

Diaphragm seat

AX - 11194

1шт.

16

VOE 3152041

Diaphragm seat

AX - 11194

1шт.

17

VOE 3152046

Diaphragm

AX - 11194

1шт.

17

VOE 3152046

Diaphragm

AX - 11194

1шт.

18

VOE 20706809

Крышка

1шт.

18

VOE 20706809

Крышка

1шт.

19

VOE 13945444

Болт

1шт.

19

VOE 13945444

Screw

1шт.

2

VOE 3152039

Selector fork

1шт.

2

VOE 3152039

Selector fork

1шт.

3

VOE 3152043

Selector bar

23905, 23942

1шт.

3

VOE 3152043

Selector bar

23905, 23942

1шт.

4

VOE 1523087

Палец

1шт.

5

VOE 13951965

Spring pin

1шт.

5

VOE 13951965

Spring pin

1шт.

6

VOE 13964845

Болт

1шт.

6

VOE 13964845

Clevis pin

1шт.

7

VOE 907822

Cotter Pin

1шт.

8

VOE 81241948

Dog clutch

1шт.

8

VOE 81241948

Dog clutch

1шт.

9

VOE 81241968

Шайба

1шт.

9

VOE 81241968

Шайба

1шт.

Выбрано товаров: 48