Запчасти Volvo A25D 28874 Heating unit A25D S/N 13001 -

Схема запчастей Volvo A25D - 28874 Heating unit A25D S/N 13001 -
FIT
1:1
100%

Артикул

Название

Примечание

Количество

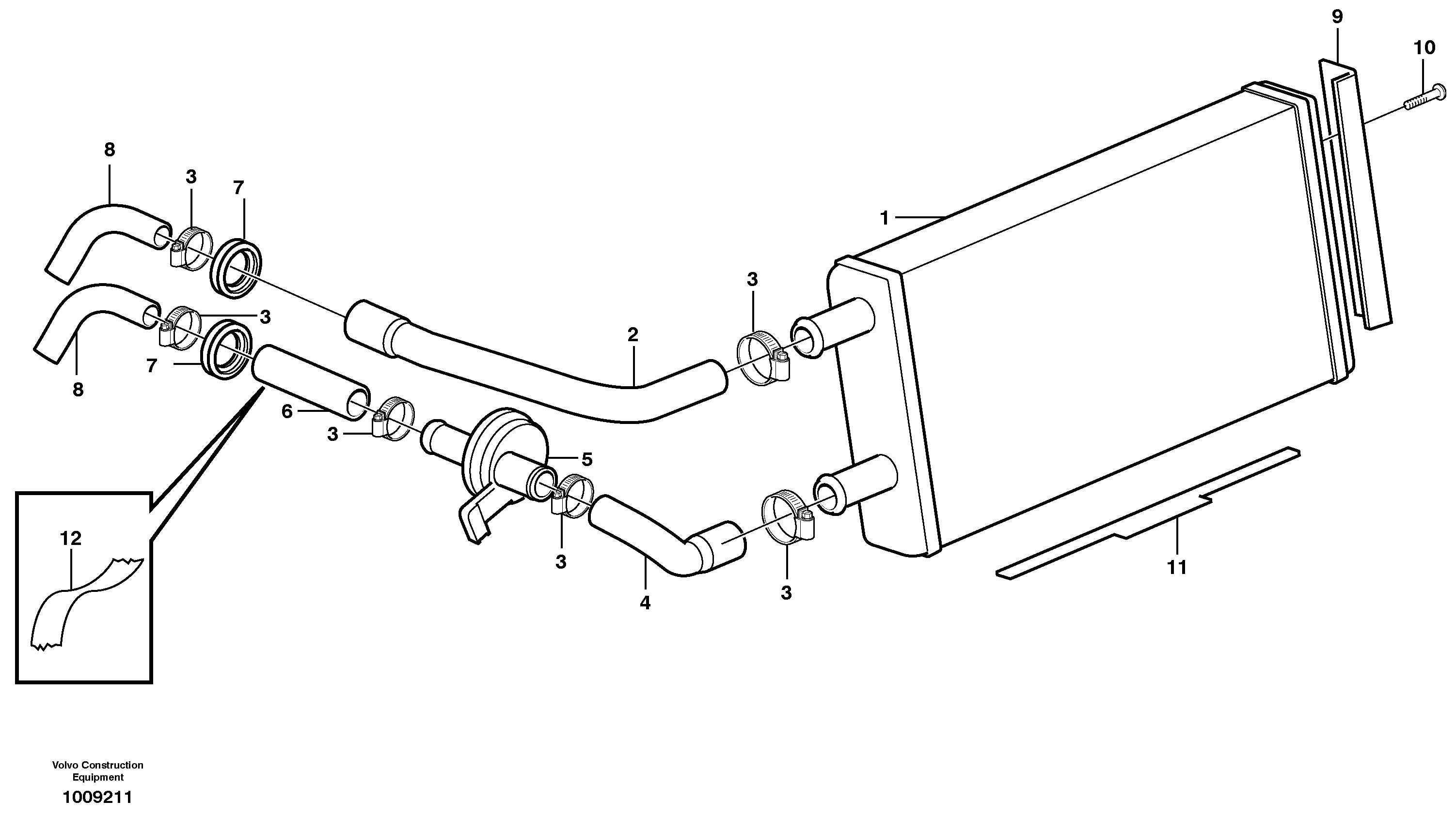
1

VOE 1587964

Радиатор

1шт.

1

VOE 1587964

Радиатор

1шт.

10

VOE 972079

Болт

1шт.

10

VOE 972079

Винт шестигранник (торцевой ключ)

1шт.

11

VOE 11059561

Сальник

1шт.

12

977416

Marking tape

RED, L = 200 MM

1шт.

12

977416

Marking tape

RED, L = 200 MM

1шт.

2

VOE 11112189

Шланг

1шт.

2

VOE 11112189

Шланг

1шт.

3

VOE 943473

Hose clamp

29

1шт.

3

VOE 943473

Hose clamp

29

1шт.

4

VOE 11191002

Шланг

1шт.

4

VOE 11191002

Шланг

1шт.

5

VOE 11191001

Клапан

1шт.

5

VOE 11191001

Клапан

1шт.

6

VOE 11112190

Шланг

1шт.

6

VOE 11112190

Шланг

1шт.

7

VOE 13961962

Protecting bushing

1шт.

7

VOE 13961962

Protecting bushing

1шт.

8

VOE 11113614

Трубка

1шт.

8

VOE 11113614

Трубка

1шт.

9

VOE 11059560

Anchorage

1шт.

Выбрано товаров: 22