Запчасти Volvo A25E 53307 Tailboard

Схема запчастей Volvo A25E - 53307 Tailboard
FIT
1:1
100%

Артикул

Название

Примечание

Количество

VOE 11056516

Рукоять

RH

1шт.

VOE 11056516

Рукоять

RH

1шт.

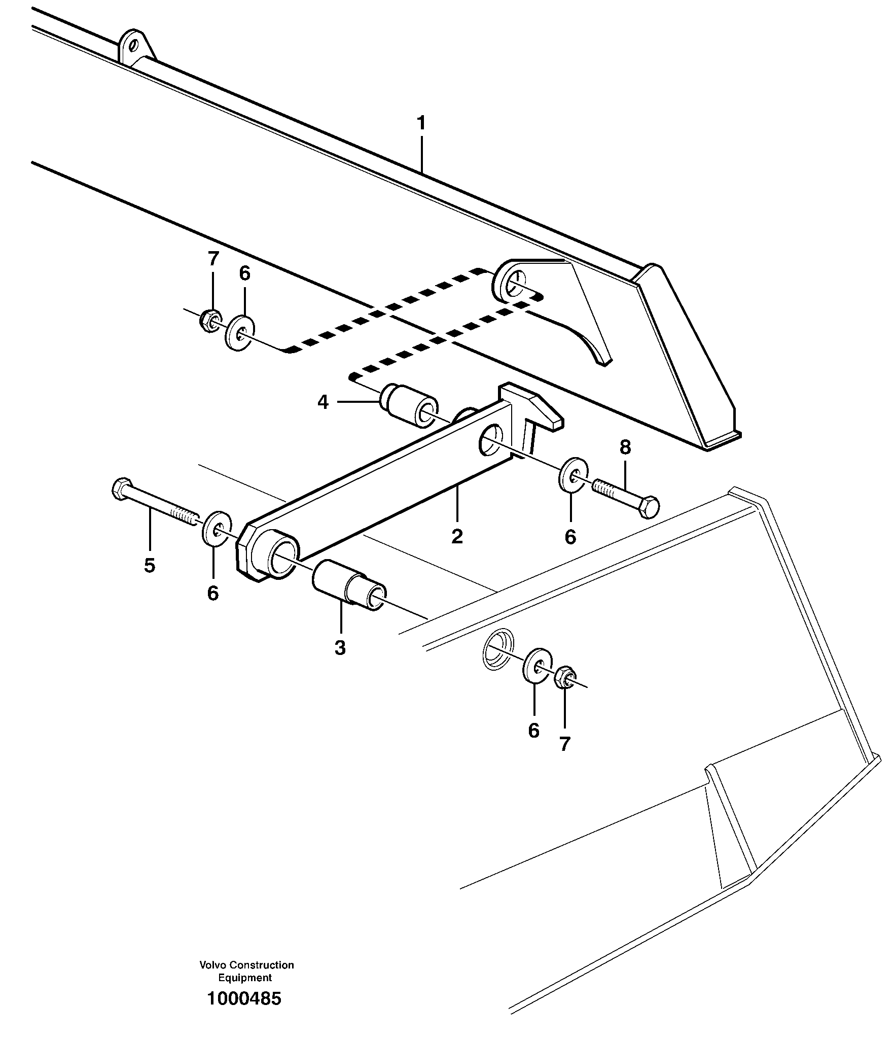
1

VOE 11120419

Tailboard

1шт.

1

VOE 11120419

Tailboard

1шт.

2

VOE 11056515

Рукоять

LH

1шт.

2

VOE 11056515

Рукоять

LH

1шт.

3

VOE 4864918

Socket

1шт.

3

VOE 4864918

Втулка (распорная)

1шт.

4

VOE 4864919

Втулка (распорная)

1шт.

4

VOE 4864919

Socket

1шт.

5

VOE 13955419

Болт

1шт.

5

VOE 13955419

Болт

1шт.

6

VOE 4940107

Шайба

1шт.

6

VOE 4940107

Шайба

1шт.

7

VOE 13963096

Lock nut

1шт.

7

VOE 13963096

Lock nut

1шт.

8

VOE 955417

Винт шестигранник

1шт.

8

VOE 955417

Винт шестигранник

1шт.

Выбрано товаров: 18