Запчасти Volvo A30 VOLVO BM VOLVO BM A30 5249 Modulated valve

Схема запчастей Volvo A30 VOLVO BM VOLVO BM A30 - 5249 Modulated valve
FIT
1:1
100%

Артикул

Название

Примечание

Количество

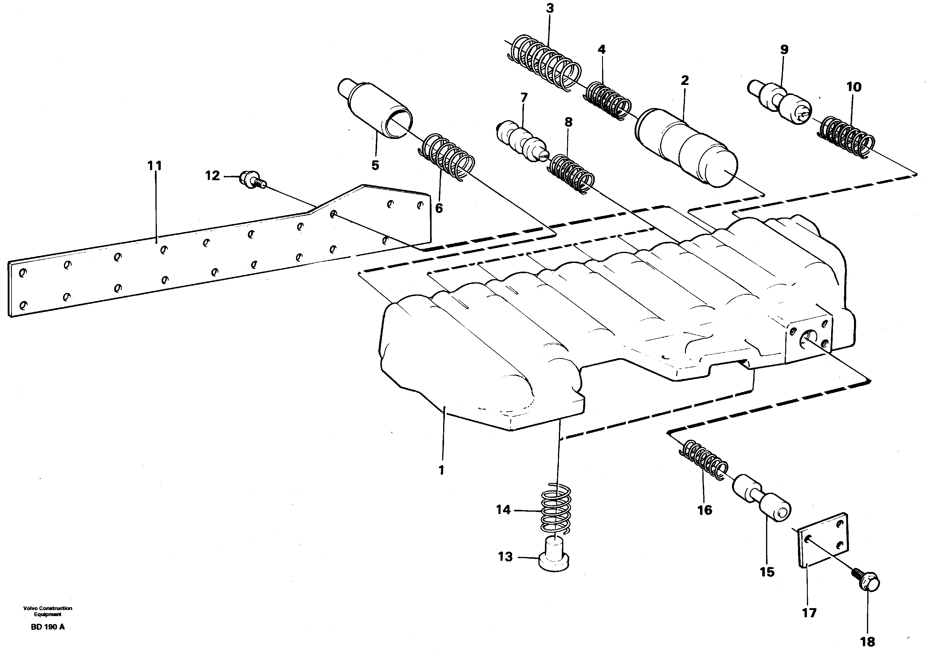
1

VOE 1650848

Valve Housing

1шт.

10

VOE 1650847

Пружина

1шт.

10

VOE 1650847

Пружина

1шт.

11

VOE 1650838

Cap

1шт.

12

VOE 13965199

Болт

1шт.

12

VOE 13965199

Болт

1шт.

13

VOE 1650612

Клапан

1шт.

13

VOE 1650612

Клапан

1шт.

14

VOE 1650613

Compression Spring

1шт.

14

VOE 1650613

Compression Spring

1шт.

15

VOE 1656526

Slide

1шт.

16

VOE 1656525

Compression Spring

1шт.

17

VOE 1650813

Cap

1шт.

18

VOE 13965199

Болт

1шт.

18

VOE 13965199

Болт

1шт.

2

VOE 1650761

Поршень

1шт.

3

VOE 1650845

Пружина

1шт.

4

VOE 1650846

Пружина

1шт.

5

VOE 1650725

Поршень

1шт.

5

VOE 1650725

Поршень

1шт.

6

VOE 1650829

Compression Spring

1шт.

6

VOE 1650829

Compression Spring

1шт.

7

VOE 1650827

Slide

1шт.

7

VOE 1650827

Slide

1шт.

8

VOE 1650828

Compression Spring

1шт.

8

VOE 1650828

Compression Spring

1шт.

9

VOE 1656522

Slide

1шт.

Выбрано товаров: 27