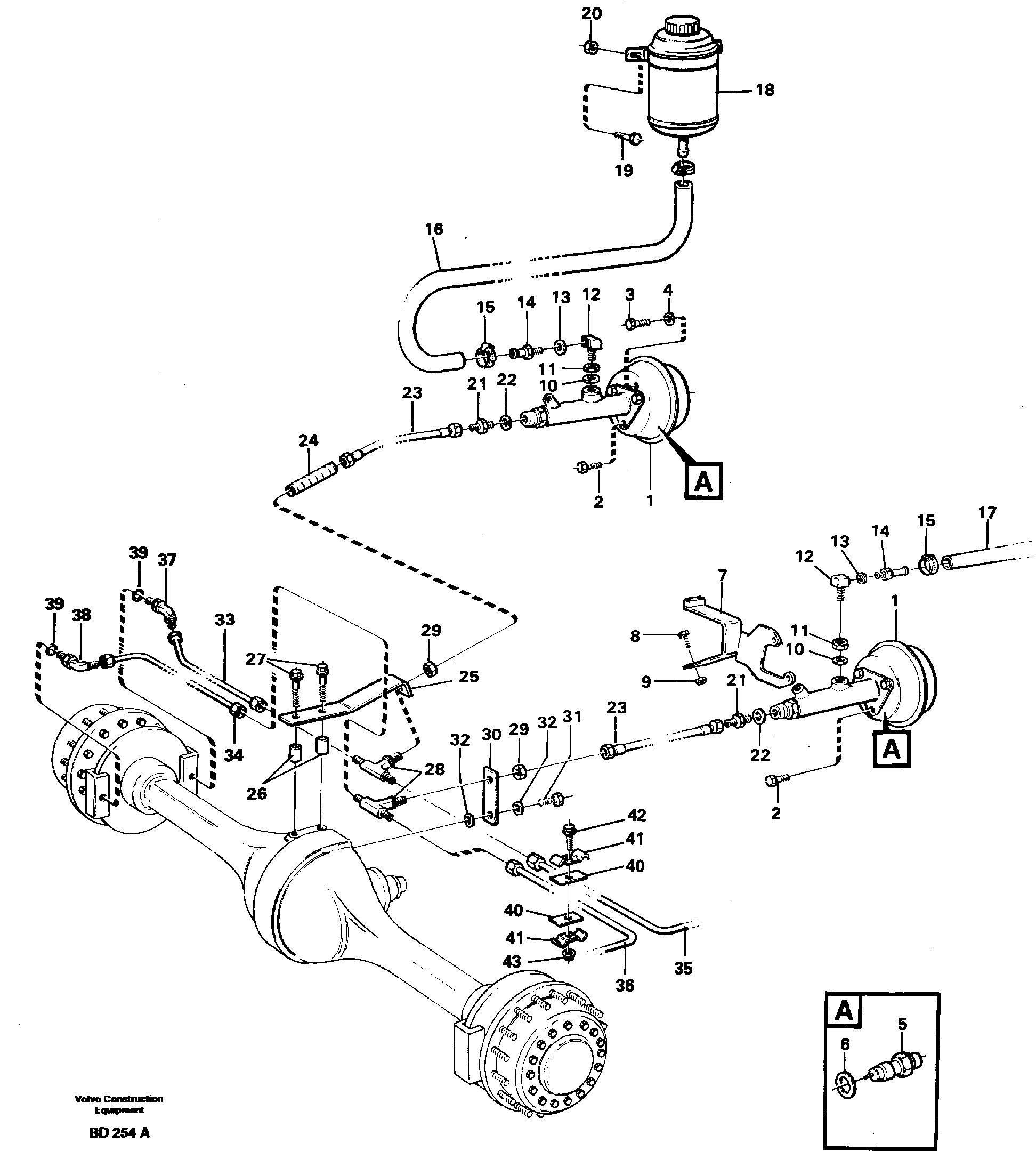
Запчасти Volvo A30 VOLVO BM VOLVO BM A30 67268 Hydraulic brake-system tractor

Схема запчастей Volvo A30 VOLVO BM VOLVO BM A30 - 67268 Hydraulic brake-system tractor
FIT
1:1
100%

Артикул

Название

Примечание

Количество

VOE 13965186

Болт

L=50

1шт.

VOE 13965186

Screw

L=50

1шт.

VOE 11051090

11051090

RH

1шт.

10

VOE 13949657

Кольцо уплотнительное (О-кольцо)

1шт.

10

VOE 13949657

Кольцо уплотнительное (О-кольцо)

1шт.

11

VOE 945895

Hexagon nut

1шт.

11

VOE 945895

Hexagon nut

1шт.

12

VOE 13946001

Nipple

1шт.

13

VOE 13947282

Прокладка

1шт.

13

VOE 13947282

Прокладка

1шт.

14

VOE 947502

Nipple

1шт.

14

VOE 947502

Nipple

1шт.

15

VOE 943469

Hose clamp

1шт.

16

VOE 4954027

Шланг

L=1550

1шт.

17

VOE 4954027

Шланг

L=2750

1шт.

18

VOE 4872244

Reservoir

1шт.

18A

VOE 11996160

Крышка

1шт.

18A

VOE 11996160

Cover

1шт.

19

VOE 13946934

Болт

1шт.

19

VOE 13946934

Болт

1шт.

2

VOE 946329

Flange screw

1шт.

2

VOE 946329

Flange screw

1шт.

20

VOE 13949278

Flange lock nut

1шт.

20

VOE 13949278

Flange lock nut

1шт.

21

VOE 11043007

Nipple

1шт.

21

VOE 11043007

Nipple

1шт.

22

VOE 11053031

Кольцо уплотнительное (О-кольцо)

1шт.

22

VOE 11053031

Кольцо уплотнительное (О-кольцо)

1шт.

23

VOE 11112876

Brake hose

1шт.

23

VOE 11112876

Brake hose

1шт.

24

VOE 4941461

Cable Spiral

L = 2 x 420

1шт.

27

VOE 13947760

Болт

1шт.

27

VOE 13947760

Screw

1шт.

28

VOE 11043008

T-nipple

1шт.

28

VOE 11043008

T-nipple

1шт.

3

VOE 959662

Винт шестигранник

1шт.

3

VOE 959662

Винт шестигранник

1шт.

31

VOE 13970967

Винт шестигранник

1шт.

31

VOE 13970967

Винт шестигранник

1шт.

32

VOE 13955897

Шайба

1шт.

32

VOE 13955897

Шайба

1шт.

33

VOE 11053424

Brake pipe

1шт.

34

VOE 11053425

Brake pipe

1шт.

35

VOE 11053422

Brake pipe

1шт.

36

VOE 11053423

Brake pipe

1шт.

37

VOE 11043098

L-connection

1шт.

38

VOE 4931464

Elbow nipple

1шт.

38

VOE 4931464

Elbow nipple

1шт.

39

VOE 4931579

Кольцо уплотнительное (О-кольцо)

1шт.

39

VOE 4931579

Кольцо уплотнительное (О-кольцо)

1шт.

4

VOE 13955897

Шайба

1шт.

4

VOE 13955897

Шайба

1шт.

41

VOE 404279

Зажим

1шт.

41

VOE 404279

Зажим

1шт.

42

VOE 13946934

Болт

1шт.

42

VOE 13946934

Болт

1шт.

43

VOE 13949278

Flange lock nut

1шт.

43

VOE 13949278

Flange lock nut

1шт.

5

VOE 1578102

Contact

1шт.

6

VOE 13947624

Plane gasket

1шт.

6

VOE 13947624

Plane gasket

1шт.

7

VOE 11051089

11051089

LH

1шт.

8

VOE 946472

Flange screw

L=30

1шт.

8

VOE 946472

Flange screw

L=30

1шт.

9

VOE 13971098

Flange nut

1шт.

9

VOE 13971098

Flange nut

1шт.

Выбрано товаров: 66