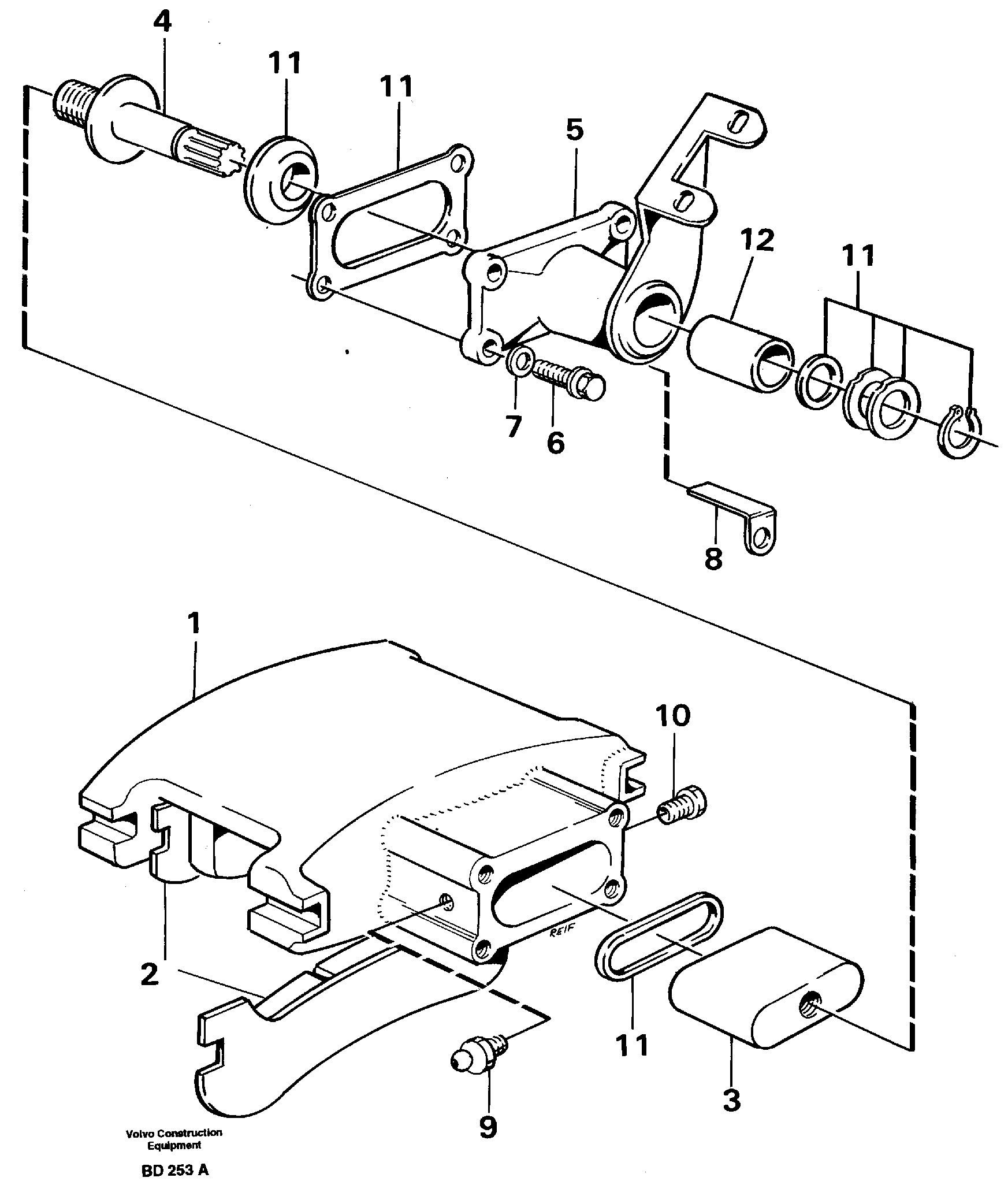
Запчасти Volvo A30 VOLVO BM VOLVO BM A30 15498 Disc brake

Схема запчастей Volvo A30 VOLVO BM VOLVO BM A30 - 15498 Disc brake
FIT
1:1
100%

Артикул

Название

Примечание

Количество

VOE 11049396

Parking Brake

1шт.

10

VOE 6212695

Nipple

1шт.

11

VOE 6212696

Ремкомплект

1шт.

12

VOE 11991333

Втулка

1шт.

2

VOE 11992515

Brake Lining Kit

1шт.

3

VOE 6212692

Поршень

1шт.

4

VOE 6212693

Вал

1шт.

5

VOE 11994400

Cap

1шт.

6

VOE 6212690

Болт

1шт.

7

VOE 6212691

Шайба

1шт.

9

VOE 6212694

Lub Nipple

1шт.

Выбрано товаров: 11