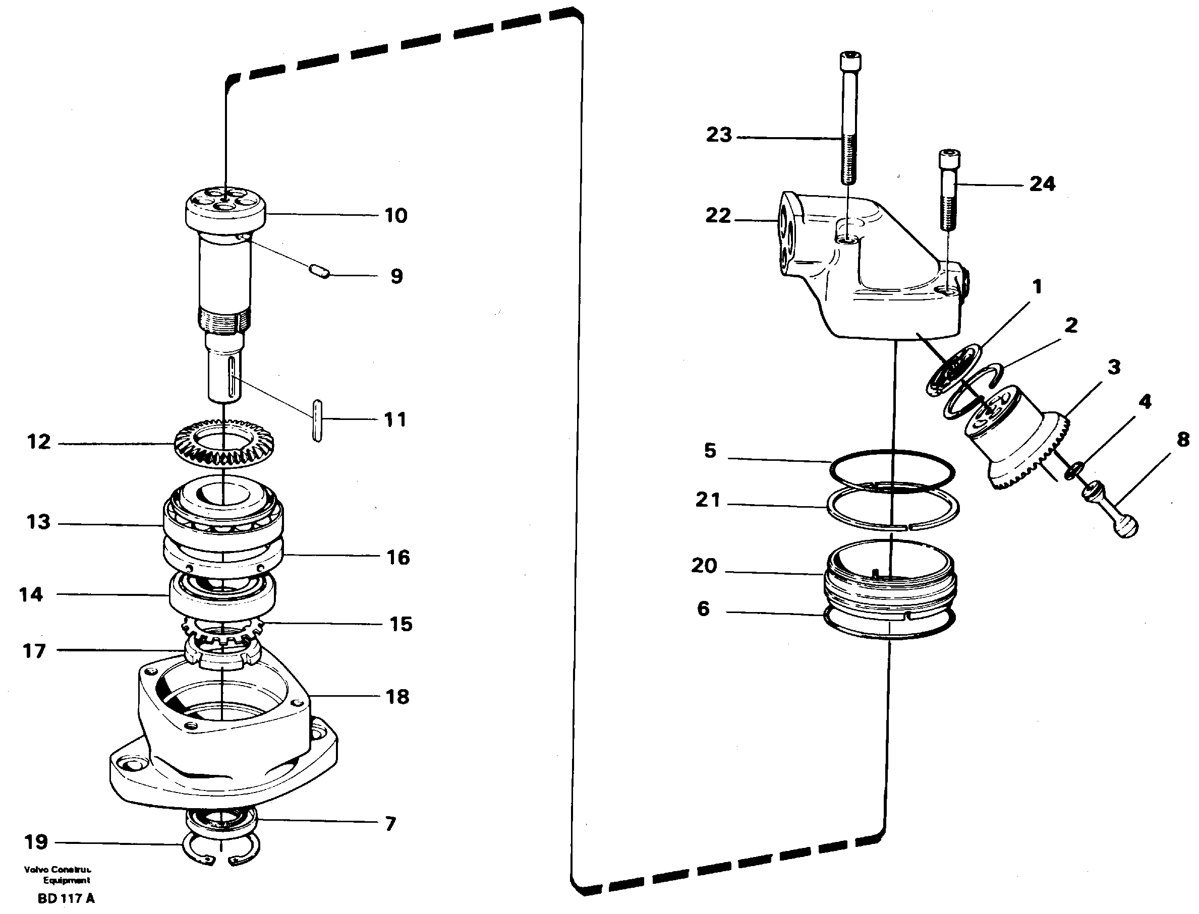
Запчасти Volvo A30 VOLVO BM VOLVO BM A30 5208 Гидромотор

Схема запчастей Volvo A30 VOLVO BM VOLVO BM A30 - 5208 Гидромотор
FIT
1:1
100%

Артикул

Название

Примечание

Количество

VOE 3703460

Мотор вентилятора

1шт.

VOE 3703460

Мотор вентилятора

1шт.

VOE 7072517

Piston ring

1шт.

1

VOE 3703439

Card

1шт.

11

VOE 909305

Flat Key

1шт.

13

VOE 7011096

Подшипник

1шт.

13

VOE 7011096

Подшипник

1шт.

14

VOE 7011043

Ball Bearing

1шт.

15

VOE 907026

Стопорная шайба (кольцо)

1шт.

17

VOE 906636

Round Nut

1шт.

19

VOE 914529

Snap Ring

1шт.

19

VOE 914529

Кольцо стопорное

1шт.

2

VOE 11994546

Attaching Ring

1шт.

22

VOE 3703438

Картер (корпус)

1шт.

3

VOE 3702959

Cylinder Drum

1шт.

4

VOE 7072517

Piston ring

1шт.

5

VOE 925257

Кольцо уплотнительное (О-кольцо)

1шт.

5

VOE 925257

Кольцо уплотнительное (О-кольцо)

1шт.

6

VOE 925258

Кольцо уплотнительное (О-кольцо)

1шт.

6

VOE 925258

Кольцо уплотнительное (О-кольцо)

1шт.

7

VOE 117851

Кольцо уплотнительное

1шт.

7

VOE 117851

Кольцо уплотнительное

1шт.

8

VOE 3708658

Поршень

1шт.

Выбрано товаров: 23