Запчасти Volvo A30 VOLVO BM VOLVO BM A30 5211 Battery with assembling details

Схема запчастей Volvo A30 VOLVO BM VOLVO BM A30 - 5211 Battery with assembling details
FIT
1:1
100%

Артикул

Название

Примечание

Количество

VOE 4946997

Battery Cable

SER NO 1204 -

1шт.

VOE 11061637

Battery Cable

SER NO 1204 -

1шт.

VOE 4946975

Battery Cable

SER NO 1204 -

1шт.

VOE 11992165

Handle

BOSCH

1шт.

VOE 11992165

Handle

BOSCH

1шт.

VOE 8157766

Handle

1шт.

VOE 8157766

Handle

1шт.

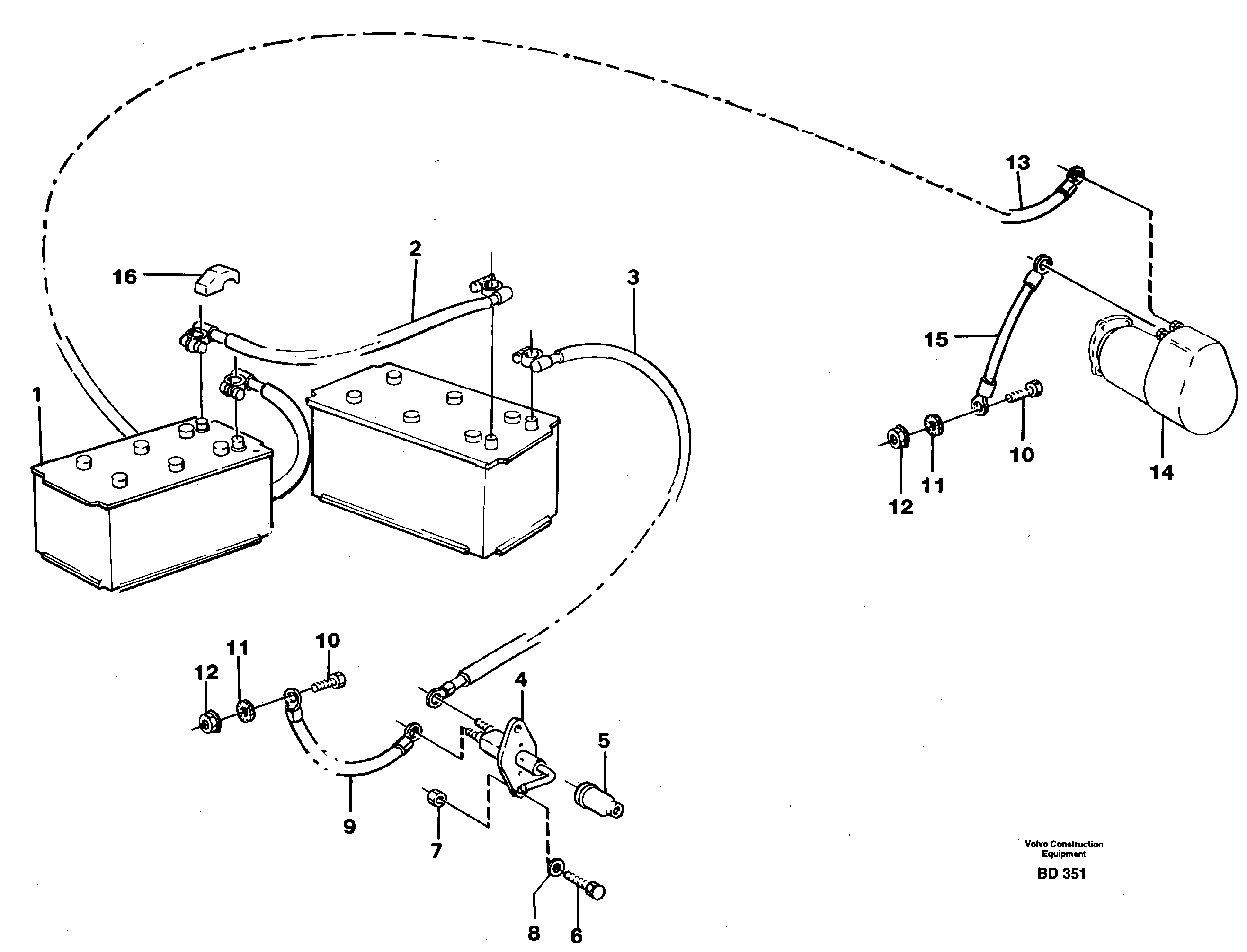
1

VOE 8158065

Батарея аккумуляторная

12V 170AH

1шт.

1

VOE 8158065

Батарея аккумуляторная

12V 170AH

1шт.

10

VOE 13965191

Flange screw

1шт.

10

VOE 13965191

Болт

1шт.

11

VOE 967600

Lock Washer

1шт.

11

VOE 967600

Стопорная шайба (кольцо)

1шт.

12

VOE 971099

Flange Lock Nut

1шт.

12

VOE 971099

Flange Lock Nut

1шт.

13

VOE 11061539

Battery Cable

SER NO - 1203

1шт.

15

VOE 11061159

Battery Cable

1шт.

16

VOE 11004677

Terminal Casing

SER NO 1065 -

1шт.

16

VOE 11004677

Terminal Casing

SER NO 1065 -

1шт.

2

VOE 4946978

Battery Cable

1шт.

3

VOE 11061541

Battery Cable

SER NO - 1203

1шт.

4

VOE 3987034

Battery main switch

1шт.

4

VOE 3987034

Battery main switch

1шт.

5

VOE 1582293

Bellows

1шт.

5

VOE 1582293

Bellows

1шт.

6

VOE 13946934

Болт

1шт.

6

VOE 13946934

Болт

1шт.

7

VOE 13949278

Flange Lock Nut

1шт.

7

VOE 13949278

Flange Lock Nut

1шт.

8

VOE 960139

Шайба

1шт.

8

VOE 960139

Шайба

1шт.

9

VOE 11061540

Battery Cable

SER NO - 1203

1шт.

Выбрано товаров: 32