Запчасти Volvo A30C 22773 Valve, circuit body and return valve A30C VOLVO BM VOLVO BM A30C SER NO - 2320/- 2275, USA

Схема запчастей Volvo A30C - 22773 Valve, circuit body and return valve A30C VOLVO BM VOLVO BM A30C SER NO - 2320/- 2275, USA
FIT
1:1
100%

Артикул

Название

Примечание

Количество

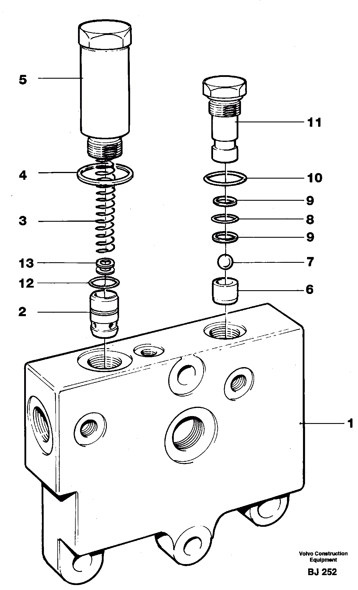
1

VOE 4946191

Valve Housing

1шт.

1

VOE 4946191

Valve Housing

1шт.

10

VOE 967750

Кольцо уплотнительное (О-кольцо)

1шт.

10

VOE 967750

Кольцо уплотнительное (О-кольцо)

1шт.

11

VOE 11704420

Челночный клапан

1шт.

11

VOE 11704420

Челночный клапан

1шт.

12

VOE 13960212

Кольцо уплотнительное (О-кольцо)

1шт.

12

VOE 13960212

Кольцо уплотнительное (О-кольцо)

1шт.

13

VOE 13940090

Шайба

(Nom. PCS = 2)

1шт.

13

VOE 13940090

Шайба

(Nom. PCS = 2)

1шт.

2

VOE 11053778

Peg

1шт.

3

VOE 4823564

Compression Spring

1шт.

4

VOE 948885

Plane Gasket

1шт.

4

VOE 948885

Plane Gasket

1шт.

5

VOE 4823532

Крышка

1шт.

6

VOE 4941091

Seat

1шт.

6

VOE 4941091

Seat

1шт.

7

VOE 183801

Ball

1шт.

7

VOE 183801

Ball

1шт.

8

VOE 944364

Кольцо уплотнительное (О-кольцо)

1шт.

8

VOE 944364

Кольцо уплотнительное (О-кольцо)

1шт.

9

VOE 13962535

Back-up ring

1шт.

9

VOE 13962535

Back-up ring

1шт.

Выбрано товаров: 23