Запчасти Volvo A30D 8094 Valve mechanism A30D S/N 12001 - S/N 73000 - BRA

Схема запчастей Volvo A30D - 8094 Valve mechanism A30D S/N 12001 - S/N 73000 - BRA
FIT
1:1
100%

Артикул

Название

Примечание

Количество

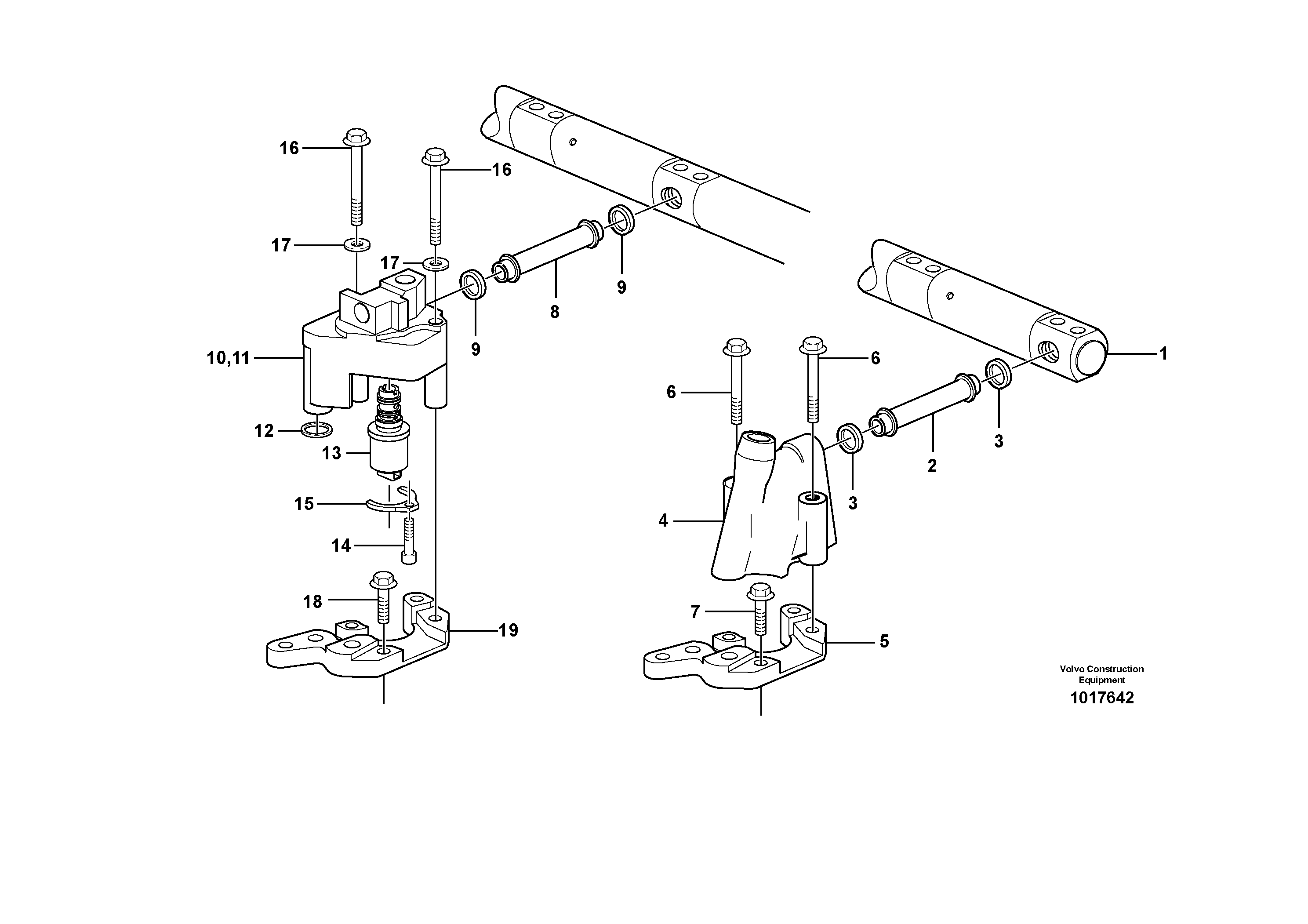
10

VOE 20574700

Клапан регулирующий (распределительный)

1шт.

11

VOE 20713422

Картер (корпус)

1шт.

12

VOE 20526428

Кольцо уплотнительное

1шт.

13

VOE 20574690

Клапан регулирующий (распределительный)

1шт.

14

VOE 20574688

Болт

1шт.

15

VOE 20574694

Скоба (хомут)

1шт.

16

VOE 969225

Flange screw

1шт.

16

VOE 969225

Flange screw

1шт.

17

VOE 192288

Шайба

1шт.

17

VOE 192288

Шайба

1шт.

18

VOE 13946173

Screw

1шт.

18

VOE 13946173

Болт

1шт.

19

VOE 20591747

Адаптер

1шт.

2

VOE 8148187

Трубка

1шт.

3

VOE 1677370

Кольцо уплотнительное

1шт.

3

VOE 1677370

Кольцо уплотнительное

1шт.

4

VOE 20483890

Intmd Section

1шт.

5

VOE 8148188

Адаптер

1шт.

6

VOE 3165142

Flange screw

1шт.

6

VOE 3165142

Flange screw

1шт.

7

VOE 13946173

Screw

1шт.

7

VOE 13946173

Болт

1шт.

8

VOE 20786034

Connecting Pipe

1шт.

9

VOE 1677370

Кольцо уплотнительное

1шт.

9

VOE 1677370

Кольцо уплотнительное

1шт.

Выбрано товаров: 25