Запчасти Volvo A30D 23629 Hydraulic fluid filter A30D S/N -11999, - 60093 USA S/N-72999 BRAZIL

Схема запчастей Volvo A30D - 23629 Hydraulic fluid filter A30D S/N -11999, - 60093 USA S/N-72999 BRAZIL
FIT
1:1
100%

Артикул

Название

Примечание

Количество

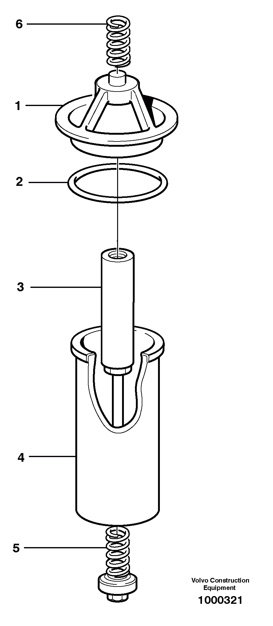
VOE 11119885

Filter Insert

1шт.

VOE 11119885

Filter Insert

1шт.

2

VOE 6210360

Кольцо уплотнительное (О-кольцо)

1шт.

2

VOE 6210360

Кольцо уплотнительное (О-кольцо)

1шт.

4

VOE 11119887

Filter Cartridge

1шт.

4

VOE 11119887

Filter Cartridge

1шт.

5

VOE 11993070

Комплект пружин

1шт.

5

VOE 11993070

Комплект пружин

1шт.

6

VOE 6635976

Пружина

1шт.

6

VOE 6635976

Пружина

1шт.

Выбрано товаров: 10