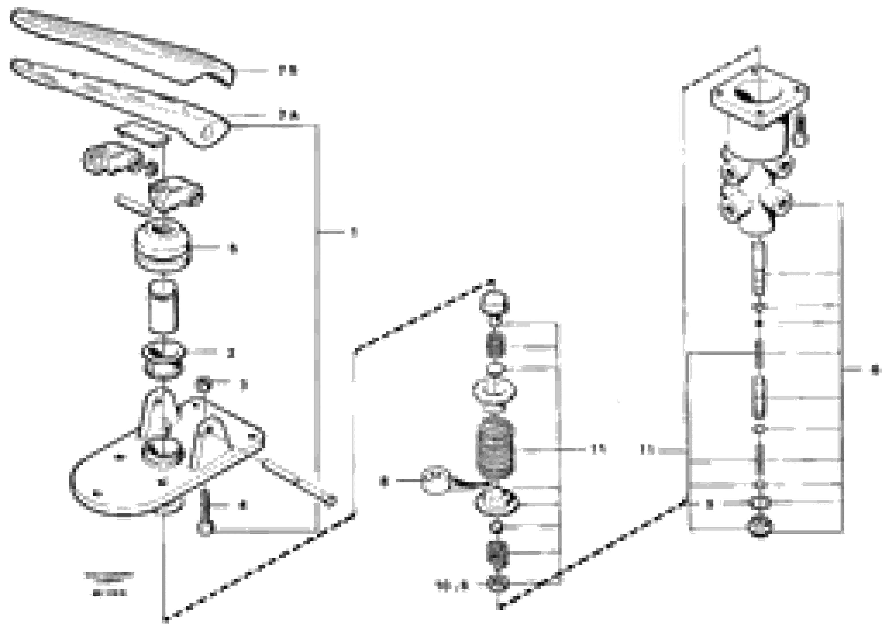
Запчасти Volvo A35 Volvo BM A35 15779 Footbrake valve

Схема запчастей Volvo A35 Volvo BM A35 - 15779 Footbrake valve
FIT
1:1
100%

Артикул

Название

Примечание

Количество

VOE 4872211

Клапан

CAB - 1297

1шт.

VOE 11034082

Footbrake Valve

CAB 1298 - 1826

1шт.

VOE 6213292

Upper Section

1шт.

1

VOE 6212913

Upper Section

1шт.

10

VOE 11991552

Кольцо уплотнительное

1шт.

10

VOE 11991552

Кольцо уплотнительное

1шт.

11

VOE 11993081

Ремкомплект

1шт.

2

VOE 1502685

Втулка

1шт.

2

VOE 1502685

Втулка

1шт.

3

VOE 955782

Hexagon Nut

1шт.

3

VOE 955782

Hexagon Nut

1шт.

4

VOE 13955298

Болт

1шт.

4

VOE 13955298

Болт

1шт.

5

VOE 6642316

Bellows

1шт.

5

VOE 6642316

Bellows

1шт.

6

VOE 6212914

Клапан

1шт.

7A

VOE 4881434

Pedal

1шт.

7B

VOE 4860801

Pedal

1шт.

8

VOE 6214000

Socket

1шт.

9

VOE 13947624

Plane Gasket

1шт.

9

VOE 13947624

Plane Gasket

1шт.

Выбрано товаров: 21