Качественные детали и логистика
Оригинальные и аналоговые запчасти с доставкой по России, Казахстану и Беларуси
©2022 PartSell ООО "Система" ИНН 2463123282 ОГРН 1212400004838
Центральный офис: г. Красноярск, Академика Киренского, д.87, пом.4
Телефон: 8 (800) 777-65-74 Email: zakaz@partsell.ru
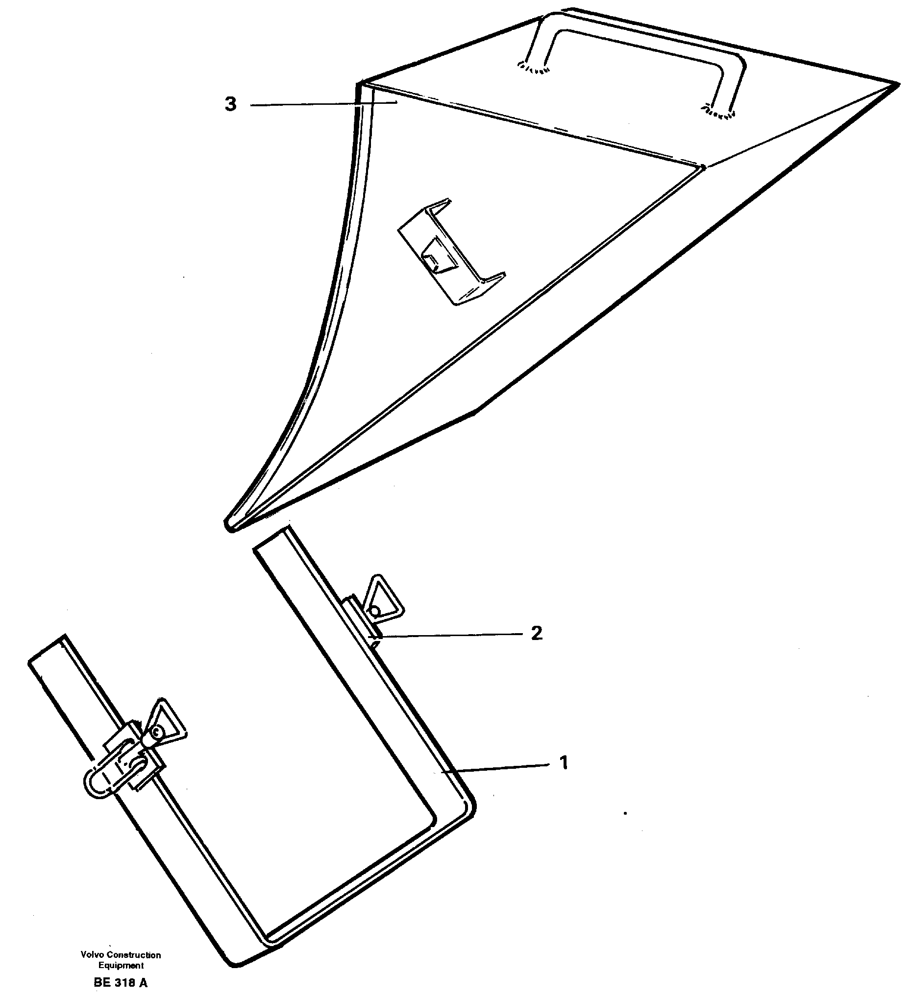
19900 Stop block for wheel
№
Артикул
Название
Примечание
Количество
1
VOE 11050062
Anchorage
1шт.
2
VOE 4737769
Eccentric Lock
3
VOE 11050049
Wheel Block
Выбрано товаров: 0