Запчасти Volvo A35 Volvo BM A35 68437 Трубка водяная

Схема запчастей Volvo A35 Volvo BM A35 - 68437 Трубка водяная
FIT
1:1
100%

Артикул

Название

Примечание

Количество

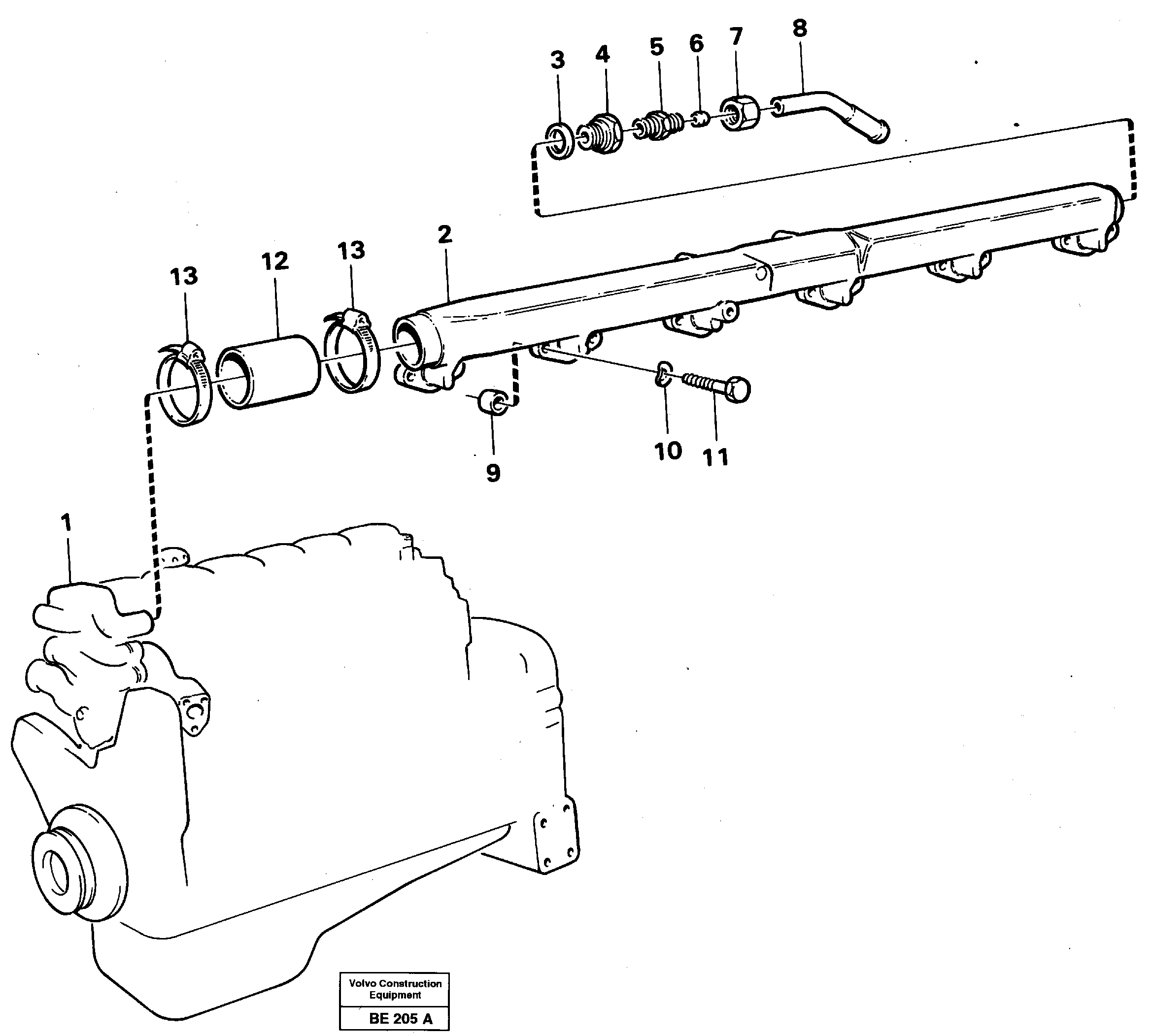
VOE 13940159

Болт

1шт.

VOE 13940159

Болт

1шт.

10

VOE 13941907

Шайба пружинная

1шт.

10

VOE 13941907

Шайба

1шт.

11

VOE 955525

Винт шестигранник

1шт.

11

VOE 955525

Винт шестигранник

1шт.

12

VOE 470464

Шланг

1шт.

13

VOE 943479

Hose clamp

1шт.

2

VOE 479601

Coolant pipe

1шт.

3

VOE 468463

Прокладка

1шт.

3

VOE 468463

Прокладка

1шт.

4

VOE 422550

Фиттинг

1шт.

5

VOE 13944177

Nipple

1шт.

5

VOE 13944177

Nipple

1шт.

6

VOE 956971

Ferrule

1шт.

7

VOE 956985

Фиттинг

1шт.

8

VOE 11127112

Трубка

1шт.

9

VOE 423281

Кольцо уплотнительное

1шт.

9

VOE 423281

Кольцо уплотнительное

1шт.

Выбрано товаров: 19