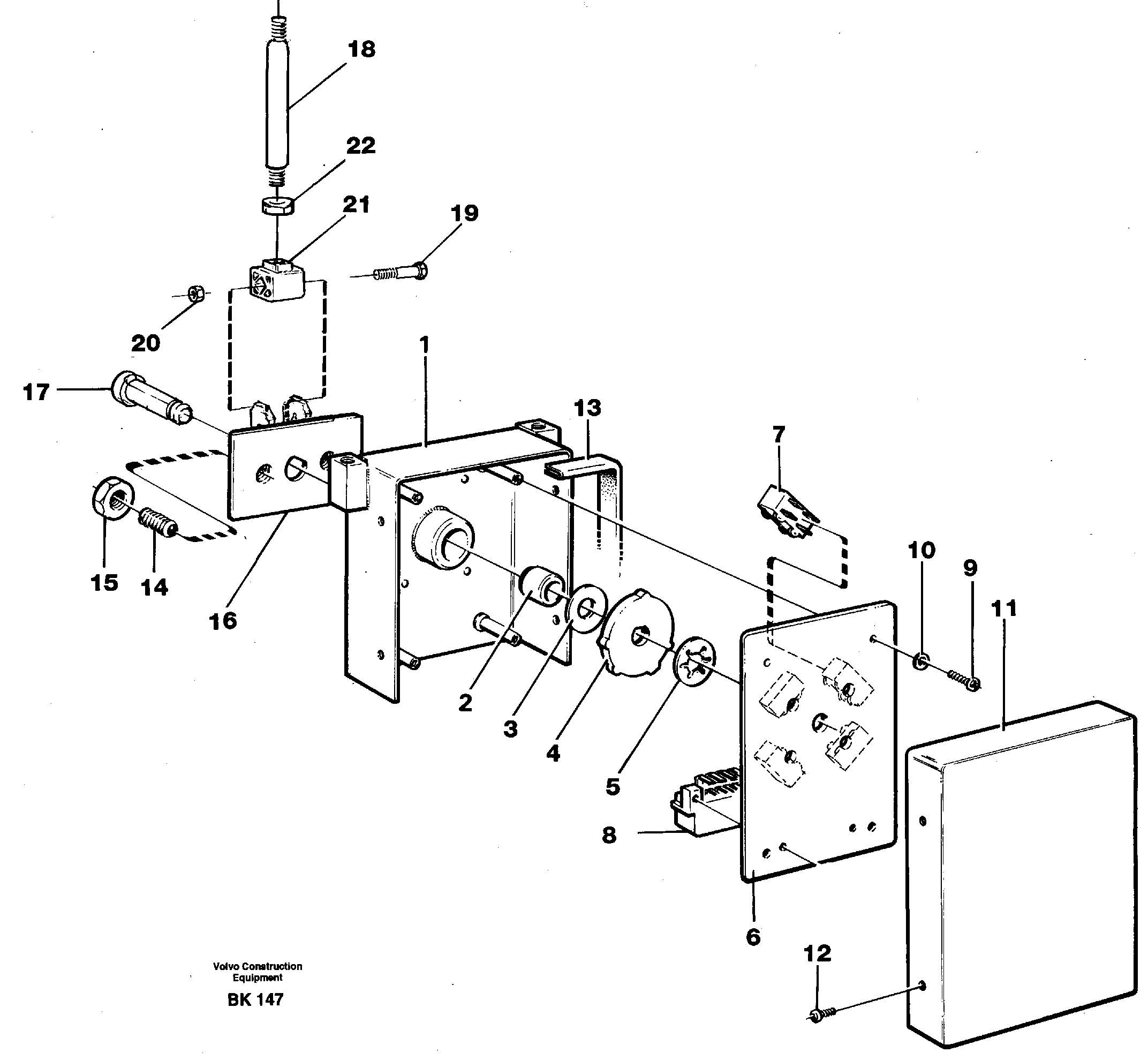
Запчасти Volvo A35C 85778 Gear selector A35C VOLVO BM VOLVO BM A35C SER NO - 4620

Схема запчастей Volvo A35C - 85778 Gear selector A35C VOLVO BM VOLVO BM A35C SER NO - 4620
FIT
1:1
100%

Артикул

Название

Примечание

Количество

VOE 11058249

Gear selector

1шт.

10

VOE 942603

Toothed washer

1шт.

10

VOE 942603

Стопорная шайба (кольцо)

1шт.

12

VOE 955119

Cross recessed screw

1шт.

12

VOE 955119

Cross recessed screw

1шт.

13

VOE 782502

Profile

L=375MM

1шт.

14

VOE 11057529

Ball stud

1шт.

15

VOE 955793

Hexagon nut

1шт.

15

VOE 955793

Hexagon nut

1шт.

16

VOE 11058237

Кронштейн

1шт.

17

VOE 11058239

Палец

1шт.

18

VOE 11055851

11055851

1шт.

19

VOE 13965180

Screw

1шт.

19

VOE 13965180

Болт

1шт.

2

VOE 11057521

Втулка

1шт.

20

VOE 13945408

Гайка

1шт.

20

VOE 13945408

Гайка

1шт.

21

VOE 11055852

Демпфер

1шт.

22

VOE 971071

Hexagon nut

1шт.

22

VOE 971071

Hexagon nut

1шт.

3

VOE 11715867

Шайба

1шт.

4

VOE 11057522

Cam disc

1шт.

5

VOE 13945739

Тарелка клапана

1шт.

6

VOE 11057506

Ptd Circuit Bd

1шт.

8

VOE 11039083

Pin housing

1шт.

9

VOE 956060

Cross recessed screw

1шт.

9

VOE 956060

Cross recessed screw

1шт.

Выбрано товаров: 27