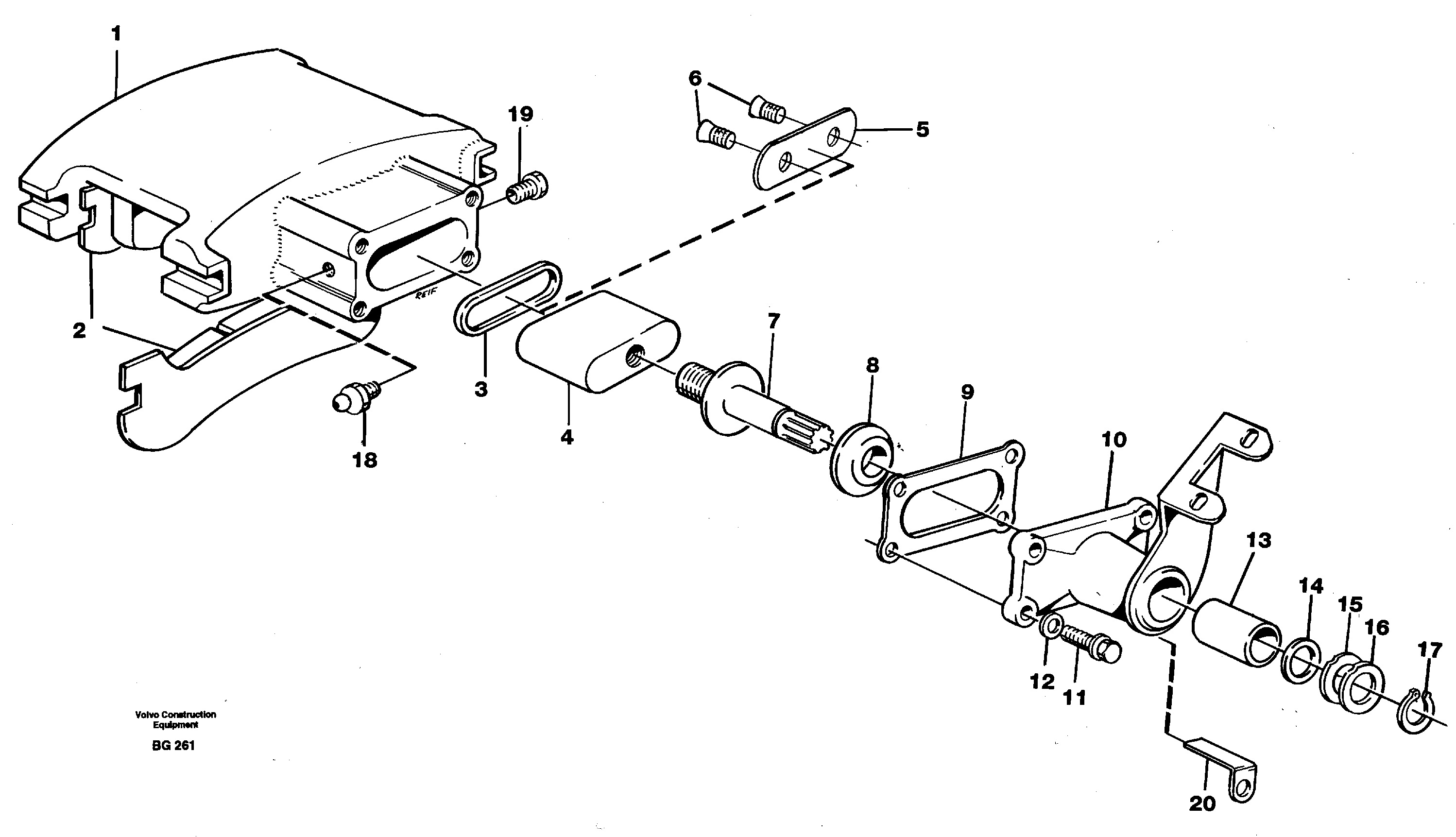
Запчасти Volvo A40 18138 Parking brake A40 VOLVO BM VOLVO BM A40 SER NO - 1151/- 60026

Схема запчастей Volvo A40 - 18138 Parking brake A40 VOLVO BM VOLVO BM A40 SER NO - 1151/- 60026
FIT
1:1
100%

Артикул

Название

Примечание

Количество

VOE 6212696

Ремкомплект

1шт.

VOE 11054759

Parking Brake

1шт.

10

VOE 11994402

Крышка

1шт.

11

VOE 6212690

Болт

1шт.

12

VOE 6212691

Шайба

1шт.

13

VOE 11991333

Втулка

1шт.

18

VOE 6212694

Lub Nipple

1шт.

19

VOE 6212695

Nipple

1шт.

2

VOE 11992515

Brake Lining Kit

1шт.

4

VOE 6212692

Поршень

1шт.

6

VOE 11700768

Болт

1шт.

7

VOE 6212693

Вал

1шт.

Выбрано товаров: 12