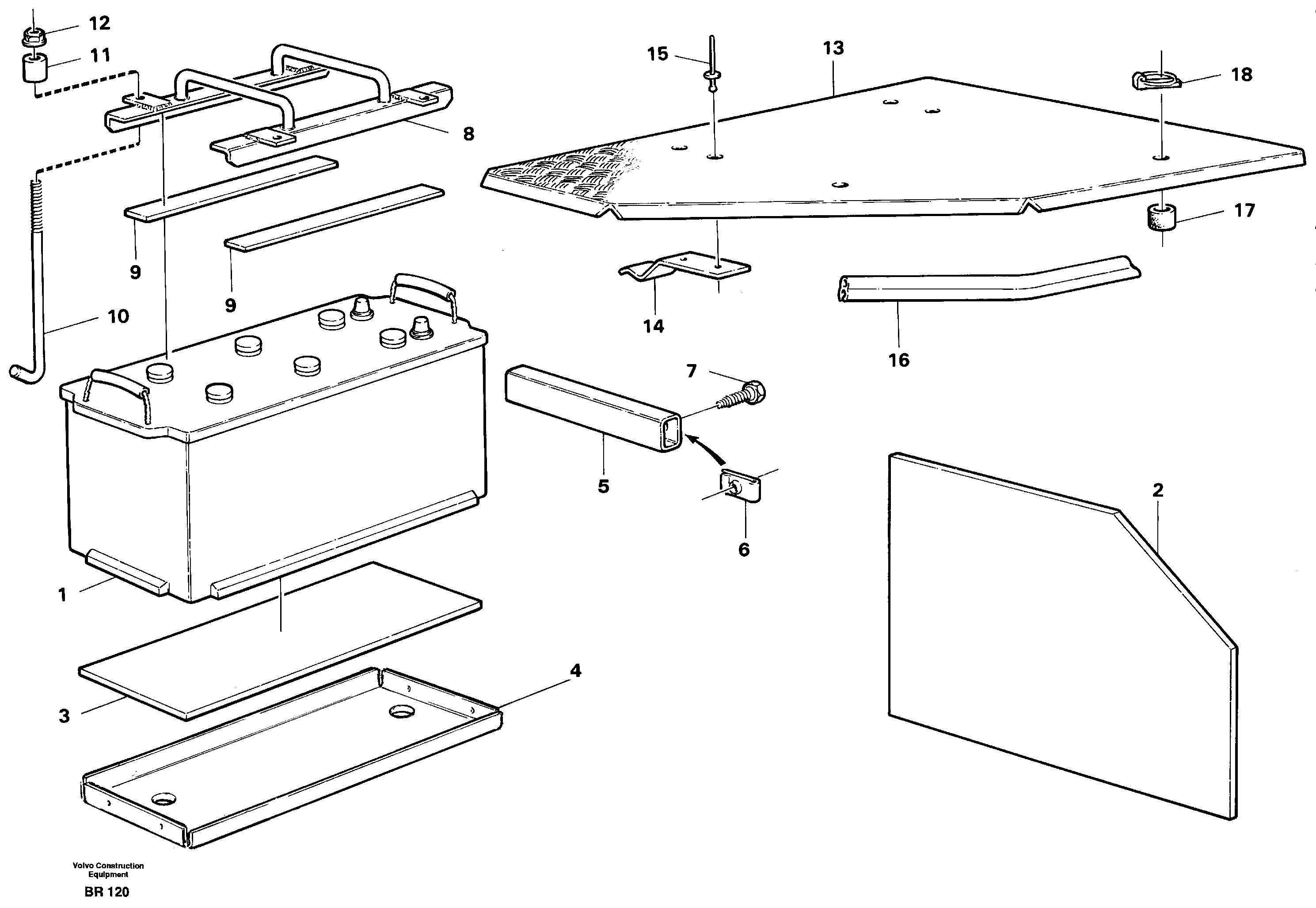
Запчасти Volvo A40 65923 Battery cover with fitting parts A40 SER NO 1201-, SER NO USA 60101-

Схема запчастей Volvo A40 - 65923 Battery cover with fitting parts A40 SER NO 1201-, SER NO USA 60101-
FIT
1:1
100%

Артикул

Название

Примечание

Количество

VOE 4946169

Frame

1шт.

VOE 11052926

Battery cover

1шт.

VOE 4822158

Moulding

L=23mm

1шт.

VOE 4786044

Прокладка стекла

L=800mm

1шт.

10

VOE 11057082

Hook

1шт.

11

VOE 4823458

Втулка (распорная)

1шт.

12

VOE 955782

Hexagon nut

1шт.

12

VOE 955782

Hexagon nut

1шт.

14

VOE 4943663

Retaining clamp

1шт.

15

VOE 1611695

Blind rivet

1шт.

15

VOE 1611695

Blind rivet

1шт.

16

VOE 4786044

Прокладка стекла

L=2800mm

1шт.

17

VOE 4822158

Moulding

L=23mm

1шт.

18

VOE 6619405

Lock

1шт.

18

VOE 6619405

Lock

1шт.

2

VOE 4943677

Insulation

1шт.

3

VOE 4943655

Проставка резиновая (между колес)

1шт.

4

VOE 11050649

Battery box

1шт.

6

VOE 946418

Spring nut

1шт.

6

VOE 946418

Spring nut

1шт.

7

VOE 190364

Винт шестигранник

1шт.

7

VOE 190364

Винт шестигранник

1шт.

9

VOE 4946168

Rubber moulding

1шт.

Выбрано товаров: 23