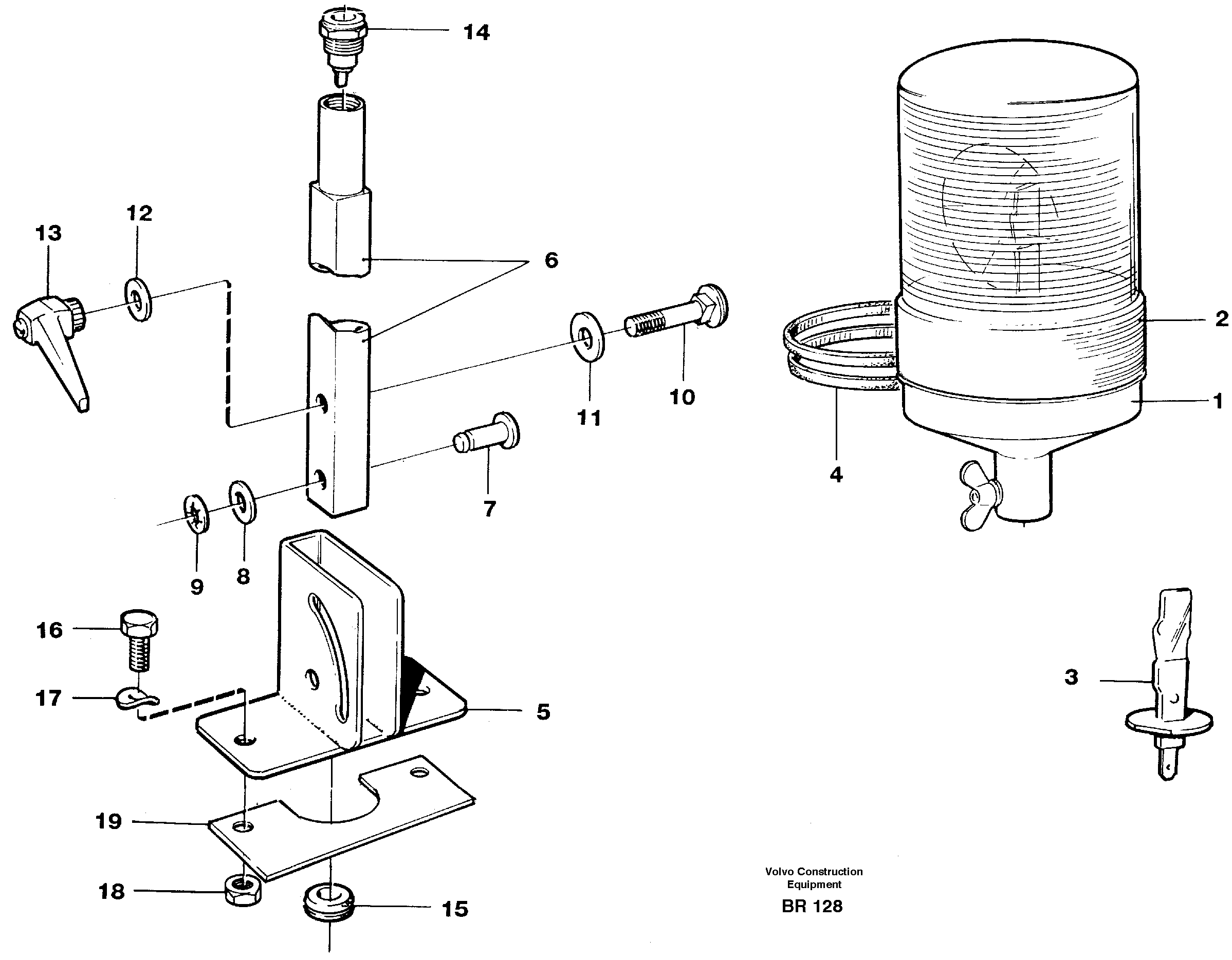
Запчасти Volvo A40 36593 Rotating beacon A40 SER NO 1201-, SER NO USA 60101-

Схема запчастей Volvo A40 - 36593 Rotating beacon A40 SER NO 1201-, SER NO USA 60101-
FIT
1:1
100%

Артикул

Название

Примечание

Количество

1

VOE 11039255

Rotating beacon

1шт.

10

VOE 13965668

Болт

1шт.

10

VOE 13965668

Болт

1шт.

11

VOE 955899

Шайба

1шт.

11

VOE 955899

Шайба

1шт.

12

VOE 976945

Шайба

1шт.

12

VOE 976945

Шайба

1шт.

13

VOE 11999031

Lock handle

1шт.

13

VOE 11999031

Lock handle

1шт.

14

VOE 331232

Socket

1шт.

14

VOE 331232

Socket

1шт.

15

VOE 941269

Пробка (заглушка)

1шт.

15

VOE 941269

Пробка (заглушка)

1шт.

16

VOE 946329

Flange screw

1шт.

16

VOE 946329

Flange screw

1шт.

17

VOE 13940109

Lock washer

1шт.

17

VOE 13940109

Стопорная шайба (кольцо)

1шт.

18

VOE 13971098

Flange nut

1шт.

18

VOE 13971098

Flange nut

1шт.

19

VOE 11058129

11058129

1шт.

2

VOE 11994483

Lens

1шт.

2

VOE 11994483

Lens

1шт.

3

VOE 943904

Bulb

24V/70W

1шт.

3

VOE 943904

Bulb

24V/70W

1шт.

4

VOE 11994484

Drive belt

1шт.

4

VOE 11994484

Drive belt

1шт.

5

VOE 4943145

Anchorage

1шт.

6

VOE 11058128

11058128

1шт.

7

VOE 13964860

Болт

1шт.

7

VOE 13964860

Clevis pin

1шт.

8

VOE 976945

Шайба

1шт.

8

VOE 976945

Шайба

1шт.

9

VOE 945719

Тарелка клапана

1шт.

Выбрано товаров: 33