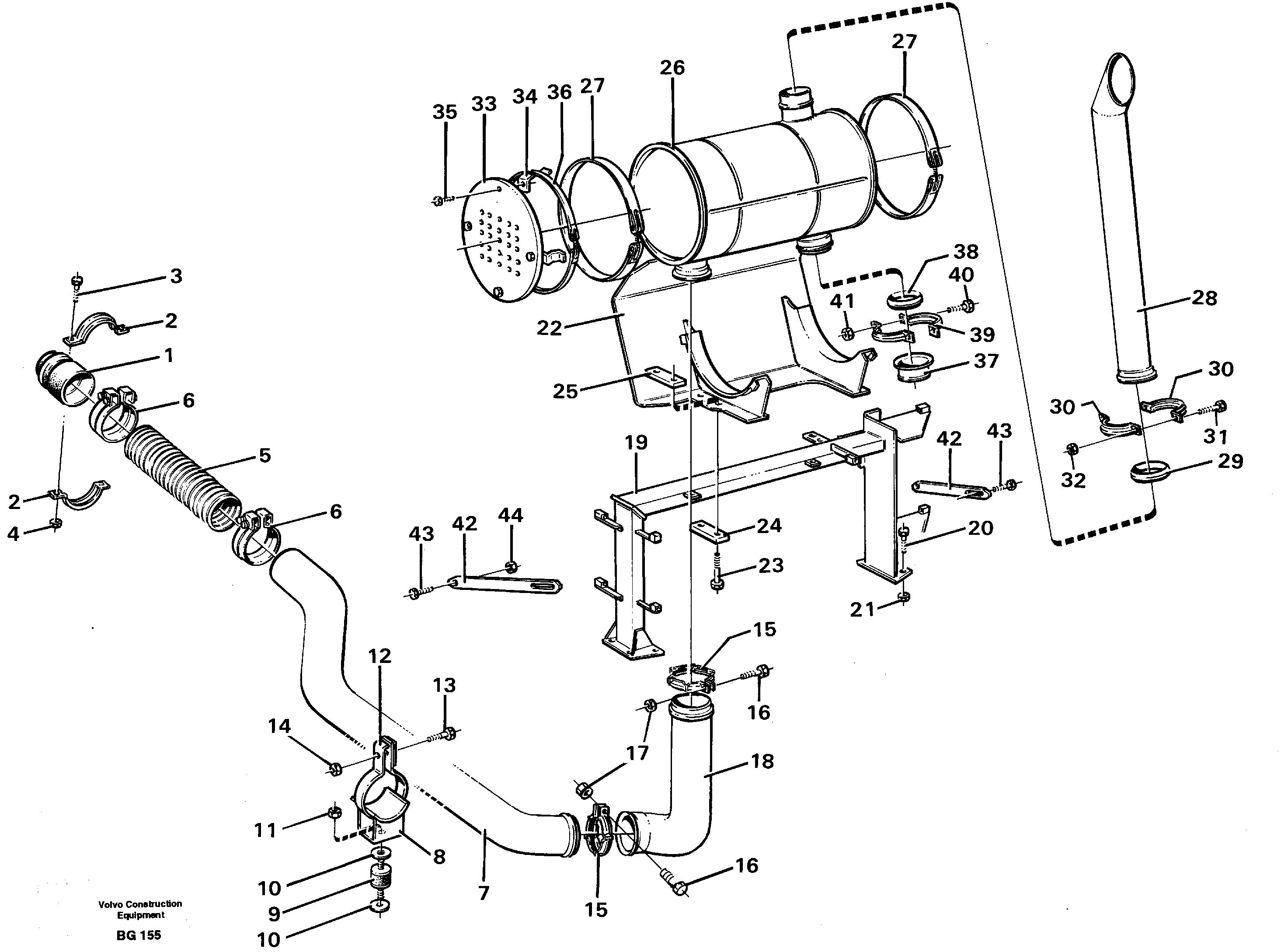
Запчасти Volvo A40 82751 Exhaust system, silencer A40 VOLVO BM VOLVO BM A40 SER NO - 1151/- 60026

Схема запчастей Volvo A40 - 82751 Exhaust system, silencer A40 VOLVO BM VOLVO BM A40 SER NO - 1151/- 60026
FIT
1:1
100%

Артикул

Название

Примечание

Количество

VOE 11052168

Кронштейн

SER NO 1035 -

1шт.

1

VOE 11051109

Exhaust pipe

1шт.

10

VOE 11053667

Прокладка

1шт.

10

VOE 11053667

Прокладка

1шт.

11

VOE 13971096

Flange nut

1шт.

11

VOE 13971096

Flange nut

1шт.

12

VOE 942312

Зажим

1шт.

13

VOE 13965185

Screw

1шт.

13

VOE 13965185

Болт

1шт.

14

VOE 13971098

Flange nut

1шт.

14

VOE 13971098

Flange nut

1шт.

15

VOE 1629499

V-clamp

1шт.

16

VOE 13965185

Screw

1шт.

16

VOE 13965185

Болт

1шт.

17

VOE 13971098

Flange nut

1шт.

17

VOE 13971098

Flange nut

1шт.

18

VOE 11051111

Exhaust pipe

1шт.

19

VOE 11051832

11051832

SER NO - 1034

1шт.

2

VOE 11056190

Зажим

1шт.

2

VOE 11056190

Зажим

1шт.

20

VOE 13965192

Screw

1шт.

20

VOE 13965192

Болт

1шт.

21

VOE 971099

Flange lock nut

1шт.

21

VOE 971099

Flange lock nut

1шт.

22

VOE 11052492

11052492

1шт.

23

VOE 13965196

Болт

1шт.

23

VOE 13965196

Болт

1шт.

24

VOE 11056036

11056036

1шт.

25

VOE 11056037

Thread plate

1шт.

26

VOE 11033839

Silencer

1шт.

27

VOE 11050442

Зажим

1шт.

28

VOE 11060096

Трубка

1шт.

29

VOE 1577704

Кольцо уплотнительное

1шт.

3

VOE 13965179

Болт

1шт.

3

VOE 13965179

Screw

1шт.

30

VOE 11056190

Зажим

1шт.

30

VOE 11056190

Зажим

1шт.

31

VOE 13965179

Болт

1шт.

31

VOE 13965179

Screw

1шт.

32

VOE 13945408

Гайка

1шт.

32

VOE 13945408

Гайка

1шт.

33

VOE 1605164

Protecting plate

1шт.

34

VOE 11054481

Anchorage

1шт.

35

VOE 13946173

Screw

1шт.

35

VOE 13946173

Болт

1шт.

36

VOE 11050442

Зажим

1шт.

37

VOE 11060999

Крышка

1шт.

37

VOE 11060999

Cover

1шт.

38

VOE 1577704

Кольцо уплотнительное

1шт.

39

VOE 11056190

Зажим

1шт.

39

VOE 11056190

Зажим

1шт.

4

VOE 13945408

Гайка

1шт.

4

VOE 13945408

Гайка

1шт.

40

VOE 13965179

Болт

1шт.

40

VOE 13965179

Screw

1шт.

41

VOE 13945408

Гайка

1шт.

41

VOE 13945408

Гайка

1шт.

42

VOE 11051831

Опора

1шт.

43

VOE 13965185

Screw

1шт.

43

VOE 13965185

Болт

1шт.

44

VOE 13971098

Flange nut

1шт.

44

VOE 13971098

Flange nut

1шт.

5

VOE 11051132

Exhaust pipe

1шт.

6

VOE 8156156

Зажим

1шт.

7

VOE 11051108

Трубка

1шт.

8

VOE 11051121

Anchorage

1шт.

9

VOE 11110276

Rubber cushion

1шт.

9

VOE 11110276

Rubber cushion

1шт.

Выбрано товаров: 68