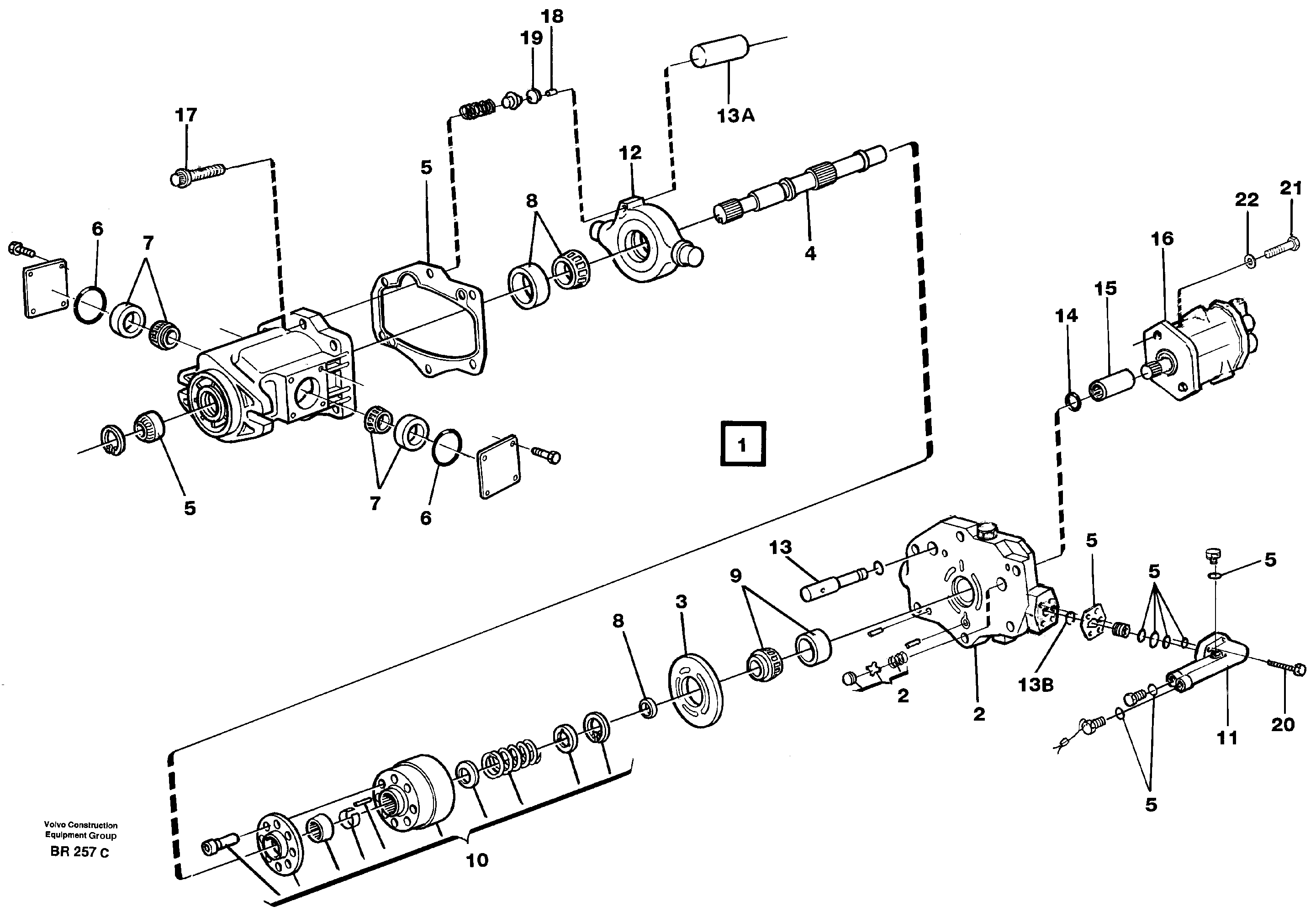
Запчасти Volvo A40 34289 Гидронасос (основной насос) A40 SER NO 1201-, SER NO USA 60101-

Схема запчастей Volvo A40 - 34289 Гидронасос (основной насос) A40 SER NO 1201-, SER NO USA 60101-
FIT
1:1
100%

Артикул

Название

Примечание

Количество

VOE 11704168

Ремкоплект поршня

1шт.

1

VOE 11062006

Гидронасос (основной насос)

1шт.

10

VOE 6211663

Rotor kit

1шт.

10

VOE 6211663

Rotor kit

1шт.

11

VOE 11709109

Compensator

1шт.

12

VOE 11996298

Вилка

1шт.

12

VOE 11996298

Вилка

1шт.

13

VOE 11703962

Шток поршня

1шт.

14

VOE 11702922

Кольцо уплотнительное (О-кольцо)

1шт.

15

VOE 11994502

Companion flange

1шт.

15

VOE 11994502

Companion flange

1шт.

16

VOE 11701258

Piston pump

1шт.

17

VOE 4075848

Болт

1шт.

18

VOE 11704415

11704415

1шт.

19

VOE 11704416

Ball Seat

1шт.

2

VOE 11701255

End plate

1шт.

20

VOE 13956545

Болт

1шт.

20

VOE 13956545

Болт

1шт.

21

VOE 13940115

Болт

1шт.

21

VOE 13940115

Болт

1шт.

22

VOE 11996294

Шайба

1шт.

22

VOE 11996294

Шайба

1шт.

3

VOE 11993521

11993521

1шт.

4

VOE 11994501

Вал

1шт.

4

VOE 11994501

Вал

1шт.

5

VOE 6211660

Sealing kit

1шт.

5

VOE 6211660

Sealing kit

1шт.

6

VOE 11994504

Кольцо уплотнительное (О-кольцо)

1шт.

6

VOE 11994504

Кольцо уплотнительное (О-кольцо)

1шт.

7

VOE 6213378

Подшипник

1шт.

7

VOE 6213378

Roller bearing

1шт.

8

VOE 6211662

Комплект подшипника

1шт.

8

VOE 6211662

Комплект подшипника

1шт.

9

VOE 11994186

Комплект подшипника

1шт.

9

VOE 11994186

Комплект подшипника

1шт.

Выбрано товаров: 0