Запчасти Volvo A40D 90841 Heat exchanger

Схема запчастей Volvo A40D - 90841 Heat exchanger
FIT
1:1
100%

Артикул

Название

Примечание

Количество

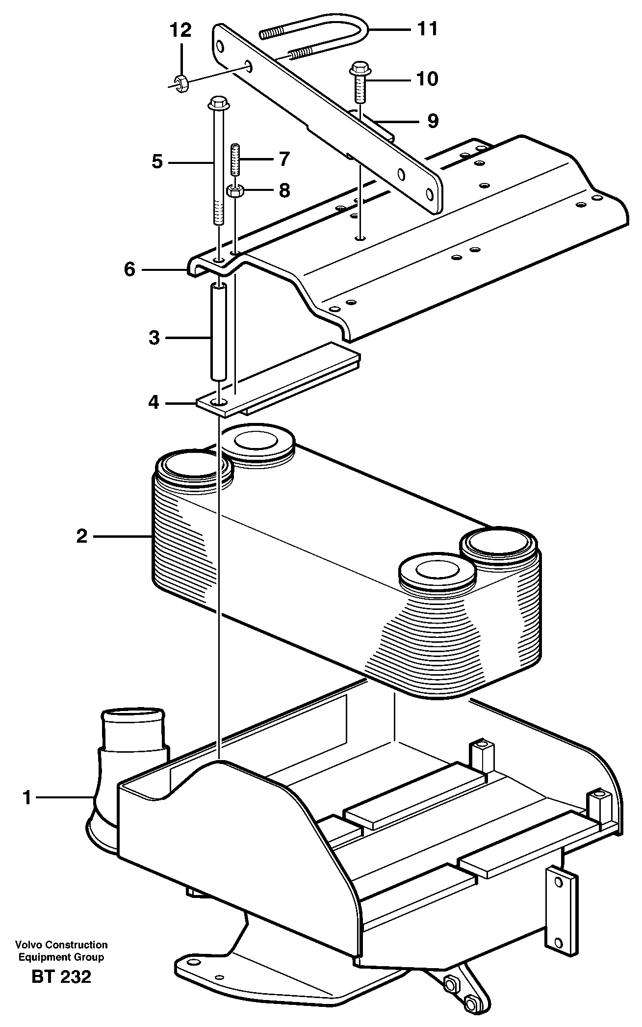
1

VOE 11115090

Кронштейн

1шт.

10

VOE 13946173

Screw

1шт.

10

VOE 13946173

Болт

1шт.

11

VOE 11114398

Brace

1шт.

12

VOE 13945408

Гайка

1шт.

12

VOE 13945408

Гайка

1шт.

2

VOE 11033628

Heat exchanger

1шт.

2

VOE 11033628

Heat exchanger

1шт.

3

VOE 11056505

Spacer sleeve

1шт.

3

VOE 11056505

Spacer sleeve

1шт.

4

VOE 11113604

Tensioning plate

1шт.

4

VOE 11113604

Tensioning plate

1шт.

5

VOE 968893

Flange screw

1шт.

5

VOE 968893

Flange screw

1шт.

6

VOE 11113601

Tensioning plate

1шт.

7

VOE 962939

установочный винт

1шт.

7

VOE 962939

установочный винт

1шт.

8

VOE 955782

Hexagon nut

1шт.

8

VOE 955782

Hexagon nut

1шт.

9

VOE 11114395

Пластина

1шт.

Выбрано товаров: 20