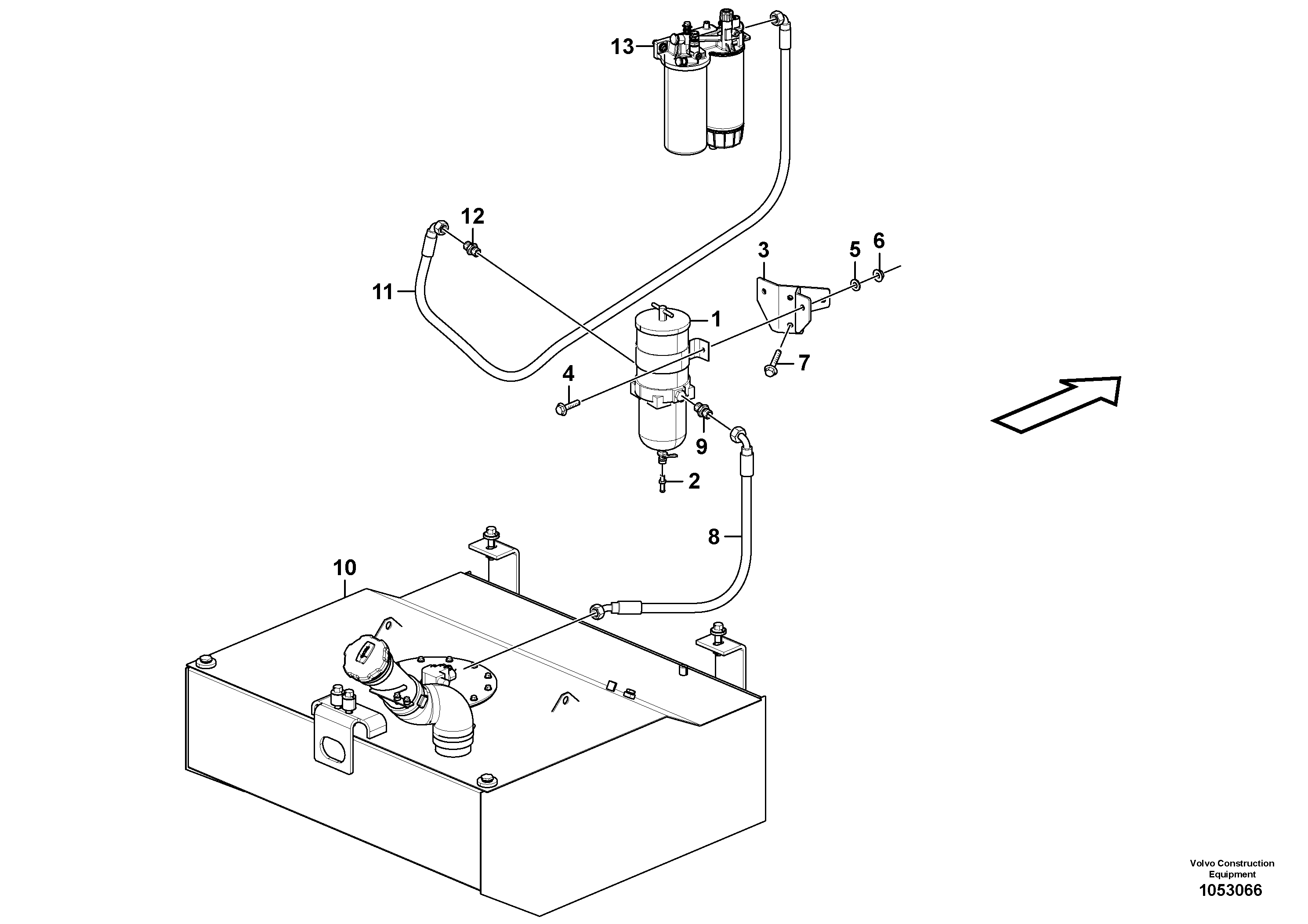
Запчасти Volvo A40E FS FULL SUSPENSION 70312 Fuel filter with fitting parts

Схема запчастей Volvo A40E FS FULL SUSPENSION - 70312 Fuel filter with fitting parts
FIT
1:1
100%

Артикул

Название

Примечание

Количество

11

VOE 11172036

Шланг топливный

1шт.

12

VOE 943299

Nipple

1шт.

2

VOE 980568

Elbow nipple

1шт.

2

VOE 980568

Elbow nipple

1шт.

3

VOE 15141956

Кронштейн

1шт.

4

VOE 946329

Flange screw

1шт.

4

VOE 946329

Flange screw

1шт.

5

VOE 976945

Шайба

1шт.

5

VOE 976945

Шайба

1шт.

6

VOE 13971098

Flange nut

1шт.

6

VOE 13971098

Flange nut

1шт.

7

VOE 13965186

Болт

1шт.

7

VOE 13965186

Screw

1шт.

8

VOE 11172036

Шланг топливный

1шт.

9

VOE 943299

Nipple

1шт.

Выбрано товаров: 0