Запчасти Volvo T450D 20200 Масляный радиатор

Схема запчастей Volvo T450D - 20200 Масляный радиатор
FIT
1:1
100%

Артикул

Название

Примечание

Количество

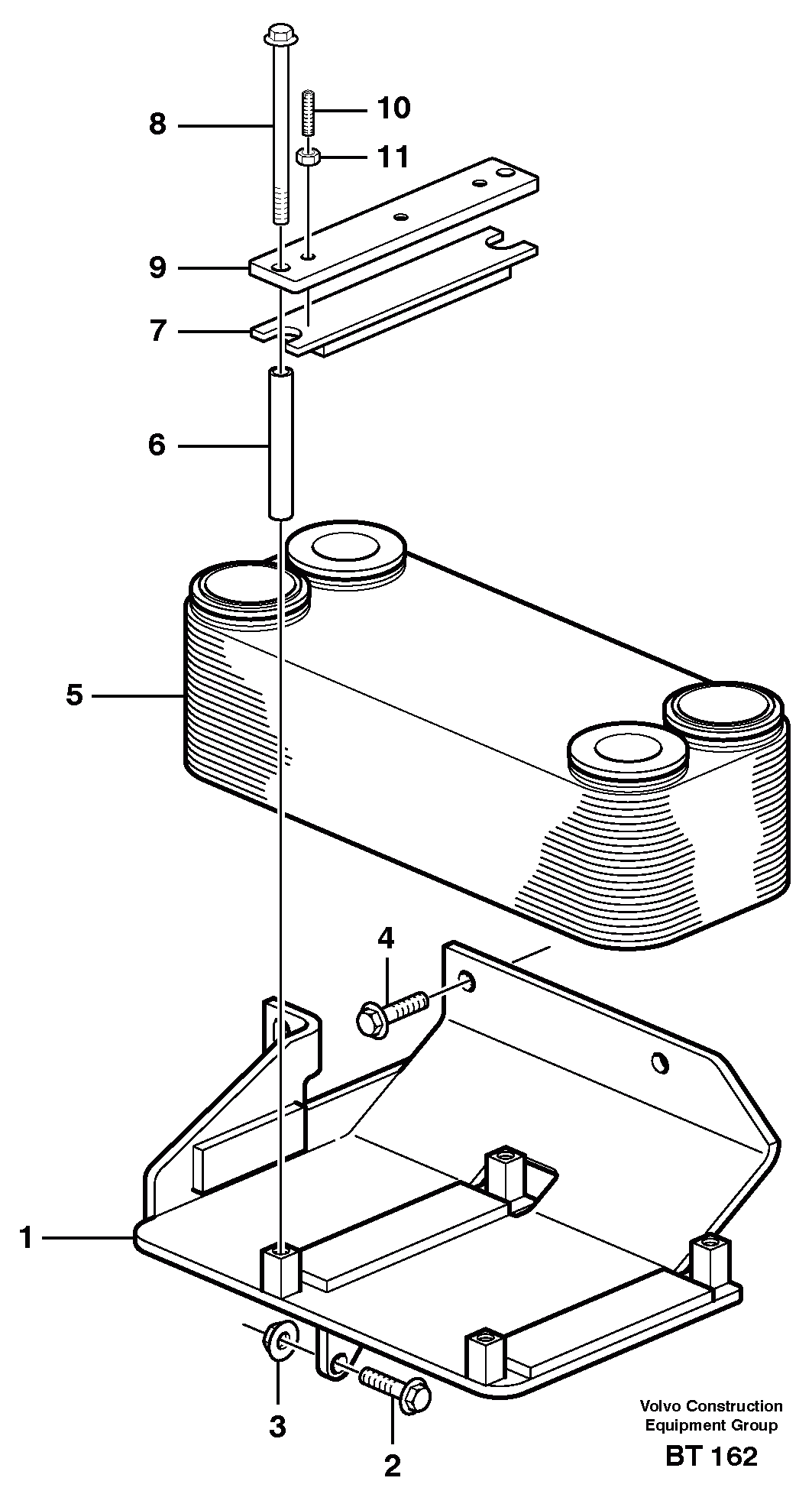
1

VOE 11113649

Кронштейн

1шт.

10

VOE 962939

установочный винт

1шт.

10

VOE 962939

установочный винт

1шт.

11

VOE 955782

Hexagon Nut

1шт.

11

VOE 955782

Hexagon Nut

1шт.

2

VOE 13965185

Flange screw

1шт.

2

VOE 13965185

Болт

1шт.

3

VOE 13971095

Flange nut

1шт.

3

VOE 13971095

Flange nut

1шт.

4

VOE 13965187

Flange screw

1шт.

4

VOE 13965187

Болт

1шт.

5

VOE 11033628

Heat Exchanger

1шт.

5

VOE 11033628

Heat Exchanger

1шт.

6

VOE 11056505

Spacer Sleeve

1шт.

6

VOE 11056505

Spacer Sleeve

1шт.

7

VOE 11056678

Tnsn Plate

1шт.

7

VOE 11056678

Tnsn Plate

1шт.

8

VOE 968893

Flange screw

1шт.

8

VOE 968893

Flange screw

1шт.

9

VOE 11056547

Flat bar

1шт.

9

VOE 11056547

Flat bar

1шт.

Выбрано товаров: 21