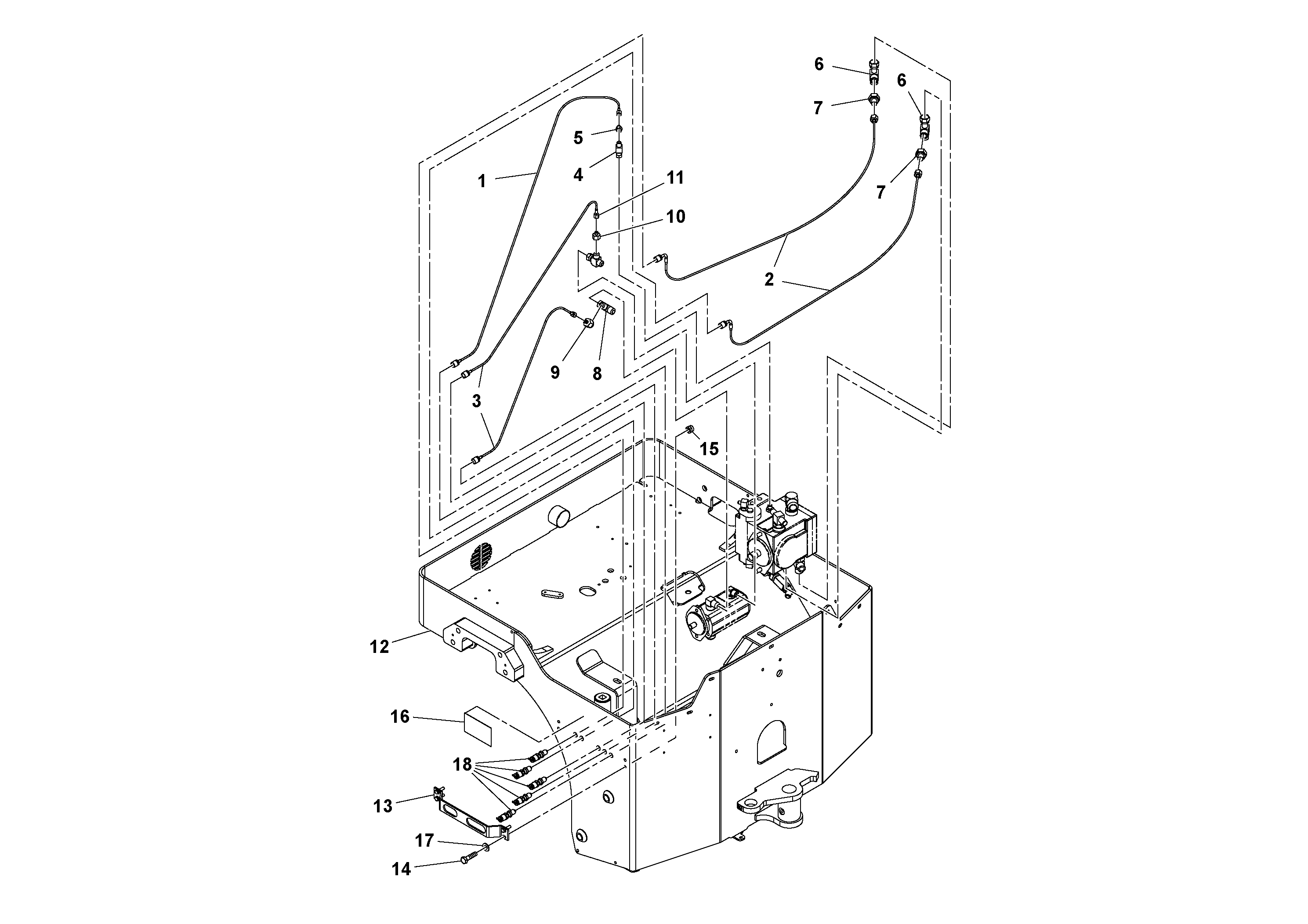
Запчасти Volvo CR24/CR30 S/N 197606 - 27439 Hydraulic Pressure check connection Installation

Схема запчастей Volvo CR24/CR30 S/N 197606 - - 27439 Hydraulic Pressure check connection Installation
FIT
1:1
100%

Артикул

Название

Примечание

Количество

1

RM 13161146

Hose assembly

CHARGE

1шт.

10

RM 95416731

Nipple

1шт.

10

RM 95416731

Nipple

1шт.

11

RM 59709162

Адаптер

1шт.

12

RM 13358585

Frame

1шт.

13

RM 13161047

Кронштейн

1шт.

14

RM 96705587

Винт шестигранник

1шт.

14

RM 96705587

Винт шестигранник

1шт.

15

RM 96704606

Lock nut

1шт.

15

RM 96704606

Lock nut

1шт.

16

RM 43945286

Decal

1шт.

17

RM 96741038

Шайба

1шт.

17

RM 96741038

Шайба

1шт.

18

RM 13161294

Фиттинг

1шт.

2

RM 13161112

Hose assembly

A & B PORT

1шт.

3

RM 13161161

Hose assembly

VIBRATION/STEERING

1шт.

4

RM 95415667

Swivel nipple

1шт.

5

RM 59742890

Reducer

1шт.

6

RM 59923805

Адаптер

1шт.

7

RM 59378620

Адаптер

1шт.

8

RM 95447645

T-nipple

1шт.

9

RM 54666409

Адаптер

1шт.

Выбрано товаров: 22