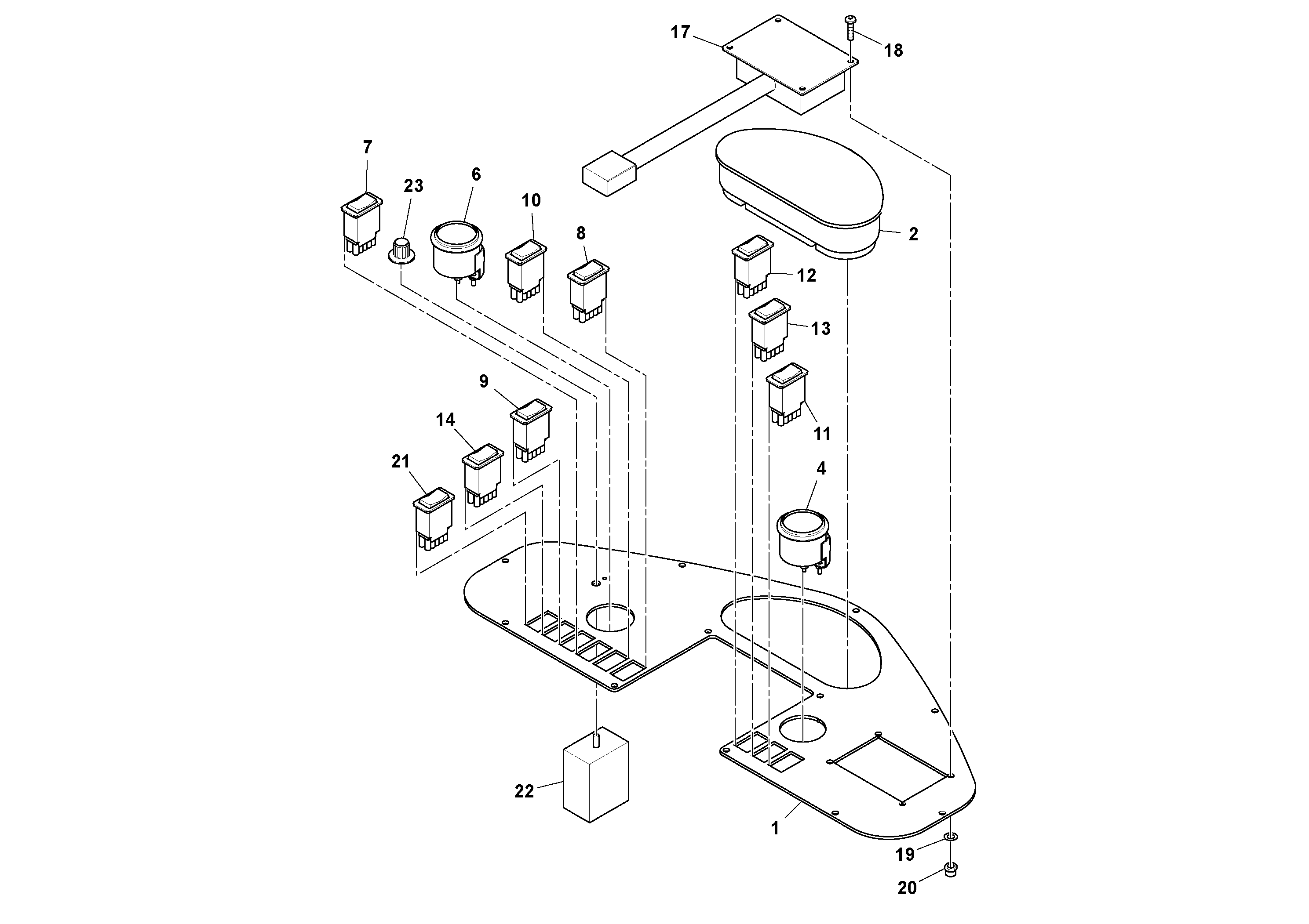
Запчасти Volvo DD112HF/DD118HF/HA/HFA S/N 197518 - 82016 Instrument Panel Assembly

Схема запчастей Volvo DD112HF/DD118HF/HA/HFA S/N 197518 - - 82016 Instrument Panel Assembly
FIT
1:1
100%

Артикул

Название

Примечание

Количество

RM 43845205

Control

S/N -194585

1шт.

RM 43936186

Instrument cluster

S/N -194585

1шт.

RM 13209218

Переключатель

S/N -194585

1шт.

RM 59778886

Knob

1шт.

RM 13406855

Переключатель

DD-118HF/HA ONLY

1шт.

1

RM 13355409

Instrument panel

1шт.

10

RM 13407192

Переключатель

DD-112HF ONLY

1шт.

11

RM 13316153

Переключатель

1шт.

12

RM 13406848

Contact

1шт.

13

RM 13234380

Переключатель

1шт.

14

RM 13209226

Переключатель

1шт.

17

RM 43944537

Indicator

1шт.

18

RM 13163795

Винт шестигранник (торцевой ключ)

1шт.

19

RM 96738554

Плоская шайба

1шт.

19

RM 96738554

Плоская шайба

1шт.

2

RM 43936194

Instrument cluster

S/N 194585-

1шт.

20

RM 96702865

Гайка

1шт.

21

RM 43889609

Переключатель

S/N 194585-

1шт.

22

RM 13316112

Potentiometer

S/N 194585-

1шт.

23

RM 59047019

Knob

S/N 194585-

1шт.

4

RM 59816736

Voltmeter

1шт.

6

RM 43931807

Oil pressure gauge kit

1шт.

7

RM 13406871

Переключатель

1шт.

8

RM 54666102

Переключатель

1шт.

9

RM 13209002

Переключатель

1шт.

Выбрано товаров: 25