Запчасти Volvo DD126HF S/N 53537 - 86090 Console Bearing Pack Assembly

Схема запчастей Volvo DD126HF S/N 53537 - - 86090 Console Bearing Pack Assembly
FIT
1:1
100%

Артикул

Название

Примечание

Количество

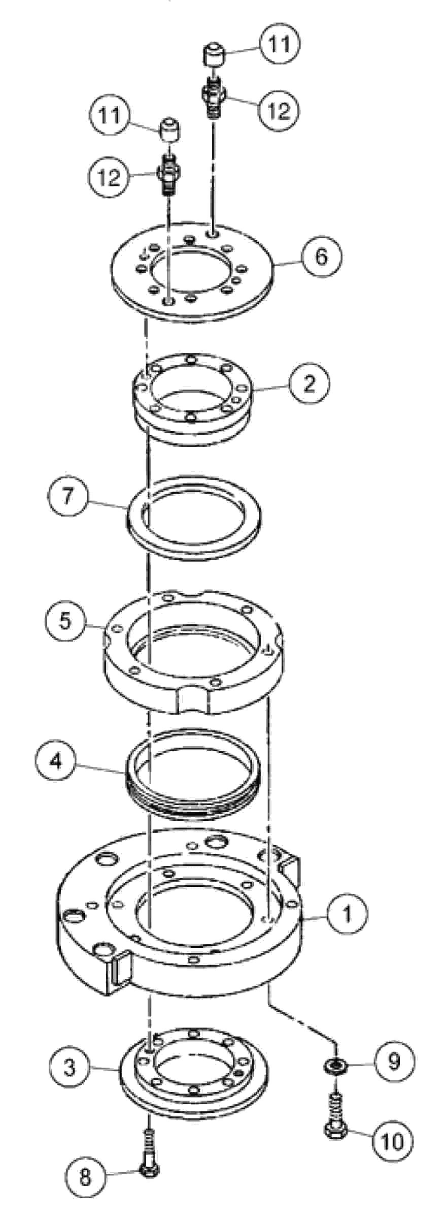
1

RM 59875013

Base plate

1шт.

10

RM 95919254

Винт шестигранник

1шт.

11

RM 95048088

Nipple

1шт.

12

RM 95680880

Адаптер

1шт.

2

RM 59028332

Inner race

1шт.

3

RM 59480889

Inner race

1шт.

4

RM 59800854

Bearing arrangement

1шт.

5

RM 59875047

Подшипник

1шт.

6

RM 59038182

Closure

1шт.

7

RM 59868778

V-ring

1шт.

8

RM 95920377

Винт шестигранник

1шт.

8

RM 95920377

Винт шестигранник

1шт.

9

RM 95922373

Плоская шайба

1шт.

9

RM 95922373

Плоская шайба

1шт.

Выбрано товаров: 0