Запчасти Volvo DD126HF S/N 53537 - 84063 Flex Tread Installation

Схема запчастей Volvo DD126HF S/N 53537 - - 84063 Flex Tread Installation
FIT
1:1
100%

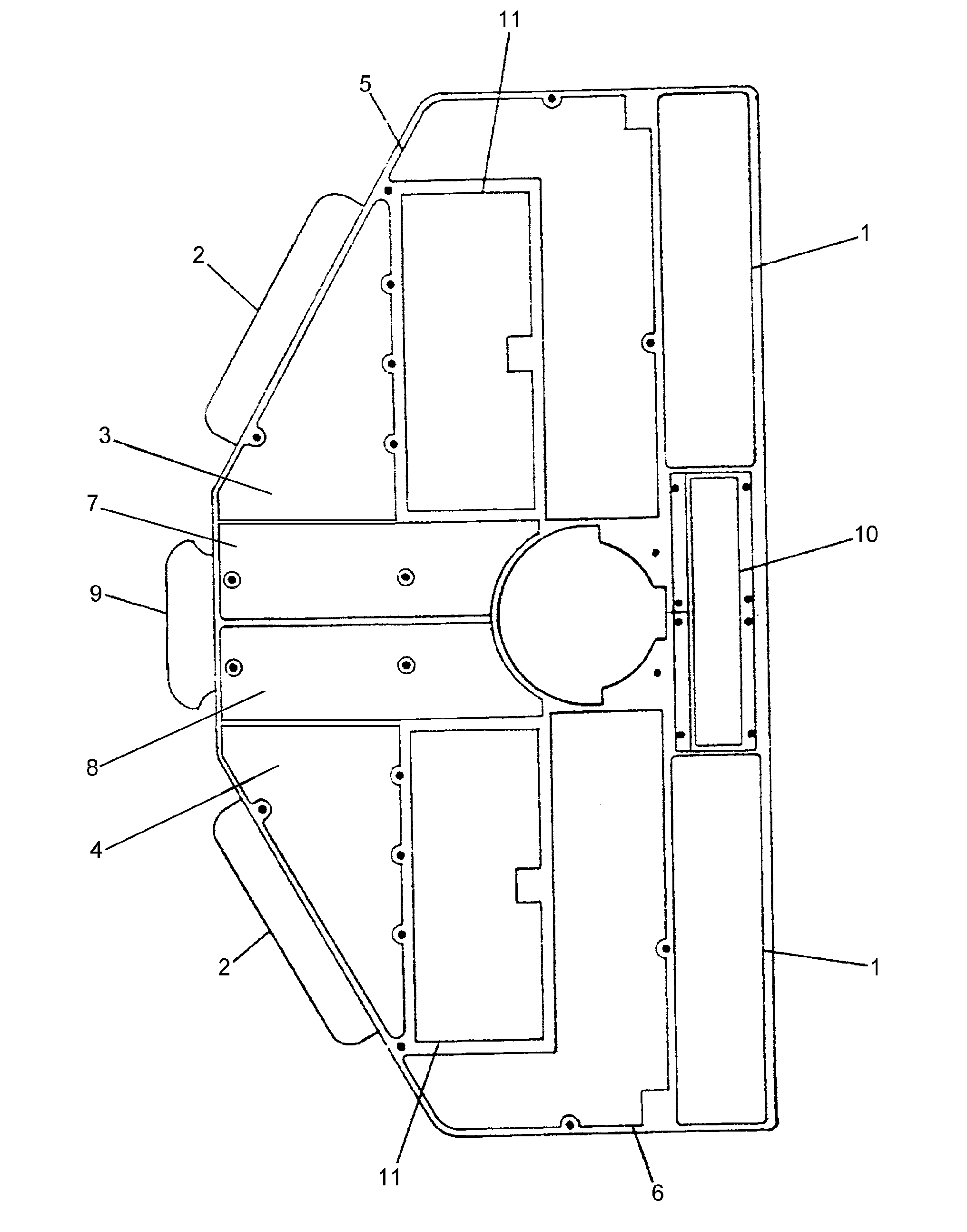
Артикул

Название

Примечание

Количество

59246496

59246496

1шт.

1

RM 59077867

Slip protection

Front

1шт.

10

RM 59012302

Slip protection

Front

1шт.

11

RM 59077784

Slip protection

1шт.

2

RM 59077859

Slip protection

Side

1шт.

3

RM 59246447

Flex-tread Left

LH

1шт.

4

RM 59246439

Flex-tread Righ

RH

1шт.

5

RM 59246488

Flex-tread Left

LH

1шт.

6

RM 59246470

Flex-tread Righ

RH

1шт.

7

RM 59246462

Flex-tread Seat

1шт.

8

RM 59246454

Flex-tread Seat

1шт.

9

RM 59012377

Slip protection

Center

1шт.

Выбрано товаров: 12