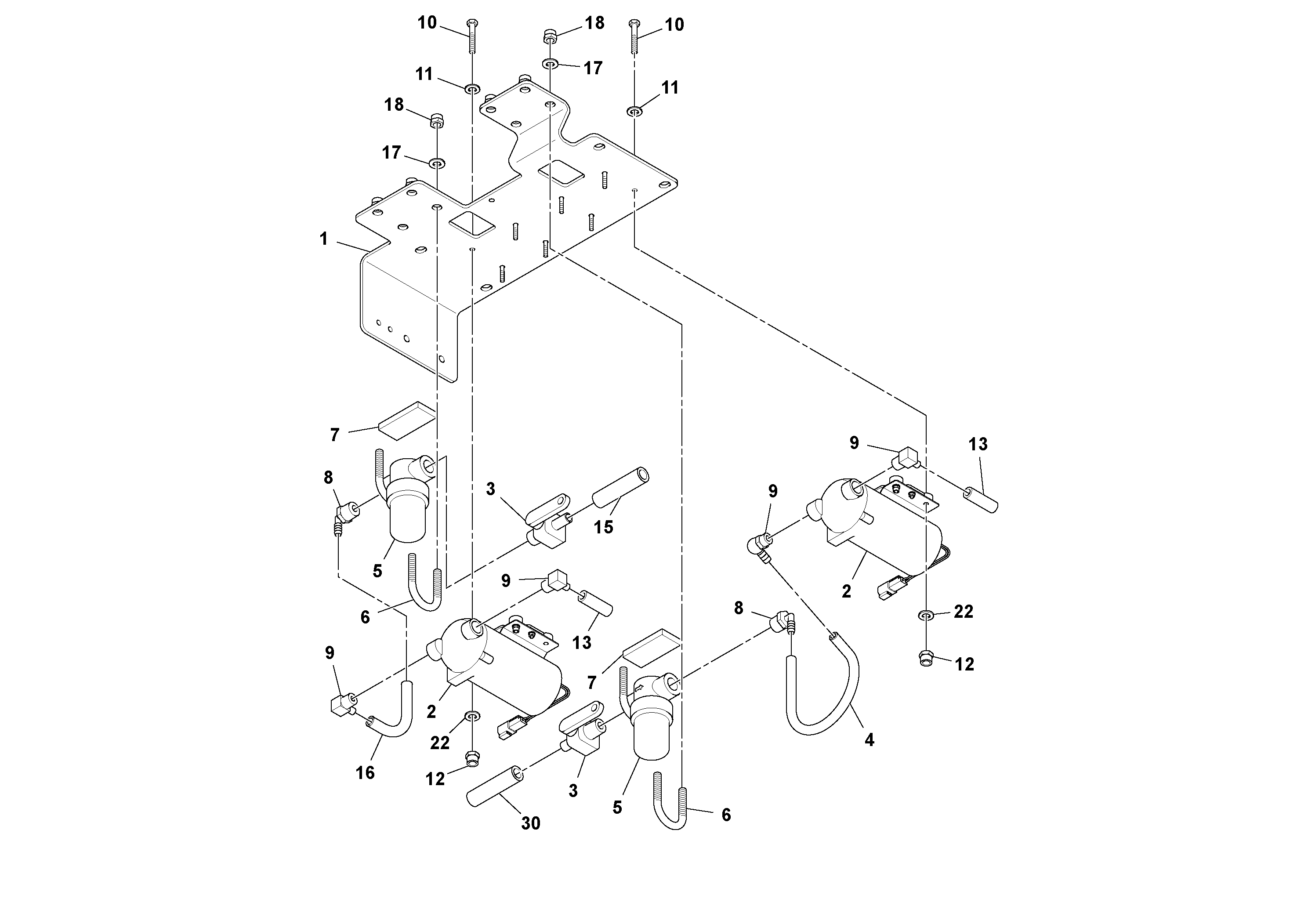
Запчасти Volvo DD132HF/DD138HF/HA/HFA S/N 197527- 12067 Pump and Water Hose Assembly

Схема запчастей Volvo DD132HF/DD138HF/HA/HFA S/N 197527- - 12067 Pump and Water Hose Assembly
FIT
1:1
100%

Артикул

Название

Примечание

Количество

1

RM 13501978

Mounting kit

1шт.

10

RM 96738315

Винт шестигранник

1шт.

11

RM 95922332

Плоская шайба

1шт.

11

RM 95922332

Плоская шайба

1шт.

12

RM 96704580

Lock nut

1шт.

12

RM 96704580

Lock nut

1шт.

13

RM 59162115

Hose assembly

1шт.

15

RM 58754136

Шланг

1шт.

16

RM 59586511

Шланг

1шт.

17

RM 96741046

Плоская шайба

1шт.

17

RM 96741046

Плоская шайба

1шт.

18

RM 96704614

Гайка

1шт.

18

RM 96704614

Гайка

1шт.

2

RM 13396973

Гидронасос (основной насос)

1шт.

22

RM 14083992

Шайба

1шт.

22

RM 14083992

Шайба

1шт.

3

RM 59044339

Ball valve

1шт.

30

RM 59640318

Hose assembly

1шт.

38

RM 96705157

Винт шестигранник

1шт.

39

RM 95373973

Locking wire

1шт.

39

RM 95373973

Locking wire

1шт.

4

RM 58785957

Шланг

1шт.

5

RM 59044321

Фильтр

1шт.

6

RM 59257899

U-образный болт (скоба, П образный) / хомут

1шт.

7

RM 59049254

Проставка резиновая (между колес)

1шт.

8

RM 59118240

Elbow

1шт.

8

RM 59118240

Elbow

1шт.

9

RM 59331926

Elbow

1шт.

9

RM 59331926

Elbow

1шт.

Выбрано товаров: 29