Запчасти Volvo DD132HF/DD138HF/HA/HFA S/N 197527- 81528 Instrument Panel Assembly

Схема запчастей Volvo DD132HF/DD138HF/HA/HFA S/N 197527- - 81528 Instrument Panel Assembly
FIT
1:1
100%

Артикул

Название

Примечание

Количество

RM 13406855

Переключатель

ECCENTRIC DIRECTION

1шт.

RM 13209218

Переключатель

S/N -194227

1шт.

RM 43845205

Control

S/N -194227

1шт.

RM 43936194

Instrument cluster

S/N 194227-

1шт.

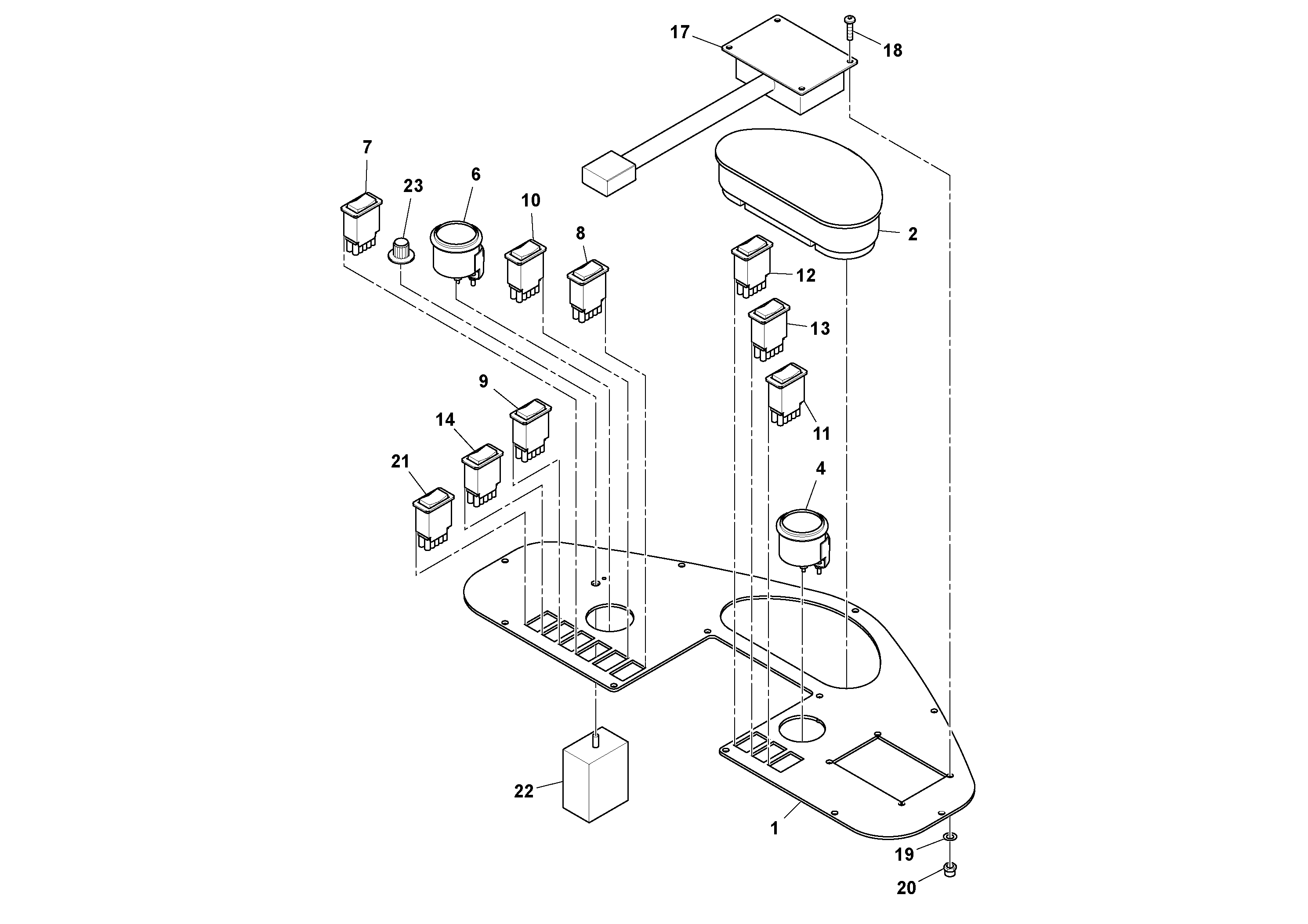
1

RM 13355409

Instrument panel

1шт.

10

RM 13407192

Переключатель

DD-132HF

1шт.

11

RM 13316153

Переключатель

ENGINE SPEED

1шт.

12

RM 13406848

Contact

PARKING BRAKE

1шт.

13

RM 13234380

Переключатель

TRAVEL SPEED

1шт.

14

RM 13209226

Переключатель

AUXILIARY WATER PUMP

1шт.

17

RM 43944537

Indicator

1шт.

18

RM 13163795

Винт шестигранник (торцевой ключ)

1шт.

19

RM 96738554

Плоская шайба

1шт.

19

RM 96738554

Плоская шайба

1шт.

2

RM 43936186

Instrument cluster

S/N -194227

1шт.

20

RM 96702865

Гайка

1шт.

21

RM 43889609

Переключатель

S/N 194227-

1шт.

22

RM 13316112

Potentiometer

S/N 194227-

1шт.

23

RM 59047019

Knob

(DD-138HF ONLY)

1шт.

4

RM 59816736

Voltmeter

1шт.

6

RM 43931807

Oil pressure gauge kit

1шт.

7

RM 13406871

Переключатель

DRUM SELECT F/R/BOTH

1шт.

8

RM 54666102

Переключатель

PARKING BRAKE TEST

1шт.

9

RM 13209002

Переключатель

DRUM VIBRATION MODE

1шт.

Выбрано товаров: 24