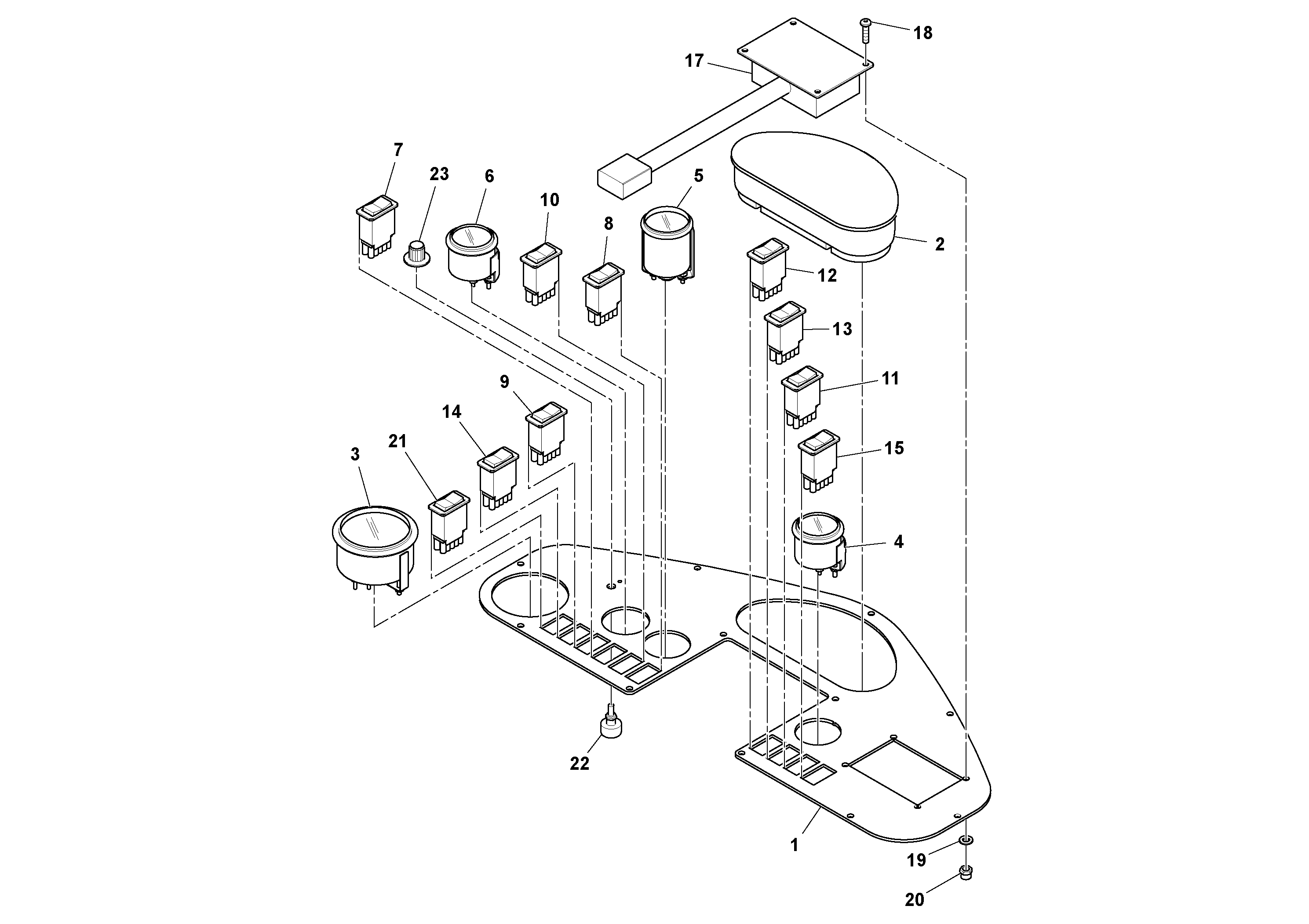
Запчасти Volvo DD132HF/DD138HF/HA/HFA S/N 197527- 82234 Instrument Panel Assembly

Схема запчастей Volvo DD132HF/DD138HF/HA/HFA S/N 197527- - 82234 Instrument Panel Assembly
FIT
1:1
100%

Артикул

Название

Примечание

Количество

RM 43936186

Instrument cluster

S/N -194880

1шт.

RM 58788928

Terminal

1шт.

RM 59366971

Terminal

1шт.

RM 59443929

Соединитель

1шт.

RM 13186259

Gauge

VPM METER

1шт.

1

RM 13350178

Instrument panel

1шт.

10

RM 13406855

Переключатель

ECCENTRIC DIRECTION

1шт.

11

RM 13316153

Переключатель

ENGINE SPEED

1шт.

12

RM 13406848

Contact

PARKING BRAKE

1шт.

13

RM 13234380

Переключатель

TRAVEL SPEED

1шт.

14

RM 13209226

Переключатель

AUXILIARY WATER PUMP

1шт.

15

RM 13197108

Переключатель

F/R WORKLIGHTS

1шт.

17

RM 43944537

Indicator

1шт.

18

RM 13163795

Винт шестигранник (торцевой ключ)

1шт.

19

RM 96738554

Плоская шайба

1шт.

19

RM 96738554

Плоская шайба

1шт.

2

RM 43936194

Instrument cluster

S/N 194880-

1шт.

20

RM 96702865

Гайка

1шт.

21

RM 13406863

Переключатель

MAIN WATER

1шт.

22

RM 13316112

Potentiometer

POTENTIOMETER W/

1шт.

23

RM 59047019

Knob

1шт.

3

RM 13351507

Speedometer

1шт.

5

RM 13186382

Gauge

1шт.

6

RM 43931807

Oil pressure gauge kit

1шт.

7

RM 13406871

Переключатель

DRUM SELECT F/R/BOTH

1шт.

8

RM 54666102

Переключатель

PARKING BRAKE TEST

1шт.

9

RM 13209002

Переключатель

DRUM VIBRATION MODE

1шт.

Выбрано товаров: 27