Качественные детали и логистика
Оригинальные и аналоговые запчасти с доставкой по России, Казахстану и Беларуси
©2022 PartSell ООО "Система" ИНН 2463123282 ОГРН 1212400004838
Центральный офис: г. Красноярск, Академика Киренского, д.87, пом.4
Телефон: 8 (800) 777-65-74 Email: zakaz@partsell.ru
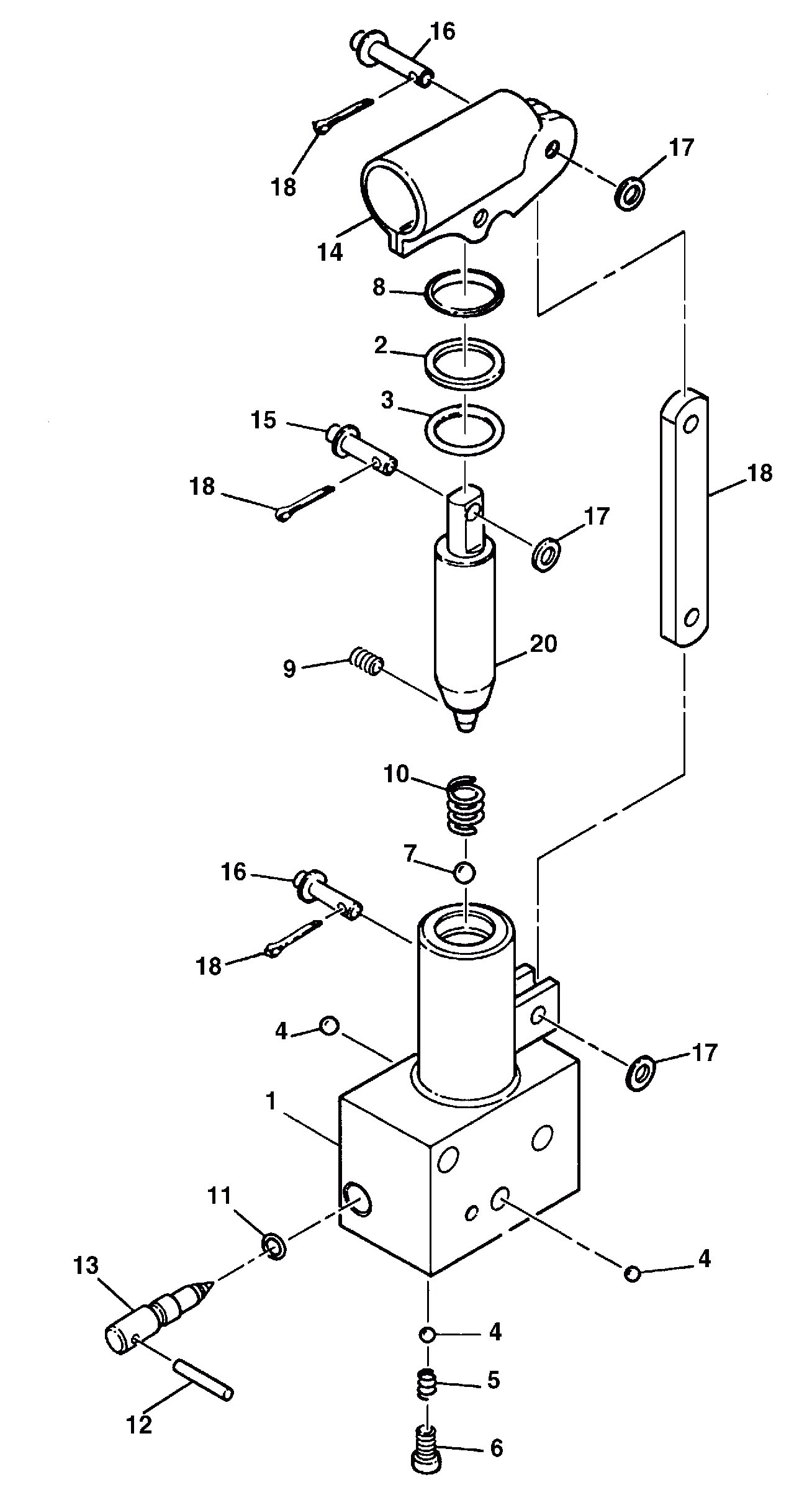
88550 Hand pump
№
Артикул
Название
Примечание
Количество
20
RM 59445312
Plunger
1шт.
21
RM 58942392
Ремкомплект
includes 2-11
22
RM 58942400
Valve kit
includes 11-13
23
RM 58942418
Service kit
includes 14-19
Выбрано товаров: 0