Запчасти Volvo DD146HF S/N 53539 - 90814 Водяной насос

Схема запчастей Volvo DD146HF S/N 53539 - - 90814 Водяной насос
FIT
1:1
100%

Артикул

Название

Примечание

Количество

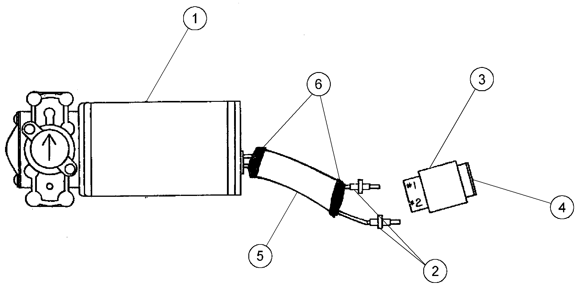
1

RM 43907963

Водяной насос

1шт.

2

RM 59436840

Contact pin

1шт.

3

RM 59436865

Receptacle

1шт.

4

RM 59436873

Wedge

1шт.

5

RM 59396366

Cable tube

1шт.

6

RM 95424586

Cable tie

1шт.

6

RM 95424586

Cable tie

1шт.

Выбрано товаров: 7