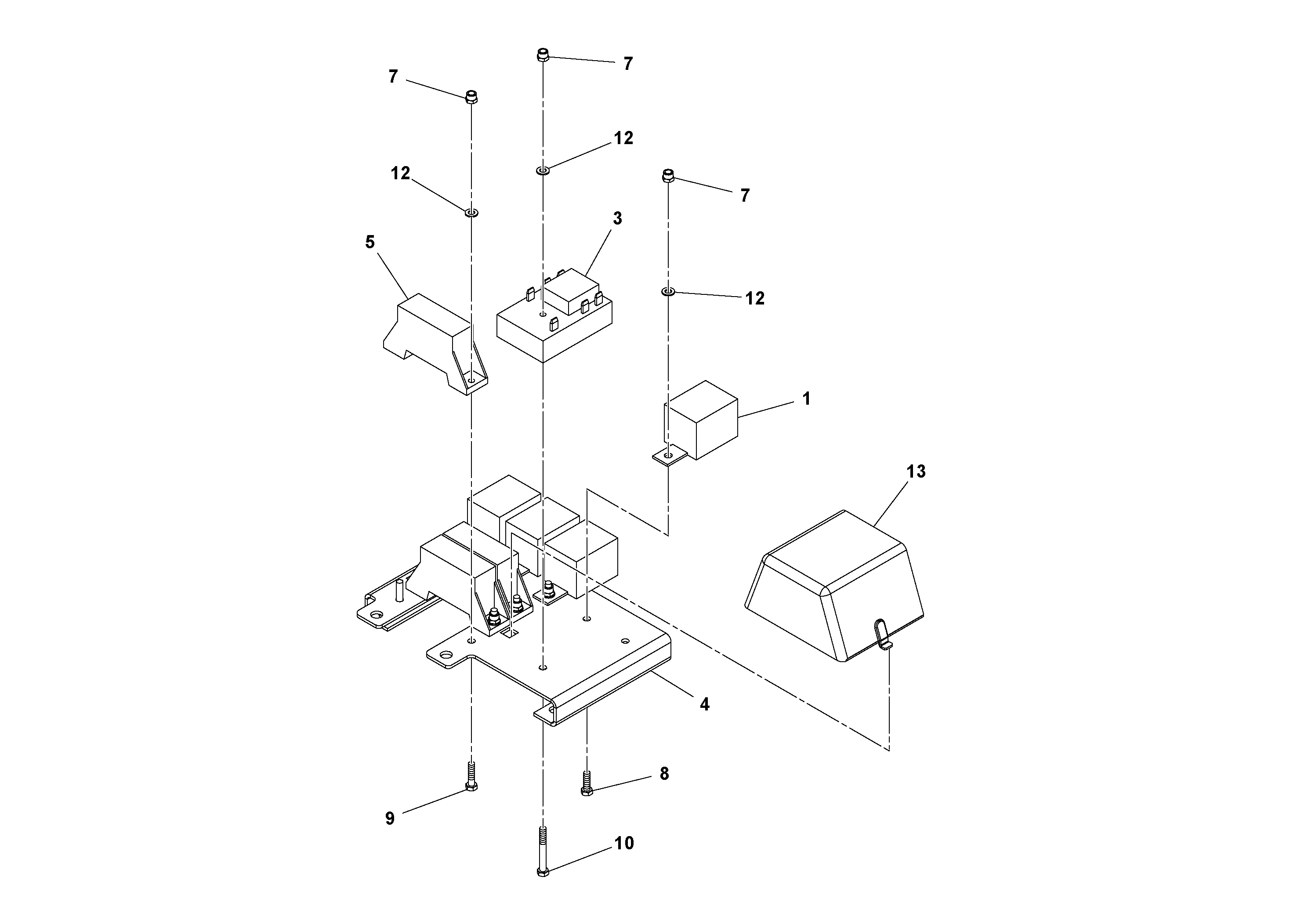
Запчасти Volvo DD14S/DD16 S/N 197600 - 82004 Fuse Plate Assembly

Схема запчастей Volvo DD14S/DD16 S/N 197600 - - 82004 Fuse Plate Assembly
FIT
1:1
100%

Артикул

Название

Примечание

Количество

RM 96702865

Гайка

S/N -197121, Including

1шт.

RM 96705728

Винт шестигранник

S/N -197121, Including

1шт.

RM 96705728

Винт шестигранник

S/N -197121, Including

1шт.

RM 13349923

Timer relay

1шт.

RM 96738554

Плоская шайба

S/N -197121, Including

1шт.

RM 96738554

Плоская шайба

S/N -197121, Including

1шт.

RM 58965377

Реле

S/N -197121, Including

1шт.

RM 58965377

Реле

S/N -197121, Including

1шт.

1

RM 58965377

Реле

S/N 197121-, Excluding

1шт.

1

RM 58965377

Реле

S/N 197121-, Excluding

1шт.

10

RM 96705751

Винт шестигранник

1шт.

12

RM 96738554

Плоская шайба

S/N 197121-, Excluding

1шт.

12

RM 96738554

Плоская шайба

S/N 197121-, Excluding

1шт.

13

RM 59274811

Крышка

1шт.

3

RM 13349055

Timer relay

1шт.

4

RM 13289475

Mounting plate

1шт.

5

RM 59434290

Fuse box

S/N 197121-, Excluding

1шт.

7

RM 96702865

Гайка

S/N 197121-, Excluding

1шт.

8

RM 96705728

Винт шестигранник

S/N 197121-, Excluding

1шт.

8

RM 96705728

Винт шестигранник

S/N 197121-, Excluding

1шт.

9

RM 96705736

Винт шестигранник

S/N 197121-, Excluding

1шт.

9

RM 96705736

Винт шестигранник

S/N 197121-, Excluding

1шт.

Выбрано товаров: 22