Запчасти Volvo DD14S/DD16 S/N 197600 - 73336 Propulsion Pump

Схема запчастей Volvo DD14S/DD16 S/N 197600 - - 73336 Propulsion Pump
FIT
1:1
100%

Артикул

Название

Примечание

Количество

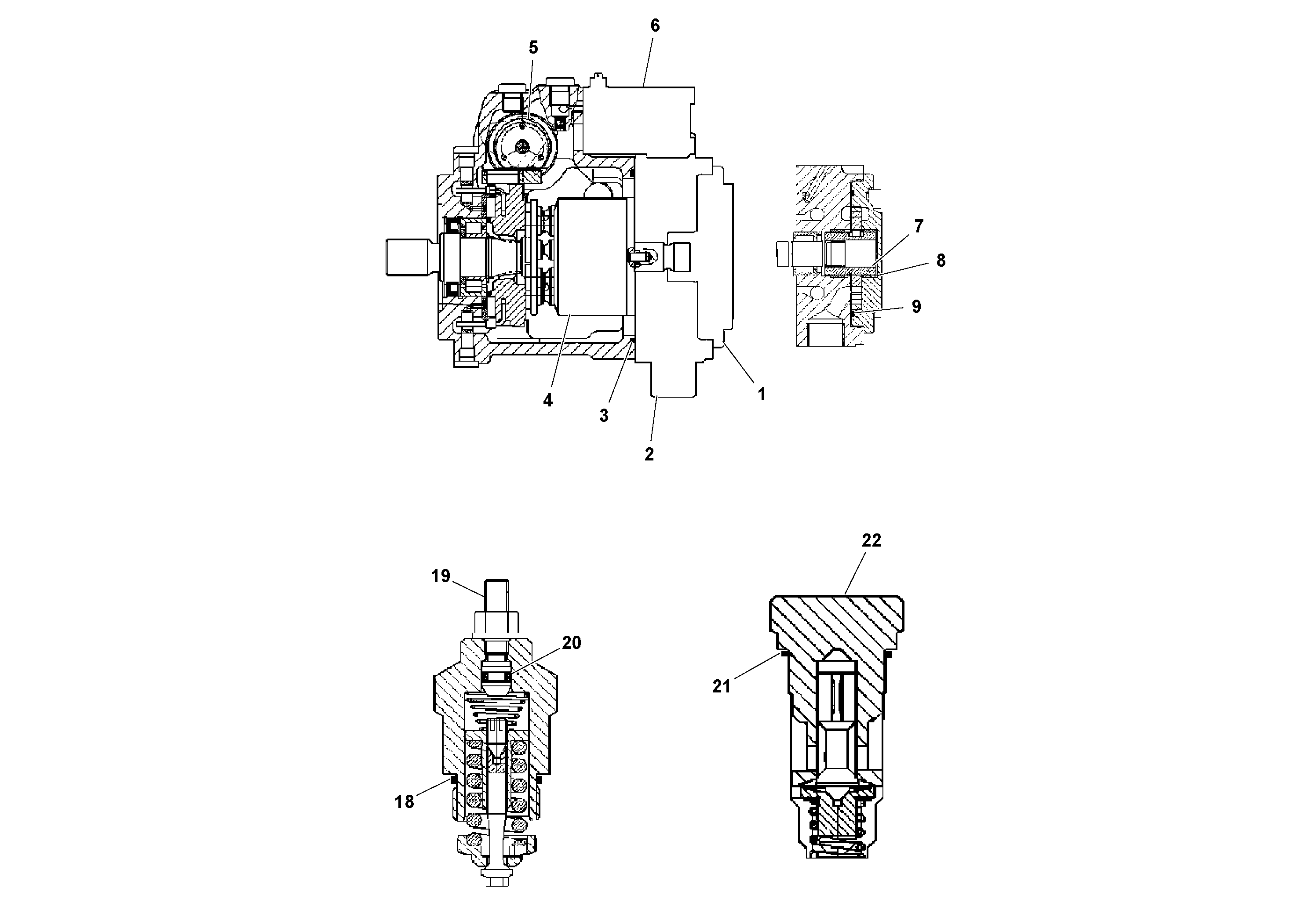
1

RM 13865852

Gear

1шт.

18

RM 54509641

Кольцо уплотнительное (О-кольцо)

1шт.

19

RM 54509625

Клапан предохранительный (разгрузочный, сброса давления)

1шт.

2

RM 13865860

Пластина

1шт.

20

RM 54509658

Кольцо уплотнительное (О-кольцо)

1шт.

21

RM 54509666

Кольцо уплотнительное (О-кольцо)

1шт.

22

RM 54509633

Клапан предохранительный (разгрузочный, сброса давления)

1шт.

3

RM 54509484

Кольцо уплотнительное (О-кольцо)

1шт.

4

RM 13865878

Small parts kit

1шт.

5

RM 13865886

Hydraulic control

1шт.

6

RM 13865894

Control unit

1шт.

7

RM 54509674

Stub

1шт.

8

RM 54509708

Bearing bushing

1шт.

9

RM 54509716

Кольцо уплотнительное (О-кольцо)

1шт.

Выбрано товаров: 14