Качественные детали и логистика
Оригинальные и аналоговые запчасти с доставкой по России, Казахстану и Беларуси
©2022 PartSell ООО "Система" ИНН 2463123282 ОГРН 1212400004838
Центральный офис: г. Красноярск, Академика Киренского, д.87, пом.4
Телефон: 8 (800) 777-65-74 Email: zakaz@partsell.ru
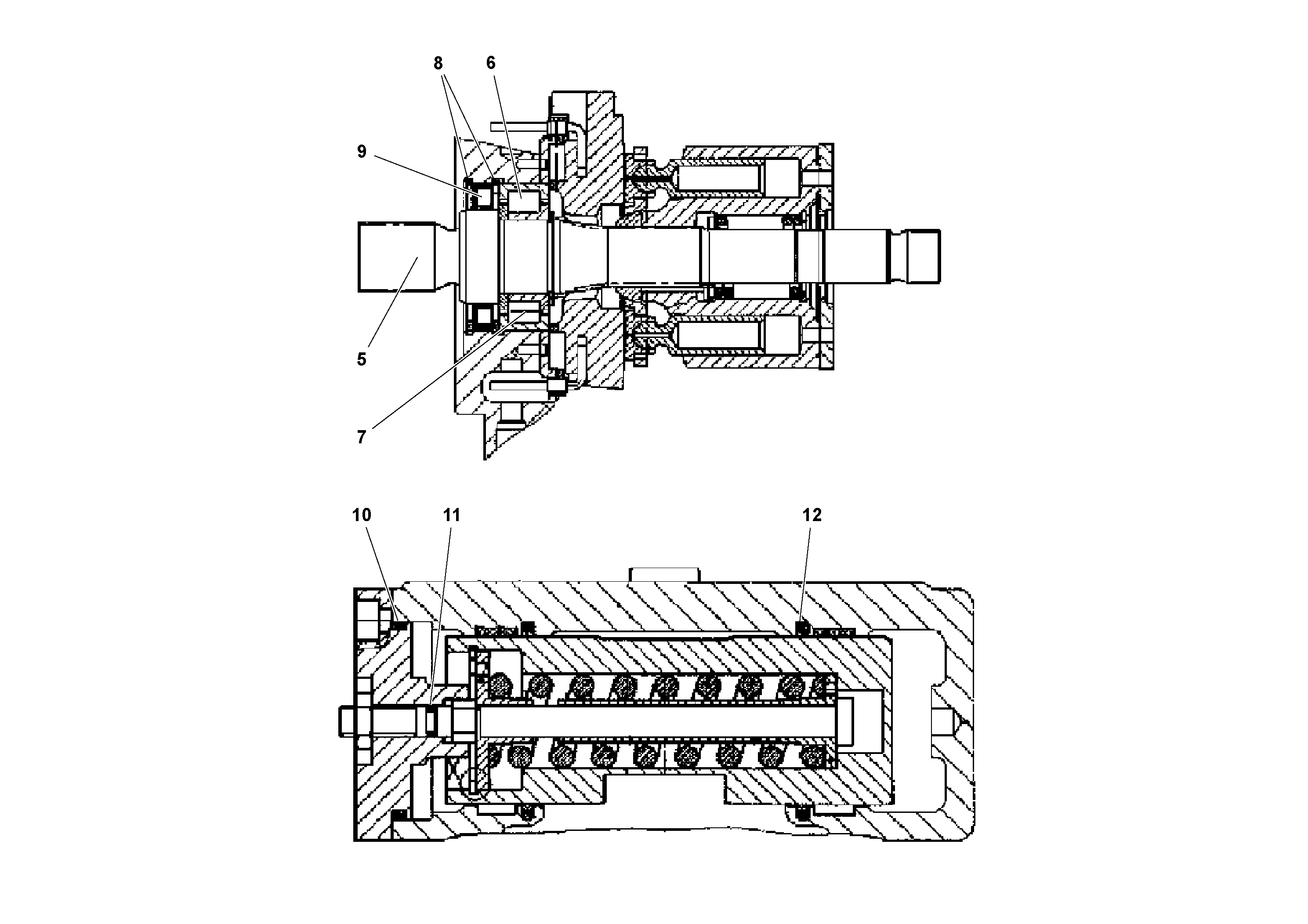
77327 Propulsion Pump
№
Артикул
Название
Примечание
Количество
10
RM 54509583
Кольцо уплотнительное (О-кольцо)
1шт.
11
RM 54509609
12
RM 54509617
5
RM 54509526
Вал приводной (ведущий)
6
RM 54509542
Подшипник
7
RM 54509559
Retaining ring
8
RM 54509567
9
RM 54509575
Sealing kit
Выбрано товаров: 0