Запчасти Volvo DD14S/DD16 S/N 197600 - 76681 Fuel Tank Installation

Схема запчастей Volvo DD14S/DD16 S/N 197600 - - 76681 Fuel Tank Installation
FIT
1:1
100%

Артикул

Название

Примечание

Количество

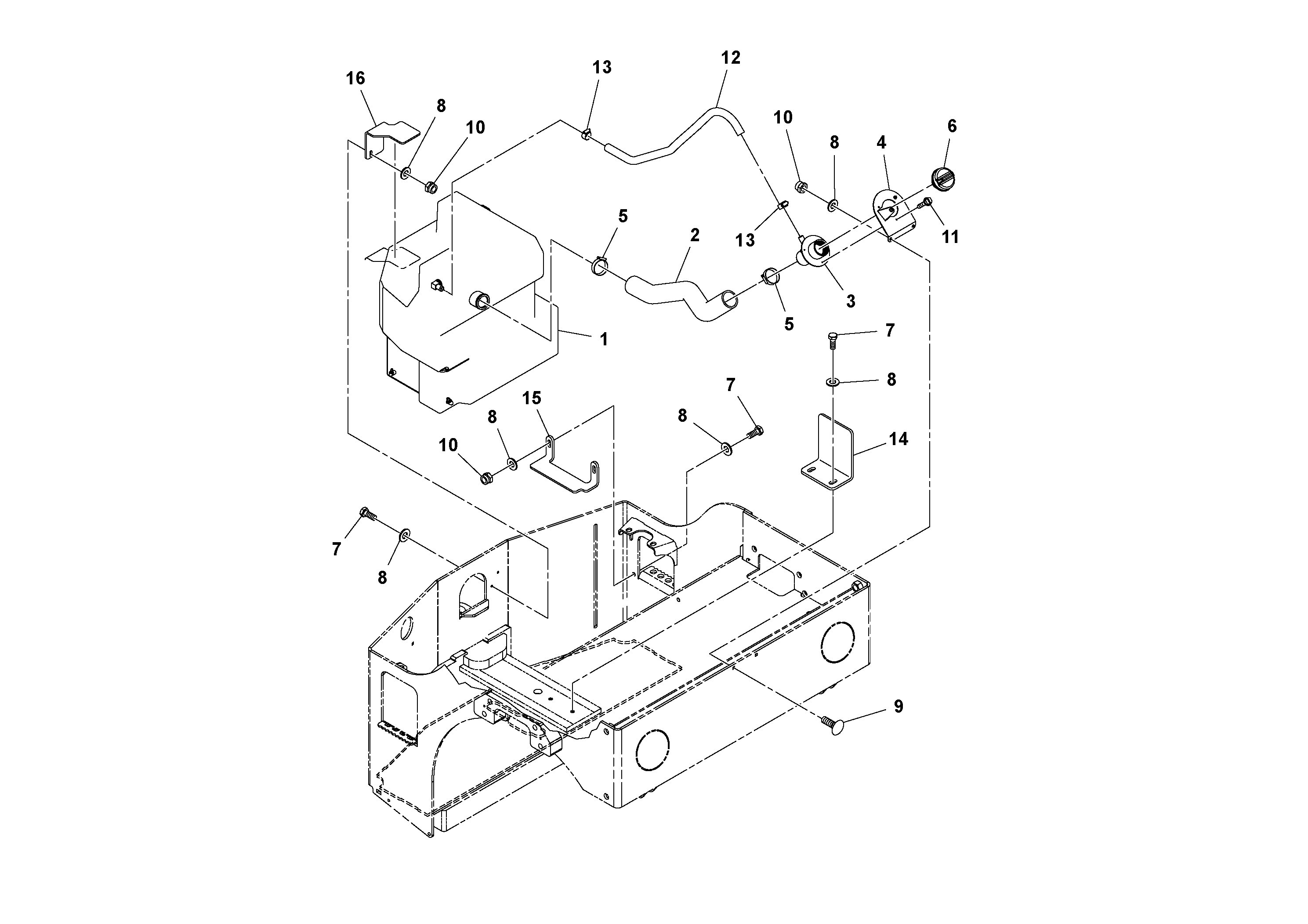
1

RM 13888078

Топливный бак (бензобак)

1шт.

10

RM 96704606

Lock nut

1шт.

10

RM 96704606

Lock nut

1шт.

11

RM 95988093

Болт

1шт.

11

RM 95988093

Болт

1шт.

12

RM 59214296

Шланг топливный

1шт.

13

RM 95090106

Зажим

1шт.

14

RM 13276688

Кронштейн

1шт.

15

RM 13276712

Кронштейн

1шт.

16

RM 13276761

Кронштейн

1шт.

17

RM 95220901

Hose clamp

1шт.

2

RM 13888029

Шланг топливный

1шт.

3

RM 59212936

Feed pipe

Inlet

1шт.

4

RM 13340229

Filler flap

1шт.

5

RM 95302683

Hose clamp

1шт.

6

RM 59212951

Fuel filler cap

1шт.

7

RM 96702659

Винт шестигранник

1шт.

7

RM 96702659

Винт шестигранник

1шт.

8

RM 96741038

Шайба

1шт.

8

RM 96741038

Шайба

1шт.

9

RM 96719224

Болт

1шт.

Выбрано товаров: 21