Запчасти Volvo DD29/DD30/DD31HF/DD38HF S/N 197592 - 76407 Fuel Tank Installation

Схема запчастей Volvo DD29/DD30/DD31HF/DD38HF S/N 197592 - - 76407 Fuel Tank Installation
FIT
1:1
100%

Артикул

Название

Примечание

Количество

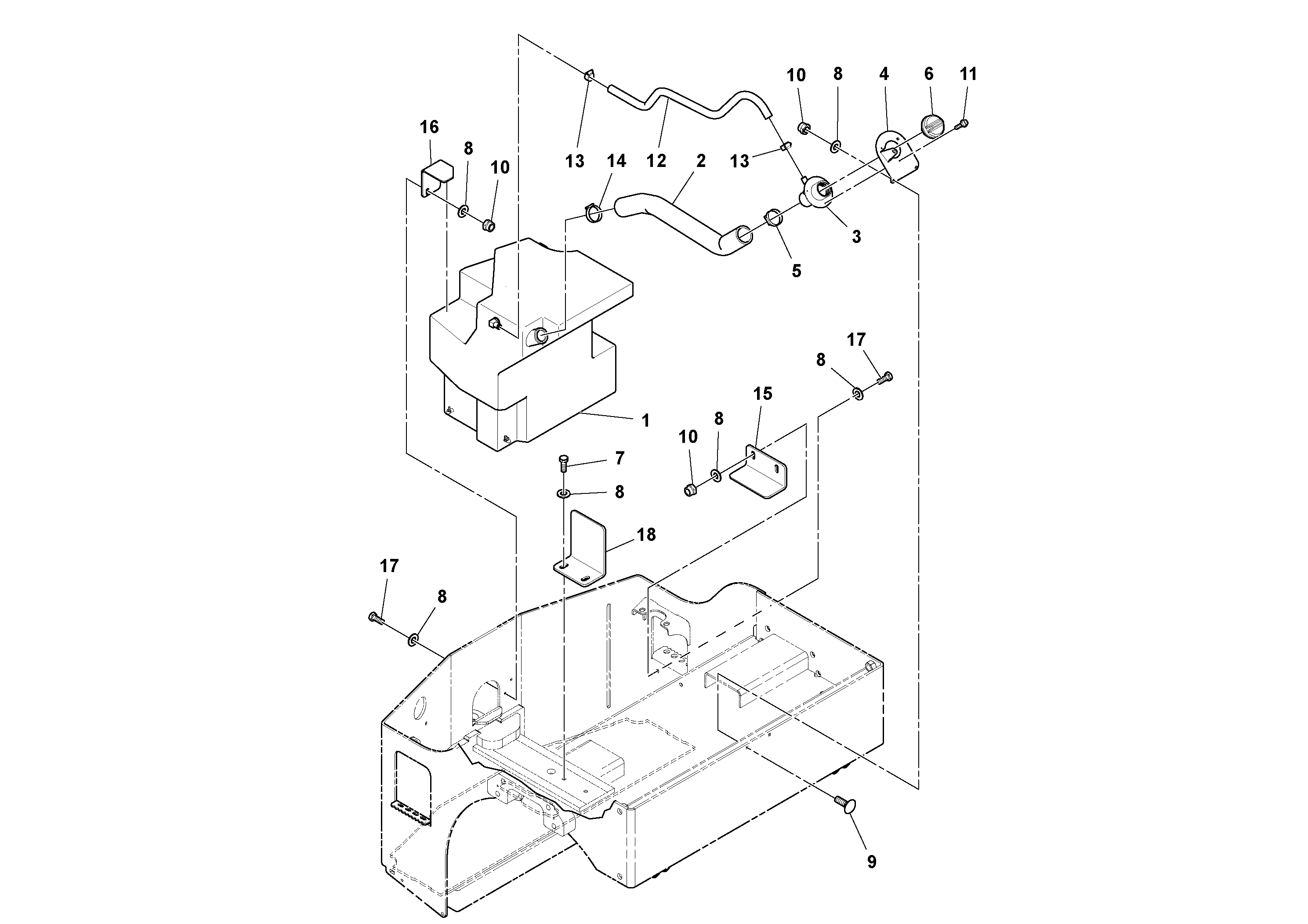
1

RM 13888060

Топливный бак (бензобак)

1шт.

10

RM 96704606

Lock nut

1шт.

10

RM 96704606

Lock nut

1шт.

11

RM 95988093

Болт

1шт.

11

RM 95988093

Болт

1шт.

12

RM 59216077

Шланг

1шт.

13

RM 95090106

Зажим

1шт.

14

RM 95220901

Hose clamp

1шт.

15

RM 13275383

Кронштейн

1шт.

16

RM 13275391

Кронштейн

1шт.

17

RM 96705587

Винт шестигранник

1шт.

17

RM 96705587

Винт шестигранник

1шт.

18

RM 13275375

Кронштейн

1шт.

2

RM 13888011

Шланг топливный

1шт.

3

RM 59212936

Feed pipe

1шт.

4

RM 13340229

Filler flap

1шт.

5

RM 95302683

Hose clamp

1шт.

6

RM 59212951

Fuel filler cap

1шт.

7

RM 96702659

Винт шестигранник

1шт.

7

RM 96702659

Винт шестигранник

1шт.

8

RM 96741038

Шайба

1шт.

8

RM 96741038

Шайба

1шт.

9

RM 96719224

Болт

1шт.

Выбрано товаров: 23