Запчасти Volvo DD85 S/N 21362 - 54095 Oil filter pre-assemble

Схема запчастей Volvo DD85 S/N 21362 - - 54095 Oil filter pre-assemble
FIT
1:1
100%

Артикул

Название

Примечание

Количество

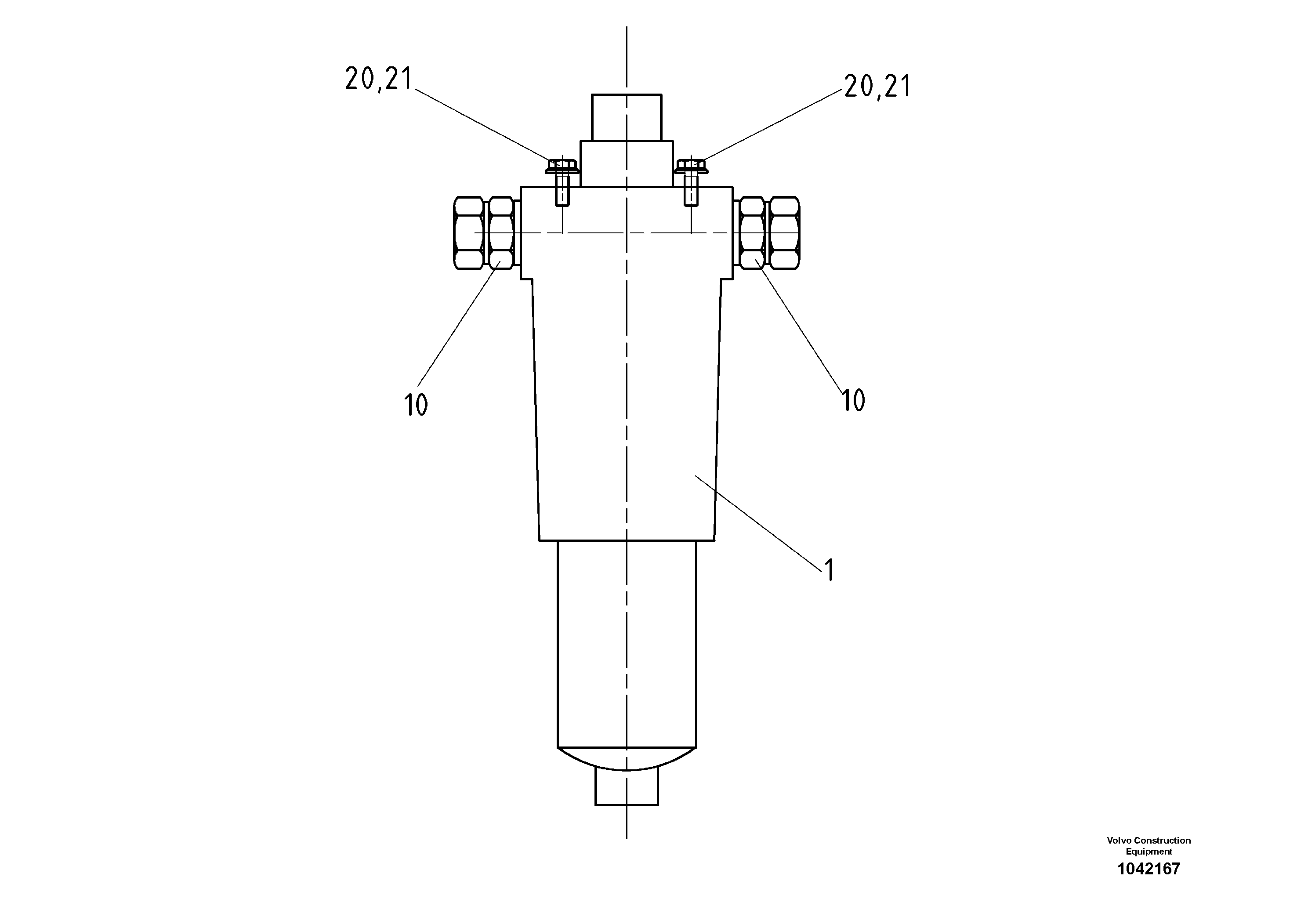
1

RM 80620370

Фильтр топливный

1шт.

1

RM 80620370

Pressure Filter

1шт.

10

RM 14281588

Фиттинг

1шт.

10

RM 14281588

Фиттинг

1шт.

20

RM 96714233

Винт шестигранник

1шт.

20

RM 96714233

Винт шестигранник

1шт.

21

RM 58832916

Стопорная шайба (кольцо)

1шт.

21

RM 58832916

Стопорная шайба (кольцо)

1шт.

Выбрано товаров: 8