Запчасти Volvo DD90/DD90HF S/N 197375 - 91583 Cable Harness Installation

Схема запчастей Volvo DD90/DD90HF S/N 197375 - - 91583 Cable Harness Installation
FIT
1:1
100%

Артикул

Название

Примечание

Количество

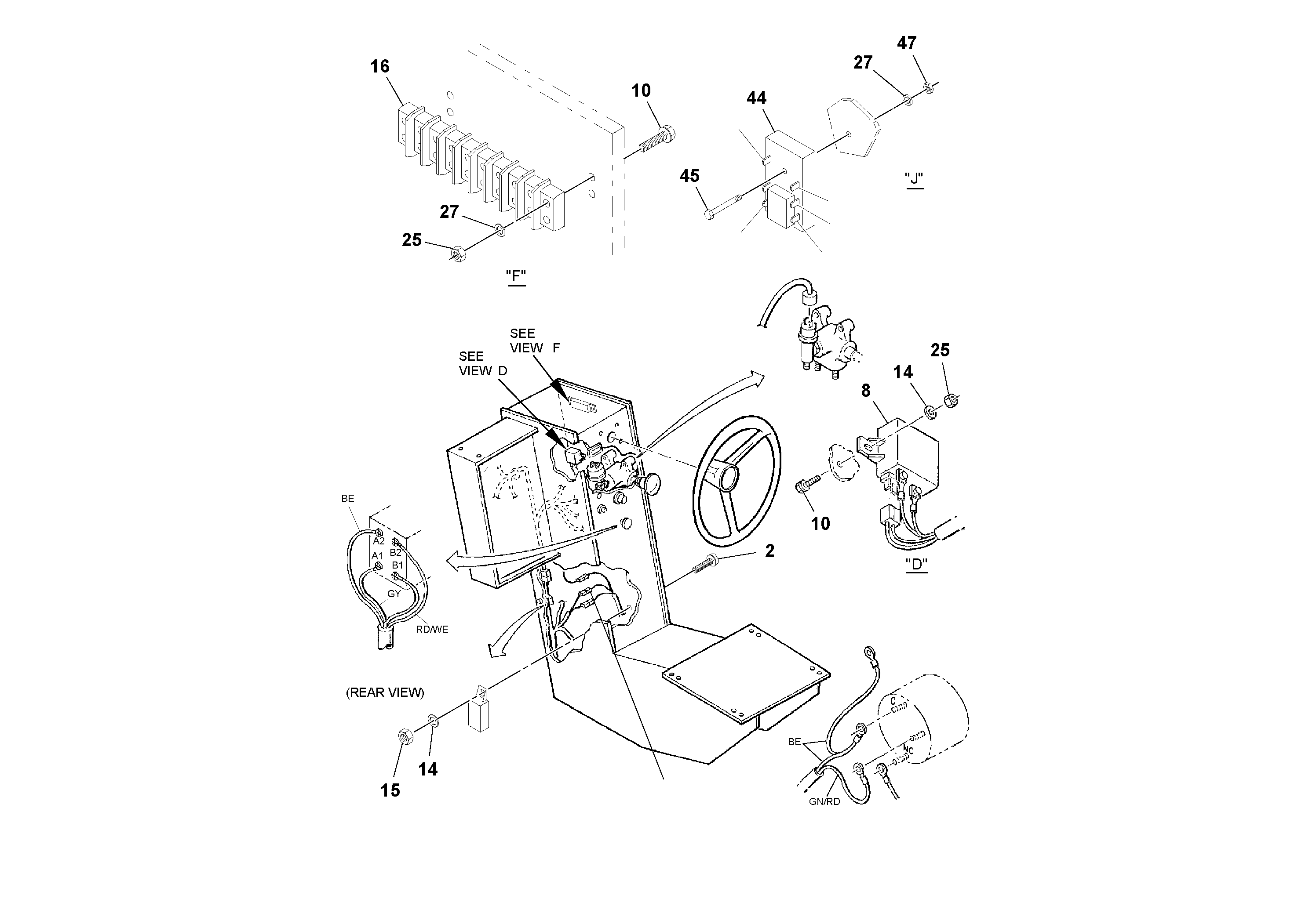
RM 59151498

Module

1шт.

RM 96738554

Плоская шайба

S/N - 189095

1шт.

RM 96738554

Плоская шайба

S/N - 189095

1шт.

10

RM 59480996

Болт

1шт.

14

RM 95922332

Плоская шайба

1шт.

14

RM 95922332

Плоская шайба

1шт.

15

RM 95943346

Гайка

1шт.

16

RM 59099663

Terminal block

1шт.

2

RM 95922134

Болт

1шт.

25

RM 95923124

Hexagon nut

1шт.

27

RM 96738554

Плоская шайба

S/N 189096 -

1шт.

27

RM 96738554

Плоская шайба

S/N 189096 -

1шт.

44

RM 59262469

Module

1шт.

45

RM 96738430

Винт шестигранник

1шт.

47

RM 96702865

Гайка

1шт.

8

RM 59818393

Реле

1шт.

8

RM 59818393

Реле

1шт.

Выбрано товаров: 17