Запчасти Volvo DD90/DD90HF S/N 197375 - 91818 Instrument Panel Assembly

Схема запчастей Volvo DD90/DD90HF S/N 197375 - - 91818 Instrument Panel Assembly
FIT
1:1
100%

Артикул

Название

Примечание

Количество

RM 58909268

Bulb

1шт.

RM 59166942

Gauge

DD-90

1шт.

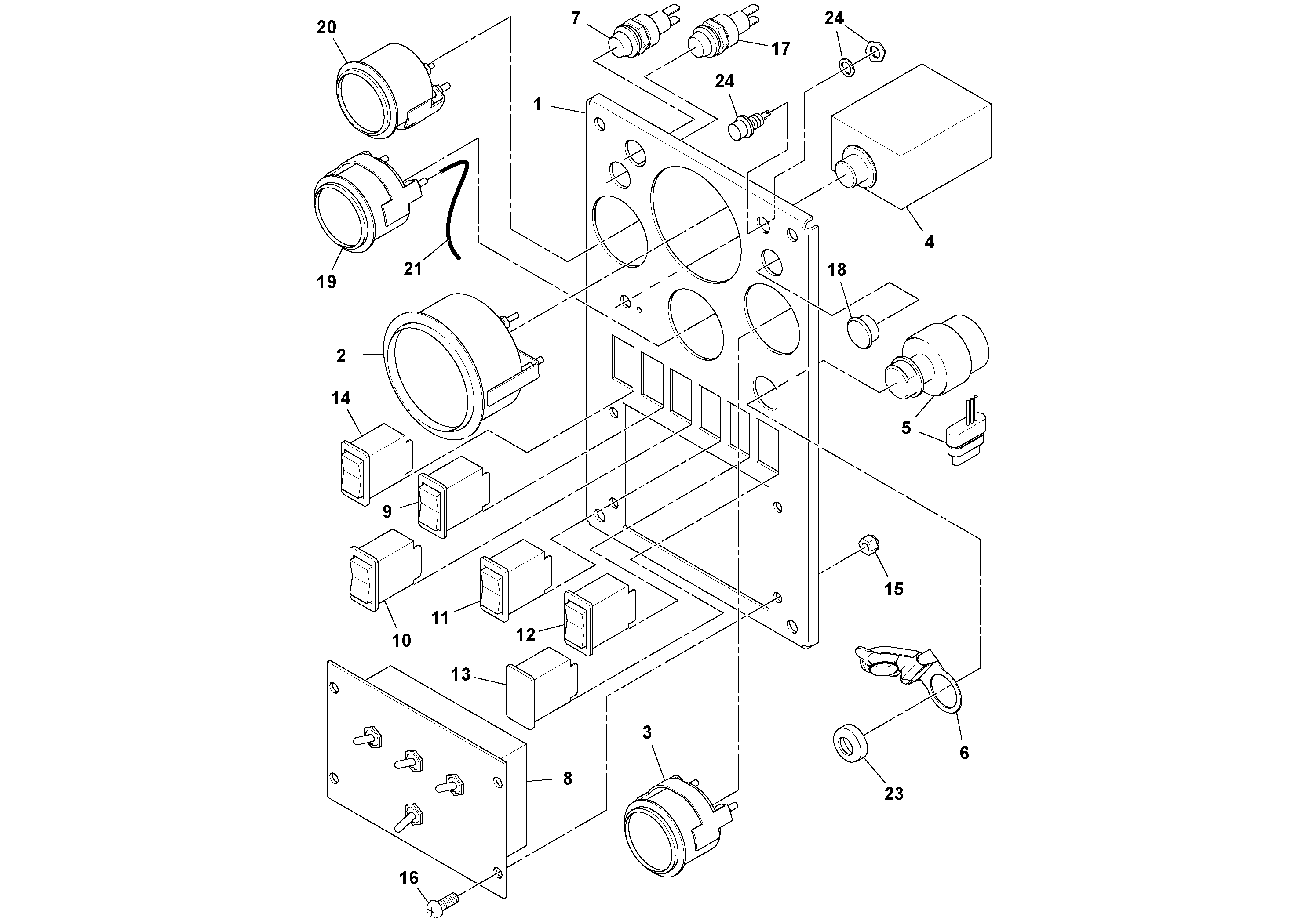
1

RM 43947399

Panel

1шт.

10

RM 54666078

Переключатель

1шт.

11

RM 54666102

Переключатель

1шт.

12

RM 54666094

Переключатель

1шт.

13

RM 13225156

Пробка (заглушка)

1шт.

14

RM 13209218

Переключатель

1шт.

15

RM 95923298

Lock nut

1шт.

16

RM 95924106

Болт

1шт.

17

RM 59816447

Indicator lamp

1шт.

18

RM 59326827

Пробка (заглушка)

1шт.

18

RM 59326827

Пробка (заглушка)

1шт.

19

RM 59046904

Gauge

1шт.

2

RM 59134981

Gauge

DD-90HF

1шт.

20

RM 59816728

Water level gauge

1шт.

22

RM 58788787

Фильтр топливный

1шт.

23

RM 59126961

Гайка

1шт.

24

RM 43876176

Indicator lamp

1шт.

25

RM 95923033

Hexagon nut

1шт.

3

RM 59816736

Voltmeter

1шт.

4

RM 43845205

Control

1шт.

5

RM 59126946

Contact

1шт.

6

RM 58892902

Крышка

1шт.

7

RM 13315759

Indicator lamp

1шт.

8

RM 43843978

Box

1шт.

9

RM 13209226

Переключатель

1шт.

Выбрано товаров: 27