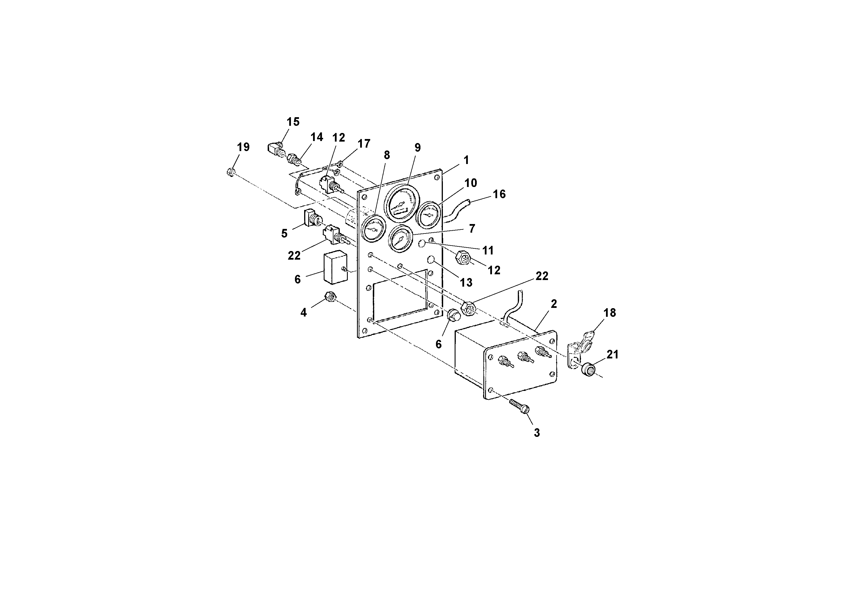
Запчасти Volvo DD90/DD90HF S/N 197375 - 95570 Instrument Panel Assembly

Схема запчастей Volvo DD90/DD90HF S/N 197375 - - 95570 Instrument Panel Assembly
FIT
1:1
100%

Артикул

Название

Примечание

Количество

RM 59134981

Gauge

DD-90HF

1шт.

RM 13284690

Tag

1шт.

RM 59680132

Toggle switch

1шт.

RM 59232983

Cable harness

S/N -169961

1шт.

RM 58917261

Key

1шт.

RM 59778886

Knob

WATER PUMP

1шт.

RM 59104430

Instrument panel

S/N -161838

1шт.

1

RM 59233213

Instrument panel

S/N 161839-

1шт.

10

RM 59816728

Water level gauge

1шт.

11

RM 59813279

Button

1шт.

12

RM 59634105

Переключатель

1шт.

13

RM 59427245

Пробка (заглушка)

1шт.

14

RM 95680880

Адаптер

1шт.

15

RM 95302113

Адаптер

1шт.

15

RM 95302113

Адаптер

1шт.

16

RM 13207337

Cable harness

S/N 169962-

1шт.

17

RM 58788787

Фильтр топливный

1шт.

18

RM 58892902

Крышка

1шт.

19

RM 95923033

Hexagon nut

1шт.

2

RM 43843978

Box

1шт.

20

RM 59417493

Additional light

1шт.

21

RM 59126961

Гайка

1шт.

22

RM 59331702

Переключатель

1шт.

3

RM 95924106

Болт

1шт.

4

RM 95923298

Lock nut

1шт.

5

RM 59126946

Contact

1шт.

6

RM 43845205

Control

WATER PUMP

1шт.

7

RM 59355602

Gauge

1шт.

8

RM 59816736

Voltmeter

1шт.

9

RM 59166942

Gauge

DD-90

1шт.

Выбрано товаров: 30