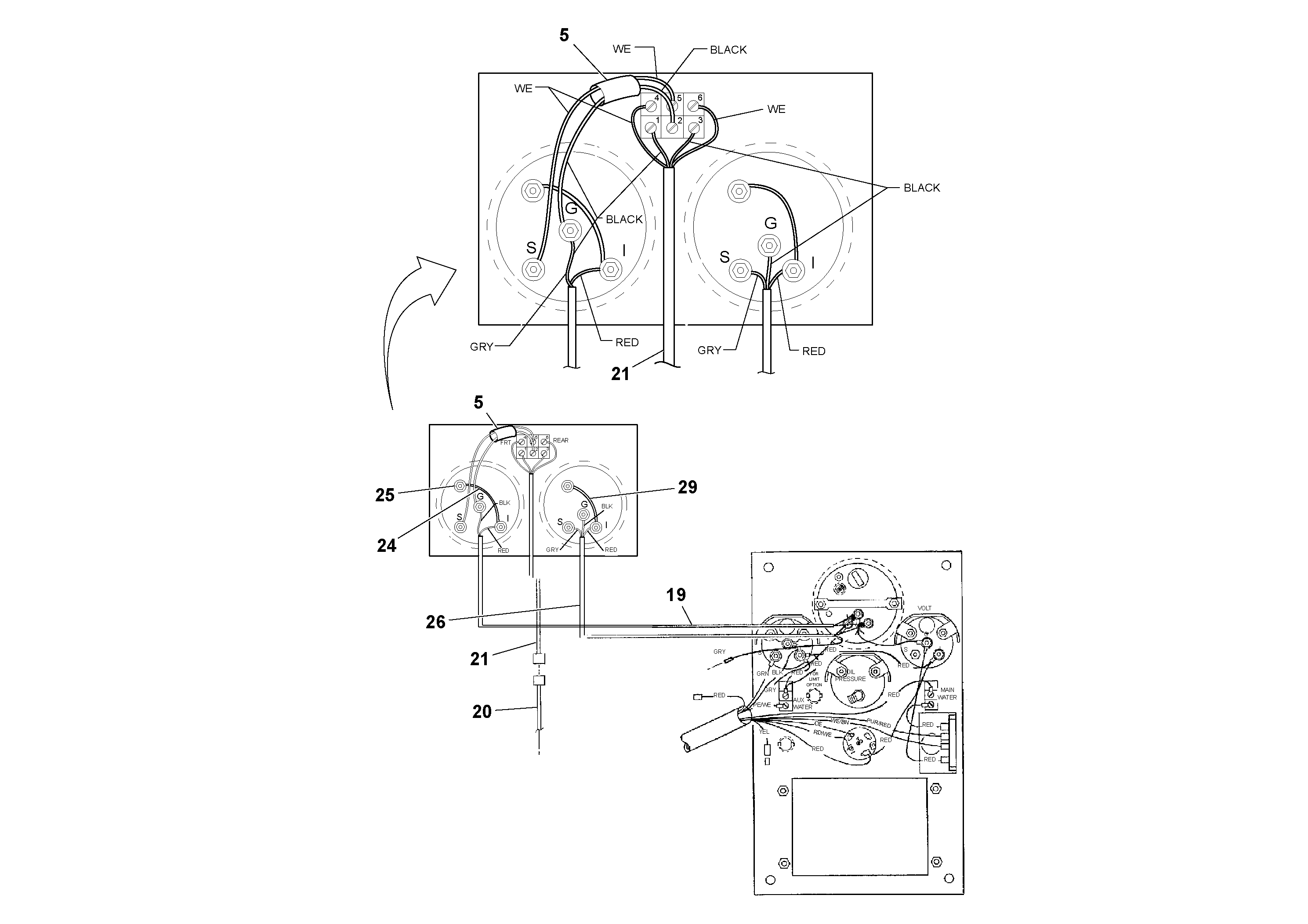
Запчасти Volvo DD90/DD90HF S/N 197375 - 100861 Speedometer / Vpm Meter Installation

Схема запчастей Volvo DD90/DD90HF S/N 197375 - - 100861 Speedometer / Vpm Meter Installation
FIT
1:1
100%

Артикул

Название

Примечание

Количество

RM 58951229

Bulb socket

1шт.

RM 12963864

Lamp

1шт.

RM 59824250

Kit

1шт.

RM 59824250

Kit

1шт.

19

RM 58937970

Cable harness

POWER AND GROUND

1шт.

20

RM 59217570

Cable harness

VPM MAIN

1шт.

21

RM 59217562

Cable harness

VPM CONSOLE

1шт.

24

RM 58957291

Cable harness

LAMP POWER

1шт.

25

RM 59824268

Lamp

1шт.

26

RM 59096347

Cable harness

SPEEDOMETER

1шт.

29

RM 59110171

Lamp

1шт.

5

RM 59629097

Cable harness

1шт.

Выбрано товаров: 12