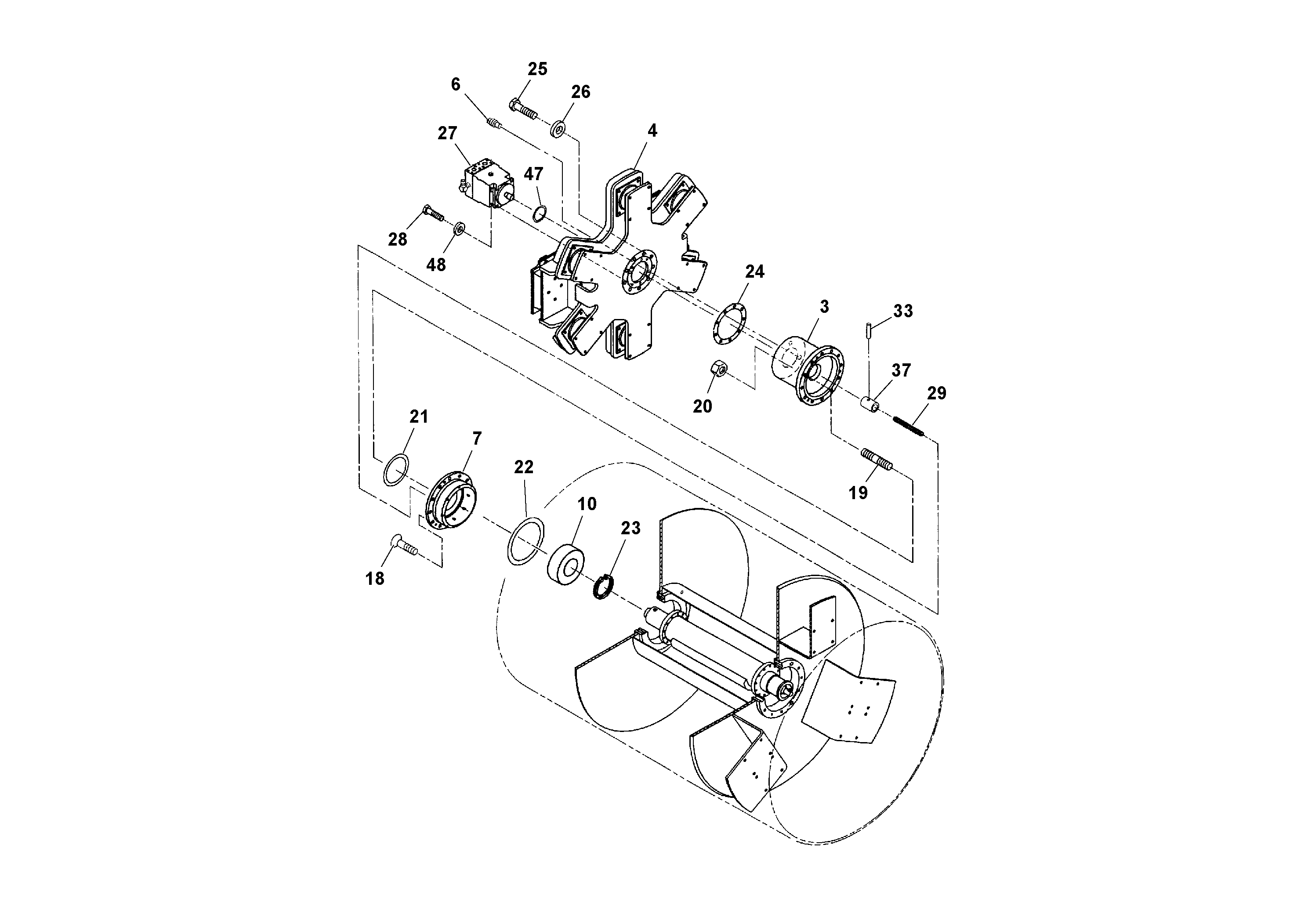
Запчасти Volvo DD90 99658 Front/Rear Drum Assembly DD90/DD90HF S/N 197375 -

Схема запчастей Volvo DD90 - 99658 Front/Rear Drum Assembly DD90/DD90HF S/N 197375 -
FIT
1:1
100%

Артикул

Название

Примечание

Количество

RM 59105072

Подшипник

DD-90HF

1шт.

10

RM 58880360

Подшипник

DD-90

1шт.

10

RM 58880360

Подшипник

DD-90

1шт.

18

RM 95270575

Винт шестигранник (торцевой ключ)

1шт.

18

RM 95270575

Винт шестигранник (торцевой ключ)

1шт.

19

RM 59650648

Шпилька

1шт.

19

RM 59650648

Шпилька

1шт.

20

RM 58994625

Wheel nut

1шт.

20

RM 58994625

Wheel nut

1шт.

21

RM 95989026

Кольцо уплотнительное (О-кольцо)

1шт.

21

RM 95989026

Кольцо уплотнительное (О-кольцо)

1шт.

22

RM 95989059

Кольцо уплотнительное (О-кольцо)

1шт.

22

RM 95989059

Кольцо уплотнительное (О-кольцо)

1шт.

23

RM 95454914

Retaining ring

1шт.

23

RM 95454914

Retaining ring

1шт.

24

RM 59622217

Прокладка

1шт.

24

RM 59622217

Прокладка

1шт.

25

RM 95920039

Винт шестигранник

1шт.

26

RM 59544213

Шайба

1шт.

26

RM 59544213

Шайба

1шт.

28

RM 95919569

Винт шестигранник

1шт.

28

RM 95919569

Винт шестигранник

1шт.

29

RM 59444463

Вал

1шт.

29

RM 59444463

Вал

1шт.

33

RM 95213294

Locking pin

1шт.

33

RM 95213294

Locking pin

1шт.

37

RM 59119057

Coupling piece

1шт.

37

RM 59119057

Coupling piece

1шт.

47

RM 95988739

Кольцо уплотнительное (О-кольцо)

1шт.

47

RM 95988739

Кольцо уплотнительное (О-кольцо)

1шт.

48

RM 59957134

Шайба

1шт.

48

RM 59957134

Шайба

1шт.

6

RM 59600593

Tube plug

1шт.

6

RM 59600593

Tube plug

1шт.

7

RM 59082875

Bearing cover

1шт.

7

RM 59082875

Bearing cover

1шт.

Выбрано товаров: 36