Запчасти Volvo DD90 96336 Vci Pre-cab Modification DD90/DD90HF S/N 197375 -

Схема запчастей Volvo DD90 - 96336 Vci Pre-cab Modification DD90/DD90HF S/N 197375 -
FIT
1:1
100%

Артикул

Название

Примечание

Количество

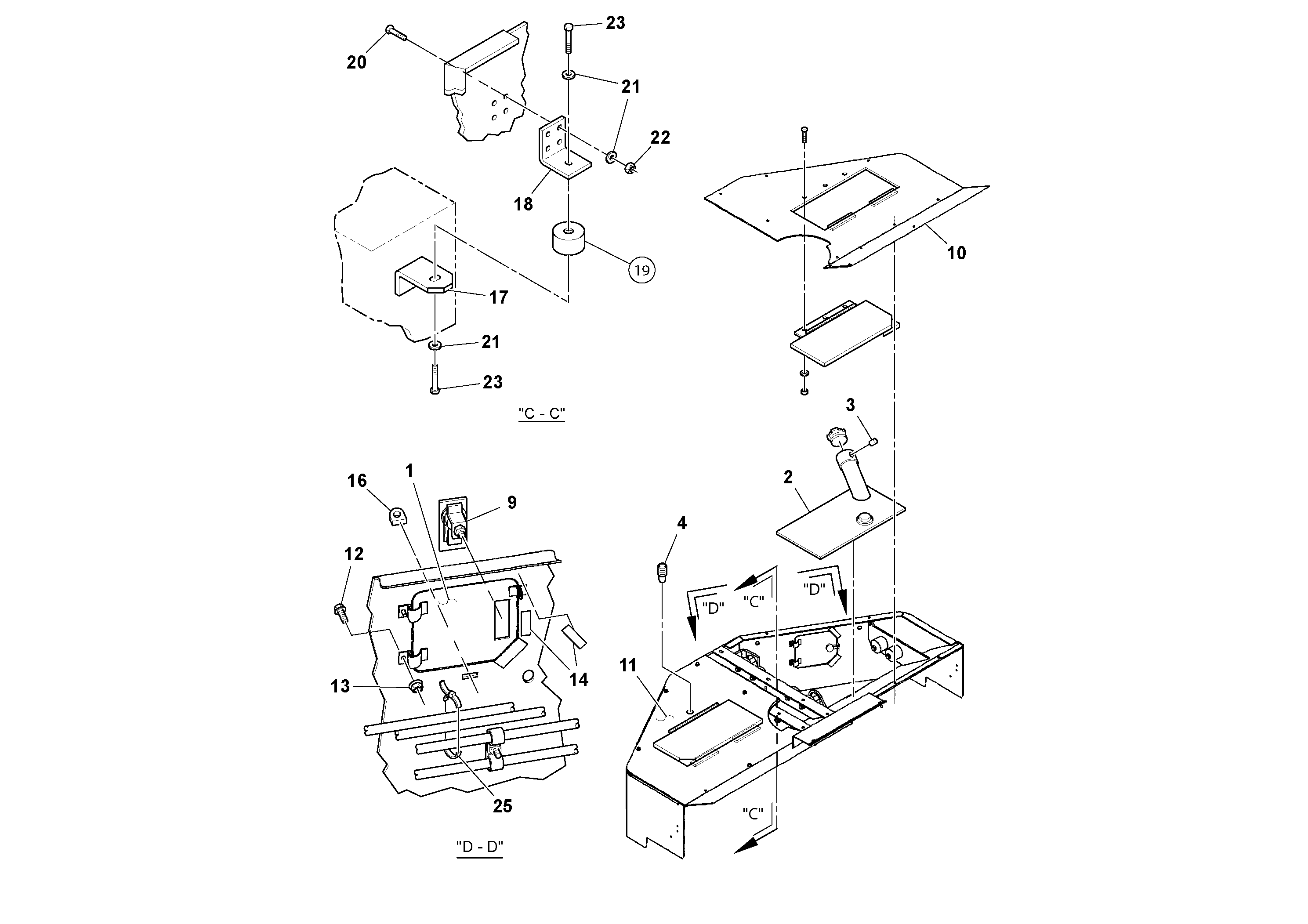
RM 58877515

Прокладка

1шт.

1

RM 58830787

Hatch

1шт.

10

RM 58948514

Deck plate

LH

1шт.

11

RM 58948522

Deck plate

RH

1шт.

12

RM 59456269

Болт

1шт.

13

RM 59918573

Гайка

1шт.

14

RM 59705202

Пластина

1шт.

16

RM 58947433

Tab

1шт.

17

RM 59028779

Кронштейн

1шт.

18

RM 59028787

Кронштейн

1шт.

19

RM 59726885

Rubber damper

1шт.

2

RM 58820150

Крышка

1шт.

20

RM 95919593

Болт

1шт.

21

RM 59537266

Плоская шайба

1шт.

21

RM 59537266

Плоская шайба

1шт.

22

RM 95923348

Lock nut

1шт.

22

RM 95923348

Lock nut

1шт.

23

RM 95920856

Болт

1шт.

25

RM 58820168

Locking wire

1шт.

3

RM 59324392

Фильтр топливный

1шт.

4

RM 59935742

Шпилька

1шт.

9

RM 59811364

Latch

1шт.

Выбрано товаров: 22