Запчасти Volvo DD90 50818 Installation Main Frame DD90 S/N 08200011422 -

Схема запчастей Volvo DD90 - 50818 Installation Main Frame DD90 S/N 08200011422 -
FIT
1:1
100%

Артикул

Название

Примечание

Количество

10

RM 59809947

Вставка

1шт.

12

RM 50268259

Подшипник

1шт.

13

RM 50273945

Sealing

1шт.

14

RM 70109533

Пластина

1шт.

15

RM 70558655

Прокладка

THICK = 0,6 MM

1шт.

16

RM 70558663

Прокладка

THICK = 1,6 MM

1шт.

17

RM 95922217

Шайба

1шт.

18

RM 59003434

Гайка

1шт.

19

RM 96738620

Плоская шайба

1шт.

19

RM 96738620

Плоская шайба

1шт.

2

RM 50268242

Подшипник

1шт.

20

RM 96722368

Винт шестигранник

1шт.

20

RM 96722368

Винт шестигранник

1шт.

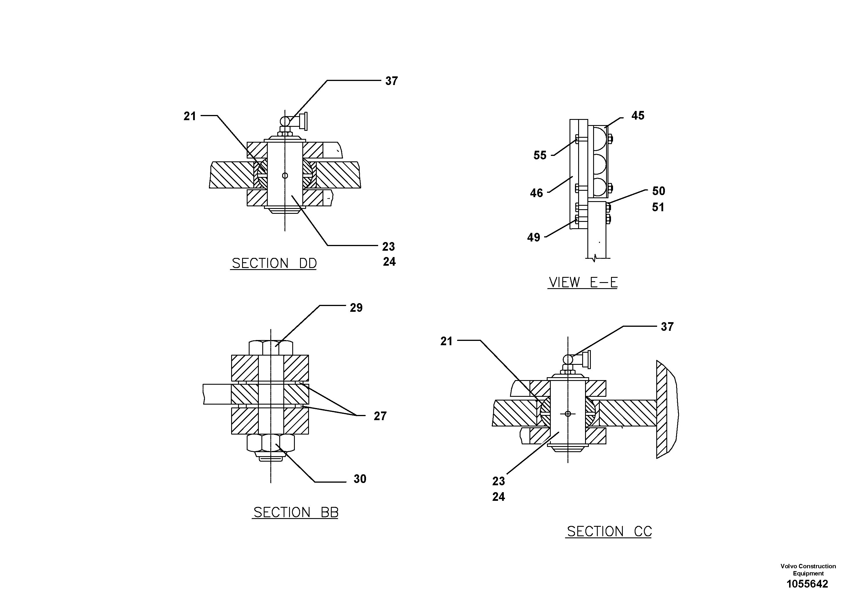
21

RM 50273986

Подшипник

1шт.

23

RM 70709100

Pivot pin

1шт.

24

RM 95223384

Кольцо

1шт.

27

RM 70151303

Rubber washer

1шт.

29

RM 95920286

Винт шестигранник

1шт.

30

RM 95923306

Гайка

1шт.

37

RM 94036704

Grease

1шт.

4

RM 58977711

Палец

1шт.

45

RM 70527395

Clamp Pipe Rubb

LH

1шт.

46

RM 70532445

Кронштейн

LH

1шт.

49

RM 96713235

Винт шестигранник

1шт.

49

RM 96713235

Винт шестигранник

1шт.

5

RM 58977703

Палец

1шт.

50

RM 96741038

Шайба

1шт.

50

RM 96741038

Шайба

1шт.

51

RM 96712799

Hexagon nut

1шт.

51

RM 96712799

Hexagon nut

1шт.

6

RM 59043182

Sealing

1шт.

7

RM 59043190

Sealing

1шт.

8

RM 95922175

Плоская шайба

1шт.

9

RM 59003442

Гайка

1шт.

Выбрано товаров: 34