Запчасти Volvo DD90 51124 Assembly Water Tank DD90 S/N 08200011422 -

Схема запчастей Volvo DD90 - 51124 Assembly Water Tank DD90 S/N 08200011422 -
FIT
1:1
100%

Артикул

Название

Примечание

Количество

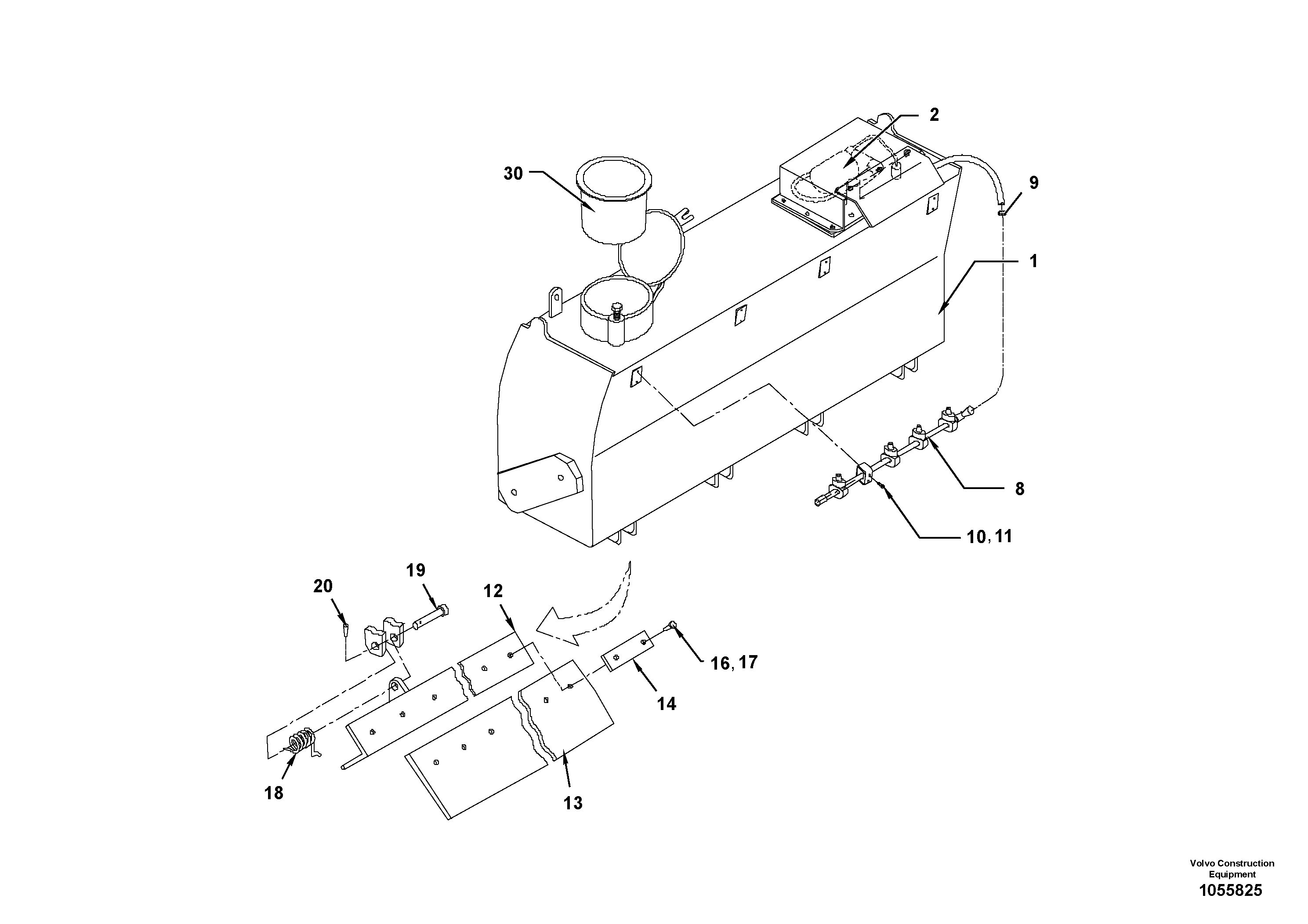
1

RM 70826276

Water tank

1шт.

10

RM 96741038

Шайба

1шт.

10

RM 96741038

Шайба

1шт.

11

RM 70573464

Болт

1шт.

12

RM 70119318

Material scraper

1шт.

13

RM 59480814

Rubber plate

1шт.

13

RM 59480814

Rubber plate

1шт.

14

RM 70119748

Bar

1шт.

16

RM 96719646

Плоская шайба

1шт.

16

RM 96719646

Plain washer

1шт.

17

RM 96713334

Винт шестигранник

1шт.

17

RM 96713334

Винт шестигранник

1шт.

18

RM 70562012

Пружина натяжная

1шт.

19

RM 59480855

Clevis pin

1шт.

19

RM 59480855

Clevis pin

1шт.

2

RM 70826938

Водяной насос

1шт.

20

RM 14084982

Cotter Pin

1шт.

30

RM 70566914

Фильтр

1шт.

8

RM 70917851

Трубка водяная

1шт.

9

RM 70119441

Зажим

1шт.

Выбрано товаров: 20